TOP
|
特許
|
意匠
|
商標
特許ウォッチ
Twitter
他の特許を見る
10個以上の画像は省略されています。
公開番号
2025063604
公報種別
公開特許公報(A)
公開日
2025-04-16
出願番号
2023172967
出願日
2023-10-04
発明の名称
コネクタ
出願人
矢崎総業株式会社
代理人
個人
,
個人
,
個人
主分類
H01R
13/41 20060101AFI20250409BHJP(基本的電気素子)
要約
【課題】大型化することなく、端子の回転を規制することができるコネクタを提供する。
【解決手段】ハウジング7と、ハウジング7に収容され、円形の筒状に形成された接続部23を有する端子5とを備えたコネクタ1において、ハウジング7に、接続部23に向けて突出された突部55を設け、接続部23に、突部55が挿入され、突部55と接続部23の回転方向に係合可能な係合部57を設けた。
【選択図】図4
特許請求の範囲
【請求項1】
ハウジングと、
前記ハウジングに収容され、円形の筒状に形成された接続部を有する端子と、
を備え、
前記ハウジングには、前記接続部に向けて突出された突部が設けられ、
前記接続部には、前記突部が挿入され、前記突部と前記接続部の回転方向に係合可能な係合部が設けられているコネクタ。
続きを表示(約 320 文字)
【請求項2】
前記突部及び前記係合部は、前記ハウジングに対する前記端子の挿入方向に沿って延出して設けられている請求項1に記載のコネクタ。
【請求項3】
前記接続部は、板状部の両端部を近接する方向に折り曲げることによって円形の筒状に形成され、
前記係合部は、前記板状部の両端部に設けられている請求項1又は2に記載のコネクタ。
【請求項4】
前記係合部は、前記板状部の両端部が当接され、外面が前記突部を挿入可能に凹まされた凹部である請求項3に記載のコネクタ。
【請求項5】
前記係合部は、前記板状部の両端部が、前記突部を挿入可能に離間された離間部である請求項3に記載のコネクタ。
発明の詳細な説明
【技術分野】
【0001】
本発明は、コネクタに関する。
続きを表示(約 1,700 文字)
【背景技術】
【0002】
従来、コネクタとしては、ハウジングと、ハウジングに収容され、円形の筒状に形成された接続部を有する端子とを備えたものが知られている(特許文献1参照)。このコネクタでは、ハウジングに収容された端子が、円形の筒状の接続部を有するので、外力などによって、ハウジング内で接続部が回転し、電気的な接続信頼性が低下する可能性があった。そこで、このようなコネクタでは、端子の接続部に、接続部の外面からハウジングの内面に向けて突部が形成されている。接続部の突部を、ハウジングの内面に係合させることにより、接続部の回転を規制することができる。
【先行技術文献】
【特許文献】
【0003】
特開2020-47384号公報
【発明の概要】
【発明が解決しようとする課題】
【0004】
ところで、上記特許文献1のようなコネクタでは、端子の回転を規制する突部が、円形の接続部の外面から突出されている。しかしながら、円形の接続部の外面から突出するように突部を設けてしまうと、接続部の外形が大型化してしまい、端子を収容するハウジングも大型化させる必要があった。
【0005】
本発明は、このような従来技術が有する課題に鑑みてなされたものである。そして本発明の目的は、大型化することなく、端子の回転を規制することができるコネクタを提供することにある。
【課題を解決するための手段】
【0006】
本実施形態に係るコネクタは、ハウジングと、前記ハウジングに収容され、円形の筒状に形成された接続部を有する端子とを備え、前記ハウジングには、前記接続部に向けて突出された突部が設けられ、前記接続部には、前記突部が挿入され、前記突部と前記接続部の回転方向に係合可能な係合部が設けられている。
【発明の効果】
【0007】
本発明によれば、大型化することなく、端子の回転を規制することができるコネクタを提供することができる。
【図面の簡単な説明】
【0008】
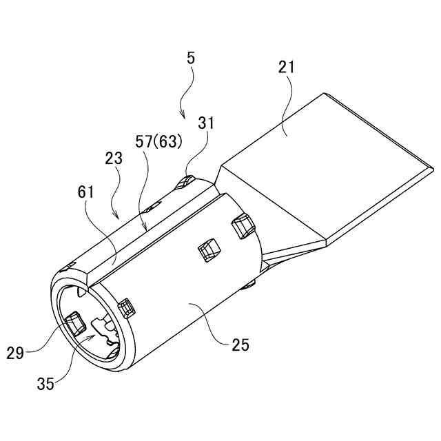
本実施形態に係るコネクタの斜視図である。
本実施形態に係るコネクタの分解斜視図である。
本実施形態に係るコネクタのシールド電線、端子、インナハウジング、シールドシェルの分解斜視図である。
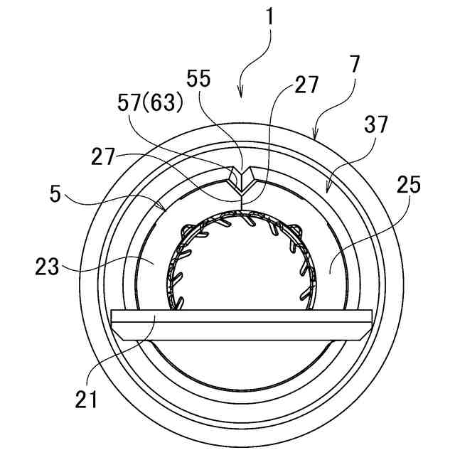
本実施形態に係るコネクタのインナハウジングに端子を収容したときの正面図である。
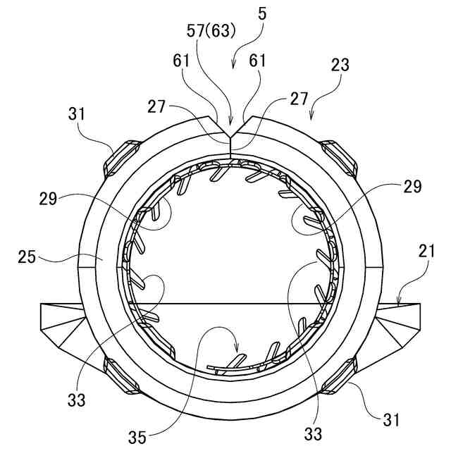
図4の要部拡大図である。
本実施形態に係るコネクタの端子の斜視図である。
本実施形態に係るコネクタの端子の正面図である。
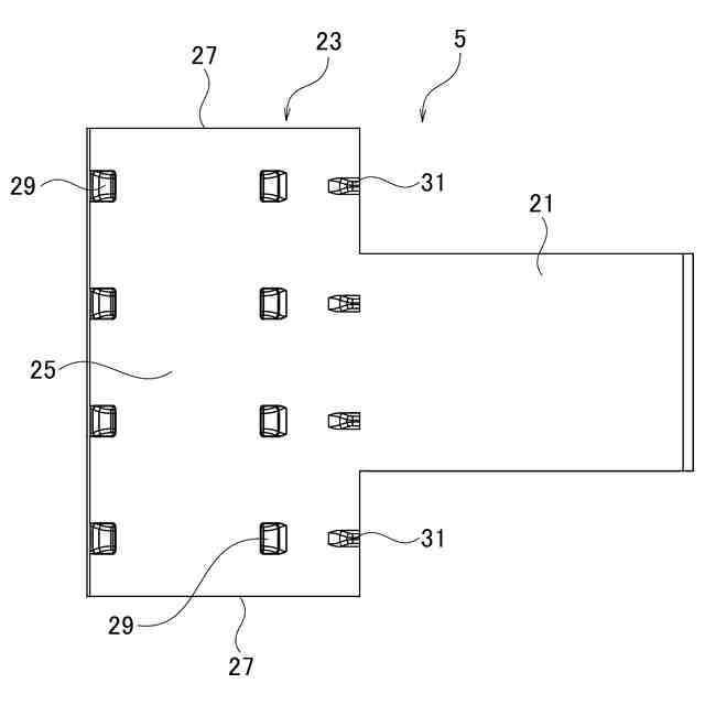
本実施形態に係るコネクタの端子を展開したときの上面図である。
本実施形態に係るコネクタの端子を展開したときの正面図である。
図9の要部拡大図である。
本実施形態に係るコネクタのインナハウジングの斜視図である。
本実施形態に係るコネクタのインナハウジングの正面図である。
図12の要部拡大図である。
本実施形態に係るコネクタの他例の端子の正面図である。
本実施形態に係るコネクタの他例のインナハウジングの正面図である。
本実施形態に係るコネクタの他例のインナハウジングの正面図である。
【発明を実施するための形態】
【0009】
以下、図面を用いて本実施形態に係るコネクタについて詳細に説明する。なお、図面の寸法比率は説明の都合上誇張されており、実際の比率と異なる場合がある。
【0010】
図1に示すように、本実施形態に係るコネクタ1は、例えば、電源と機器、或いは機器と機器など、電気部品の間を電気的に接続するために適用される。コネクタ1は、例えば、一方の電気部品に電気的に接続され、他方の電気部品に電気的に接続された相手コネクタ(不図示)と嵌合可能となっている。コネクタ1は、相手コネクタと嵌合することにより、電気部品の間を電気的に接続する。
(【0011】以降は省略されています)
この特許をJ-PlatPat(特許庁公式サイト)で参照する
関連特許
三菱電機株式会社
回路遮断器
11日前
富士電機株式会社
電磁接触器
3日前
株式会社GSユアサ
蓄電装置
3日前
住友電装株式会社
コネクタ
3日前
ヒロセ電機株式会社
電気コネクタ
3日前
ローム株式会社
半導体モジュール
4日前
株式会社レゾナック
冷却器
11日前
矢崎総業株式会社
コネクタ
3日前
株式会社デンソー
半導体装置
3日前
日本航空電子工業株式会社
コネクタ
16日前
新電元工業株式会社
半導体装置
3日前
TDK株式会社
電子部品
3日前
矢崎総業株式会社
コネクタ
4日前
FDK株式会社
組電池及びその作製方法
13日前
トヨタ自動車株式会社
電池
9日前
株式会社村田製作所
インダクタ部品
4日前
株式会社村田製作所
インダクタ部品
4日前
テラル株式会社
磁場発生装置
16日前
ニチコン株式会社
金属化フィルムコンデンサ
11日前
株式会社AESCジャパン
電池及び電気装置
3日前
株式会社アルバック
プラズマ処理装置
3日前
矢崎総業株式会社
コネクタ
3日前
株式会社アイシン
ヒートシンク
16日前
FDK株式会社
電池
3日前
SMC株式会社
マグネットチャック
3日前
フタバ産業株式会社
熱交換器
11日前
北川工業株式会社
磁性積層体
9日前
ケル株式会社
多極スイッチ
3日前
ケル株式会社
多極スイッチ
3日前
株式会社デンソー
コンデンサモジュール
5日前
トヨタバッテリー株式会社
二次電池
16日前
浜松ホトニクス株式会社
光集積回路
3日前
浜松ホトニクス株式会社
光集積回路
3日前
株式会社プロテリアル
ケーブル
3日前
大阪瓦斯株式会社
燃料電池システム
3日前
国立研究開発法人産業技術総合研究所
湿度変動発電素子
11日前
続きを見る
他の特許を見る