TOP
|
特許
|
意匠
|
商標
特許ウォッチ
Twitter
他の特許を見る
10個以上の画像は省略されています。
公開番号
2025172108
公報種別
公開特許公報(A)
公開日
2025-11-20
出願番号
2025144403,2022012837
出願日
2025-09-01,2022-01-31
発明の名称
ゴルフクラブヘッド
出願人
株式会社プロギア
代理人
個人
主分類
A63B
53/06 20150101AFI20251113BHJP(スポーツ;ゲーム;娯楽)
要約
【課題】ウエイトの位置を移動させて弾道調整を行なうことができると共に、コストの低減を図りつつ耐久性の向上を図る有利なゴルフクラブヘッドを提供する。
【解決手段】ソール面18Aに形成した案内溝32を、第1凹部38と第2凹部40と連通溝42とで構成し、ウエイト36を第1凹部38の延在方向に移動可能にかつ回転不能に設けると共に、ねじ部材34の頭部46を第2凹部40に移動可能にかつ回転可能に設け、ねじ部材34の雄ねじ4802をウエイト36の雌ねじ3606に螺合させることでウエイト36を第1凹部38内に固定するようにした。部品点数がウエイト36とねじ部材34との2点で足りるため、部品コストの低減を図ると共に、部品の間に生じるガタを低減できるため耐久性の向上を図る上で有利となる。
【選択図】図4
特許請求の範囲
【請求項1】
内部が中空部であるヘッド本体を有するゴルフクラブヘッドであって、
前記ヘッド本体のソール面に設けられた案内溝と前記案内溝に配置されるねじ部材とウエイトとを備え、
前記案内溝は、前記ソール面に開放状で前記ソール面に沿って延在する第1凹部と、前記第1凹部よりも前記ソール面から離れた箇所に前記第1凹部と切り離されて設けられ前記第1凹部に沿って延在する第2凹部と、前記第1凹部に沿って延在し前記第1凹部と第2凹部とを連通する連通溝とを備え、
前記ねじ部材は、前記第2凹部内で回転可能かつ前記第1凹部側に移動不能で前記第2凹部の延在方向に移動可能に配置された頭部と、前記頭部から突出し前記連通溝を通って前記第2凹部内に位置し前記連通溝の延在方向に移動可能に配置され前記第2凹部内に位置する箇所に雄ねじが形成されると共にその先端部に回転操作用の操作部が形成された軸部とを備え、
前記ウエイトは、前記雄ねじに螺合される雌ねじが貫通形成され前記第1凹部内に回転不能で前記第1凹部の延在方向に移動可能に設けられている、
ことを特徴とするゴルフクラブヘッド。
続きを表示(約 1,400 文字)
【請求項2】
前記第1凹部は、前記ソール面から最も離れた底部を有し、
前記第2凹部は、前記第1凹部に最も近づいた頂部を有し、
前記連通溝は、前記第1凹部の底部と前記第2凹部の頂部とにわたって設けられている、
ことを特徴とする請求項1記載のゴルフクラブヘッド。
【請求項3】
前記第1凹部と前記第2凹部は、それらの延在方向と直交する方向の幅をそれぞれ有し、
前記第1凹部は、前記第1凹部の幅方向の両側から前記連通溝に近づくにつれて前記ソール面から次第に離れる一対の上傾斜面で形成され、
前記第1凹部に近づいた前記第2凹部の箇所は、前記第2凹部の幅方向の両側から前記連通溝に近づくにつれて前記ソール面に次第に近づく一対の下傾斜面で形成されている、
ことを特徴とする請求項2記載のゴルフクラブヘッド。
【請求項4】
前記ウエイトは、前記ねじ部材により前記第1凹部に取り付けられた状態で、前記ヘッド本体の外側を向き前記第1凹部の幅方向において互いに対向する一対の一辺を有し前記雌ねじが開口する外面と、前記各一辺から離れるにつれて前記雌ねじに次第に近づき前記上傾斜面に当接可能な傾斜面からなる一対のウエイト側当接面とを備えている、
ことを特徴とする請求項3記載のゴルフクラブヘッド。
【請求項5】
前記一対のウエイト側当接面に第1係合部が設けられ、
前記一対の上傾斜面に前記第1係合部と係脱可能に係合する第2係合部が前記第1凹部の延在方向に等間隔をおいて複数個設けられている、
ことを特徴とする請求項4記載のゴルフクラブヘッド。
【請求項6】
前記ウエイトは、前記ねじ部材により前記第1凹部に取り付けられた状態で、前記ヘッド本体の内部に向き前記雌ねじが開口する内面を有し、
前記内面に、前記連通溝の延在方向に移動可能に挿入されウエイトの回転を阻止する挿入壁部が設けられている。
ことを特徴とする請求項4または5記載のゴルフクラブヘッド。
【請求項7】
前記第1凹部の幅は前記第2凹部の幅よりも大きい寸法で形成されている、
ことを特徴とする請求項3から6の何れか1項記載のゴルフクラブヘッド。
【請求項8】
前記連通溝は、前記第1凹部と前記第2凹部の幅方向の中間部に設けられている、
ことを特徴とする請求項3から7の何れか1項記載のゴルフクラブヘッド。
【請求項9】
前記第1凹部の幅方向の中央部と前記第2凹部の幅方向の中央部とはほぼ一致しており、
前記連通溝は、前記第1凹部と前記第2凹部の幅方向の中央部に設けられている、
ことを特徴とする請求項3から8の何れか1項記載のゴルフクラブヘッド。
【請求項10】
前記第2凹部は前記連通溝に対向する底面を有し、
前記底面は、その幅方向の中央に位置する中央部と、前記中央部の両側に位置する両側部とを備え、
前記中央部は、前記両側部よりも前記ソール面から離間する方向に変位している、
ことを特徴とする請求項3から9の何れか1項記載のゴルフクラブヘッド。
(【請求項11】以降は省略されています)
発明の詳細な説明
【技術分野】
【0001】
本発明はゴルフクラブヘッドに関する。
続きを表示(約 3,900 文字)
【背景技術】
【0002】
ウエイトを移動可能に設けることでゴルフクラブヘッドの重心点の位置を調整し打球の弾道を調整するゴルフクラブヘッドが提供されている(特許文献1、2参照)。
すなわち、特許文献1には、ソール部にトウヒール方向に延在する溝部(レール)を設けるとともに、溝部に沿ってウエイトを移動可能に設け、ナットと締結用ボルトとによってウエイトを溝部の任意の箇所に固定することが開示されている。
また、特許文献2には、ソール部にフェース面とフェースバックとを結ぶ前後方向に延在する溝部(レール)を設け、溝部に沿ってウエイトを移動可能に設け、ナットと締結用ボルトとによってウエイトを溝部の任意の箇所に固定することが開示されている。
【先行技術文献】
【特許文献】
【0003】
特許第6710503号
特許第6605668号
【発明の概要】
【発明が解決しようとする課題】
【0004】
しかしながら、上記従来技術では、ウエイトとナットと締結用ボルトといった3点の部品を設けることからコストの低減を図る上で不利があり、また、3点の部品の間にガタが生じやすく耐久性の向上を図る上で不利がある。
本発明は、このような事情に鑑みてなされたものであり、その目的は、ウエイトの位置を移動させて弾道調整を行なうことができると共に、コストの低減を図りつつ耐久性の向上を図る有利なゴルフクラブヘッドを提供することにある。
【課題を解決するための手段】
【0005】
上記目的を達成するために、本発明の一実施の形態は、内部が中空部であるヘッド本体を有するゴルフクラブヘッドであって、前記ヘッド本体のソール面に設けられた案内溝と前記案内溝に配置されるねじ部材とウエイトとを備え、前記案内溝は、前記ソール面に開放状で前記ソール面に沿って延在する第1凹部と、前記第1凹部よりも前記ソール面から離れた箇所に前記第1凹部と切り離されて設けられ前記第1凹部に沿って延在する第2凹部と、前記第1凹部に沿って延在し前記第1凹部と第2凹部とを連通する連通溝とを備え、前記ねじ部材は、前記第2凹部内で回転可能かつ前記第1凹部側に移動不能で前記第2凹部の延在方向に移動可能に配置された頭部と、前記頭部から突出し前記連通溝を通って前記第2凹部内に位置し前記連通溝の延在方向に移動可能に配置され前記第2凹部内に位置する箇所に雄ねじが形成されると共にその先端部に回転操作用の操作部が形成された軸部とを備え、前記ウエイトは、前記雄ねじに螺合される雌ねじが貫通形成され前記第1凹部内に回転不能で前記第1凹部の延在方向に移動可能に設けられていることを特徴とする。
【発明の効果】
【0006】
本発明の一実施の形態によれば、ソール面に形成した案内溝を、第1凹部と第2凹部と連通溝とで構成し、ウエイトを第1凹部の延在方向に移動可能にかつ回転不能に設けると共に、ねじ部材の頭部を第2凹部に移動可能にかつ回転可能に設け、ねじ部材の雄ねじをウエイトの雌ねじに螺合させることでウエイトを第1凹部内に固定するようにした。
したがって、ナットと締結用ボルトとウエイトとの3つの部材を用いる従来構造に比較して、部品点数がウエイトとねじ部材との2点で足りるため、部品コストの低減を図ると共に、部品の間に生じるガタを低減できるため耐久性の向上を図る上で有利となる。
【図面の簡単な説明】
【0007】
第1の実施の形態に係るゴルフクラブヘッドをフェース面の前方から見た正面図である。
図1のA矢視図である。
図1のB矢視図である。
第1の実施の形態に係るゴルフクラブヘッドをソール面の斜め下方から見上げた斜視図である。
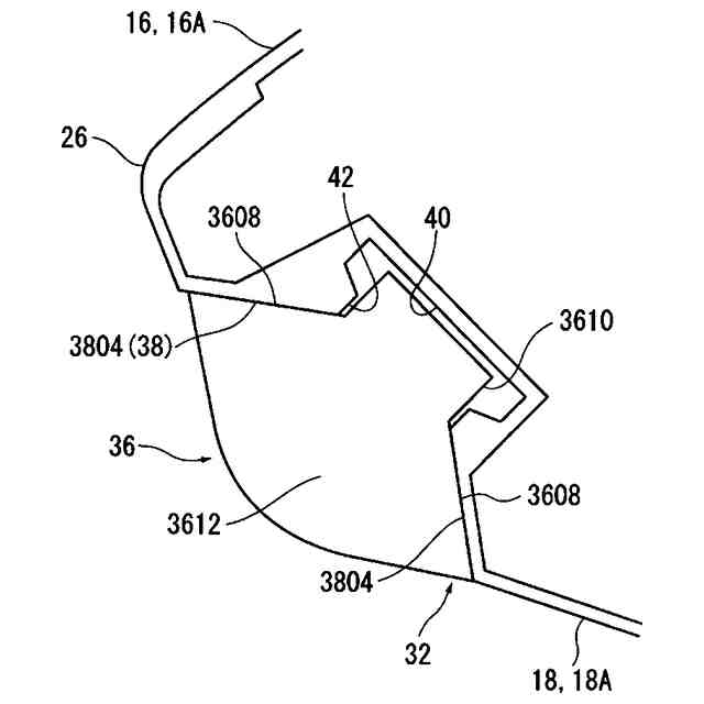
図4のA-A線断面図であり、(A)はウエイトが案内溝に沿って移動可能な状態を示し、(B)はねじ部材が締結されウエイトが案内溝に固定された状態を示す。
ウエイトが第1凹部に配置されウエイトの一対の挿入壁部が連通溝に挿入された状態を示す断面図であり、ねじ部材の図示を省略している。
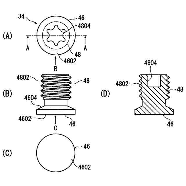
(A)はねじ部材の平面図、(B)は(A)のB矢視図、(C)は(B)のC矢視図、(D)は(A)のA-A線断面図である。
(A)はウエイトの平面図、(B)は(A)のB矢視図、(C)は(A)のC矢視図、(D)は(A)のD矢視図、(E)は(A)のE矢視図、(F)は(D)のF矢視図である。
(A)は図8のA-A線断面図、(B)は図8のB-B線断面図である。
ウエイトの斜視図である。
第2の実施の形態に係るゴルフクラブヘッドの断面図であり、図5(A)に相当している。
第3の実施の形態に係るゴルフクラブヘッドの断面図であり、図5(A)に相当している。
(A)は緩衝部材の平面図、(B)は(A)のB矢視図、(C)は(B)のC矢視図、(D)は(A)のA-A線断面図である。
第4の実施の形態に係るゴルフクラブヘッドの断面図であり、(A)はウエイトが案内溝に沿って移動可能な状態を示し、(B)はねじ部材が締結されウエイトが案内溝に固定された状態を示す。
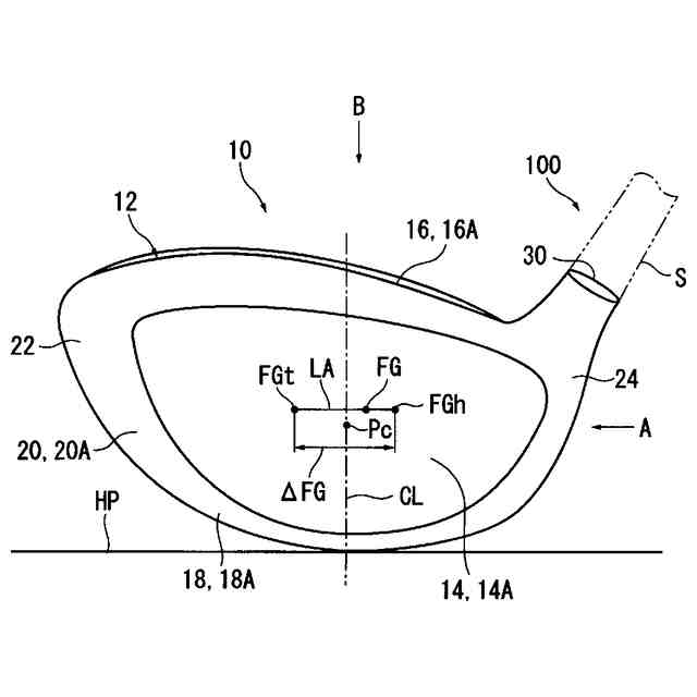
フェース面の中心点Pcの規定方法を示す第1の説明図である。
フェース面の中心点Pcの規定方法を示す第2の説明図である。
フェース面の中心点Pcの規定方法を示す第3の説明図である。
フェース面の中心点Pcの規定方法を示す第4の説明図である。
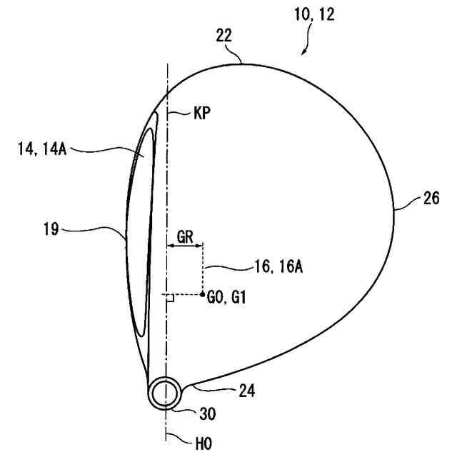
ゴルフクラブヘッドの重心点G0とフェース面上重心点FGとの関係を示すゴルフクラブヘッドの断面図である。
フェース面の輪郭線Iの定義を説明するゴルフクラブヘッドの正面図である。
フェース面の輪郭線Iの定義を説明するゴルフクラブヘッドの断面図である。
フェース面の中心点Pcの定義を説明するゴルフクラブヘッドの正面図である。
実験例の評価結果を示す第1の図である。
実験例の評価結果を示す第2の図である。
【発明を実施するための形態】
【0008】
(第1の実施の形態)
次に本発明の実施の形態について説明する。
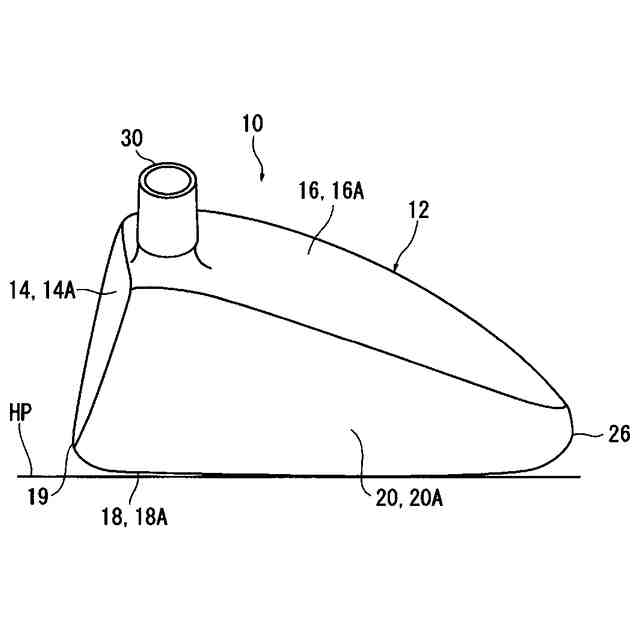
図1-図3に示すように、本実施の形態において、ゴルフクラブは、ウッド型のゴルフクラブ(ドライバー)10であり、中空のヘッド本体12を含んで構成されている。
なお、本発明は、フェイアウェイウッド、ユーティリティ、中空アイアンなどの内部が中空部であるゴルフクラブヘッドに適用可能である。
ヘッド本体12は、主に金属材料により構成される。
前記金属材料としては、例えばステンレス鋼、マルエージング鋼、純チタン、チタン合金又はアルミニウム合金等の1種又は2種以上が用いられる。
ヘッド本体12は、フェース部14と、クラウン部16と、ソール部18と、サイド部20とを備えている。
図19に示すように、ヘッド本体12は、それらフェース部14とクラウン部16とソール部18とサイド部20とで囲まれた内部が中空部28とされた中空構造を呈している。
図1-図3に示すように、フェース部14は、上下の高さを有して左右に延在している。
クラウン部16は、フェース部14よりも小さい肉厚でフェース部14の上部から後方に延在している。
フェース部14の外側に露出する表面がボールを打撃するフェース面14Aである。
クラウン部16の外側に露出する表面がクラウン面16Aである。
図1に示すように、クラウン部16には、フェース面14A側でかつヒール24寄りの位置にシャフトSに接続するホーゼル30が設けられ、ホーゼル30にシャフトSが接続されることでゴルフクラブ100が構成される。
ソール部18は、フェース部14の下部から後方に延在している。
ソール部18の外側に露出する表面がソール面18Aである。
図4に示すように、ソール面18Aには、ねじ部材34およびウエイト36が移動可能に配置される案内溝32が設けられており、案内溝32、ねじ部材34、ウエイト36については後述する。
図1、図2に示すように、サイド部20は、クラウン部16とソール部18の間でフェース部14のトウ22側縁とヒール24側縁との間をフェースバック26を通って延在している。
図2に示すように、サイド部20の外側に露出する表面がサイド面20Aである。
図中、符号19はリーディングエッジを示す。
【0009】
なお、本実施の形態が適用されるドライバーの仕様の一例を示すと以下の通りである。
ヘッド体積:440~460cc
重心深さGR:20~30mm
慣性モーメントMI:4000~6000g・cm
2
【0010】
(フェース面14Aの中心点Pc)
次に、フェース面14Aの中心点Pc、フェース面上重心点FG、重心深さGRの規定方法について説明する。
フェース面14Aの中心点Pcは、フェース面14Aの幾何学的中心であり、中心点Pcの規定方法としては以下に例示する第1の規定方法、第2の規定方法を含め従来公知のさまざまな方法が採用可能である。
(【0011】以降は省略されています)
この特許をJ-PlatPat(特許庁公式サイト)で参照する
関連特許
株式会社プロギア
ヘッドカバー
27日前
株式会社プロギア
ゴルフクラブヘッド
3日前
個人
玩具
2か月前
個人
玩具
5か月前
個人
自走玩具
2か月前
個人
盤上遊戯具
10か月前
個人
玩具
9か月前
個人
運動補助具
4か月前
個人
ゲーム玩具
6か月前
個人
小型卓球台
26日前
個人
パズル
27日前
個人
打撃練習用具
1か月前
株式会社三共
遊技機
8か月前
株式会社三共
遊技機
8か月前
株式会社三共
遊技機
8か月前
株式会社三共
遊技機
8か月前
株式会社三共
遊技機
8か月前
株式会社三共
遊技機
8か月前
株式会社三共
遊技機
2か月前
株式会社三共
遊技機
8か月前
株式会社三共
遊技機
8か月前
株式会社三共
遊技機
8か月前
株式会社三共
遊技機
8か月前
株式会社三共
遊技機
8か月前
株式会社三共
遊技機
8か月前
株式会社三共
遊技機
8か月前
株式会社三共
遊技機
8か月前
株式会社三共
遊技機
8か月前
株式会社三共
遊技機
8か月前
株式会社三共
遊技機
8か月前
株式会社三共
遊技機
8か月前
株式会社三共
遊技機
5か月前
株式会社三共
遊技機
8か月前
株式会社三共
遊技機
5か月前
株式会社三共
遊技機
5か月前
株式会社三共
遊技機
5か月前
続きを見る
他の特許を見る