TOP
|
特許
|
意匠
|
商標
特許ウォッチ
Twitter
他の特許を見る
公開番号
2025159018
公報種別
公開特許公報(A)
公開日
2025-10-17
出願番号
2025130773,2023195232
出願日
2025-08-05,2023-11-16
発明の名称
プログラム、方法、およびシステム
出願人
カバー株式会社
代理人
個人
,
個人
主分類
H04L
67/131 20220101AFI20251009BHJP(電気通信技術)
要約
【課題】特定ユーザが仮想空間に入室したことを他のユーザに報知することを可能とするプログラム、方法、およびシステムを提供する。
【解決手段】仮想空間に入室したユーザが、特定ユーザではないときには行わない処理であって、仮想空間に入室したユーザが特定ユーザであるときには当該特定ユーザが入室したことを他のユーザに報知するための処理を実行可能とする。
【選択図】図12
特許請求の範囲
【請求項1】
仮想空間へのユーザの入室状況に基づいた処理をコンピュータに行わせるためのプログラムであって、
前記ユーザには、当該ユーザ以外からの評価である外的評価に応じて変動する評価値が定められており、
前記コンピュータを、
評価値に応じて所定条件を満たしていないユーザが仮想空間へ入室したときには行われることがない処理であって、評価値に応じて前記所定条件を満たしている特定ユーザが仮想空間へ入室したときには当該特定ユーザが入室したことを他のユーザに報知するための処理を実行可能とする報知手段として機能させる、プログラム。
続きを表示(約 1,200 文字)
【請求項2】
仮想空間へのユーザの入室状況に基づいた処理をコンピュータに行わせるためのプログラムであって、
前記ユーザには、前記仮想空間を運営する運営者によって予め定められた特定ユーザが含まれ、
前記コンピュータを、
前記仮想空間に入室したユーザが、前記特定ユーザではないときには行わない処理であって、前記仮想空間に入室したユーザが前記特定ユーザであるときには当該特定ユーザが入室したことを他のユーザに報知するための処理を実行可能とする報知手段として機能させる、プログラム。
【請求項3】
仮想空間へのユーザの入室状況に基づいた処理をコンピュータに行わせるための方法であって、
前記ユーザには、当該ユーザ以外からの評価である外的評価に応じて変動する評価値が定められており、
評価値に応じて所定条件を満たしていないユーザが仮想空間へ入室したときには行われることがない処理であって、評価値に応じて前記所定条件を満たしている特定ユーザが仮想空間へ入室したときには当該特定ユーザが入室したことを他のユーザに報知するための処理を実行可能とするステップを備える、方法。
【請求項4】
仮想空間へのユーザの入室状況に基づいた処理を行うコンピュータを備えたシステムであって、
前記ユーザには、当該ユーザ以外からの評価である外的評価に応じて変動する評価値が定められており、
評価値に応じて所定条件を満たしていないユーザが仮想空間へ入室したときには行われることがない処理であって、評価値に応じて前記所定条件を満たしている特定ユーザが仮想空間へ入室したときには当該特定ユーザが入室したことを他のユーザに報知するための処理を実行可能とする報知手段を備える、システム。
【請求項5】
仮想空間へのユーザの入室状況に基づいた処理をコンピュータに行わせるための方法であって、
前記ユーザには、前記仮想空間を運営する運営者によって予め定められた特定ユーザが含まれ、
前記仮想空間に入室したユーザが、前記特定ユーザではないときには行わない処理であって、前記仮想空間に入室したユーザが前記特定ユーザであるときには当該特定ユーザが入室したことを他のユーザに報知するための処理を実行可能とするステップを備える、方法。
【請求項6】
仮想空間へのユーザの入室状況に基づいた処理を行うコンピュータを備えたシステムであって、
前記ユーザには、前記仮想空間を運営する運営者によって予め定められた特定ユーザが含まれ、
前記仮想空間に入室したユーザが、前記特定ユーザではないときには行わない処理であって、前記仮想空間に入室したユーザが前記特定ユーザであるときには当該特定ユーザが入室したことを他のユーザに報知するための処理を実行可能とする報知手段を備える、システム。
発明の詳細な説明
【技術分野】
【0001】
本発明は、プログラム、方法、およびシステムに関する。
続きを表示(約 1,900 文字)
【背景技術】
【0002】
ネットワークを介してユーザに対し仮想空間を提供し、他のユーザと仮想空間上で交流を図ることを可能とするシステムが知られている(例えば、非特許文献1参照)。
【0003】
タレントなどの人やモノなど好きな応援対象(所謂推し)を応援するファン活動(所謂推し活)において、例えばSNSなどから応援対象であるタレント本人の投稿や、応援対象のタレントが所属する事務所等のアカウントからの投稿をチェックすることで、応援対象の最新情報を収集することが主流となっている(例えば、非特許文献2、および、非特許文献3参照)。
【先行技術文献】
【特許文献】
【0004】
“大人気バーチャルSNS「cluster」って何?できることや特徴を解説”、[online]、[令和5年9月22日検索]、インターネット<https://metaversefor.me/metaverse/cluster/>
“Twitter - Official Site”、[online]、[令和5年7月21日検索]、インターネット<https://twitter.com/i/flow/login?redirect_after_login=%2F>
“イマドキの若い女性の推し活に欠かせないSNS”、[online]、[令和5年7月21日検索]、インターネット<https://news.mynavi.jp/article/womansns-50/>
【発明の概要】
【発明が解決しようとする課題】
【0005】
非特許文献1のような仮想空間に、ユーザのうちファン活動の応援対象であるタレントなどの特定ユーザが入室すれば、ファンユーザも同じ仮想空間に後を追って入室を試みる傾向にある。また、事前予告なく突然仮想空間内において特定ユーザがイベントを始める場合もある。そのため、いち早く特定ユーザが入室した情報を入手できれば、ファン活動がより充実したものとなる。
【0006】
本発明は、かかる実情に鑑み考え出されたものであり、特定ユーザが仮想空間に入室したことを他のユーザに報知することを可能とするプログラム、方法、およびシステムを提供するものである。
【課題を解決するための手段】
【0007】
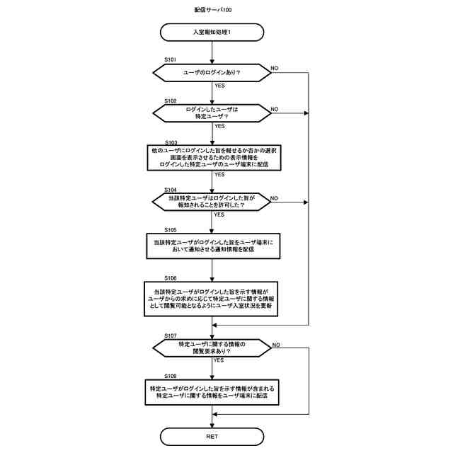
(1) 本発明のある局面にしたがうプログラムは、仮想空間へのユーザの入室状況に基づいた処理をコンピュータ(例えば、配信サーバ100、特定ユーザ情報媒体管理サーバ500、ユーザ端末など)に行わせるためのプログラムであって、
前記ユーザには、当該ユーザ以外からの評価である外的評価に応じて変動する評価値(例えば、図7(A)の評価指数、ユーザ属性番号)が定められており、
前記コンピュータを、
評価値に応じて所定条件を満たしていないユーザ(例えば、図7(A)の評価指数がマイナスのユーザ)が仮想空間へ入室(例えば、ログインによる入室、ルームへの入室)したときには行われることがない処理であって、評価値に応じて前記所定条件を満たしている特定ユーザ(例えば、図7(A)の評価指数が正の値のユーザ、ユーザ属性番号がタレントや著名人などの「2」、「3」、「5」のユーザ)が仮想空間へ入室したときには当該特定ユーザが入室したことを他のユーザに報知するための処理(例えば、図12~図15の入室報知処理)を実行可能とする報知手段(例えば、報知管理部135、データ配信部532、入退室状況取得管理部534、出力部340、情報取得部351、表示制御部353など)として機能させる。
【0008】
このような構成によれば、評価値に応じて所定条件を満たしている特定ユーザが仮想空間に入室したことを他のユーザに報知することができるため、他のユーザが特定ユーザの情報を得ることが容易となり、仮想空間の興隆を促すことができる。
【0009】
(2) 上記(1)において、前記所定条件は、前記評価値が予め定められた所定値であること(例えば、図7(A)に例示する、ユーザ属性番号がタレントや著名人などの「2」、「3」、「5」であること、評価指数が正の値であることなど)により満たされる条件を含む。
【0010】
このような構成によれば、予め定められた所定値が定められたユーザが入室したときに他のユーザに報知することができるため、他のユーザへの報知対象となる特定ユーザの管理が容易となる。
(【0011】以降は省略されています)
この特許をJ-PlatPat(特許庁公式サイト)で参照する
関連特許
カバー株式会社
プログラム、方法、情報処理装置
6日前
カバー株式会社
プログラム、方法、情報処理装置
2か月前
カバー株式会社
プログラム、方法、情報処理装置
1か月前
カバー株式会社
プログラム、方法、およびシステム
1か月前
カバー株式会社
プログラム、方法、およびシステム
1か月前
カバー株式会社
画像生成方法及び画像生成プログラム
今日
カバー株式会社
画像生成方法及び画像生成プログラム
今日
カバー株式会社
画像生成方法及び画像生成プログラム
今日
カバー株式会社
プログラム、方法、およびシステム
1か月前
カバー株式会社
プログラム、方法、およびシステム
1か月前
カバー株式会社
プログラム、方法、およびシステム
4か月前
カバー株式会社
プログラム、方法、およびシステム
3か月前
カバー株式会社
プログラム、方法、およびシステム
1か月前
カバー株式会社
プログラム、方法、およびシステム
3か月前
カバー株式会社
プログラム、方法、およびシステム
3か月前
カバー株式会社
プログラム、方法、およびシステム
1か月前
カバー株式会社
画像生成方法及び画像生成プログラム
今日
カバー株式会社
画像生成方法、補正内容設定方法、画像生成プログラム、及び補正内容設定プログラム
今日
カバー株式会社
画像生成方法、補正内容設定方法、画像生成プログラム、及び補正内容設定プログラム
今日
カバー株式会社
画像生成方法及び画像生成プログラム
今日
カバー株式会社
画像生成方法及び画像生成プログラム
今日
カバー株式会社
仮想空間コンテンツ配信システム、仮想空間コンテンツ配信プログラム、および仮想空間コンテンツ配信方法
3か月前
カバー株式会社
仮想空間コンテンツ配信システム、仮想空間コンテンツ配信プログラム、および仮想空間コンテンツ配信方法
今日
カバー株式会社
仮想空間コンテンツ配信システム、仮想空間コンテンツ配信プログラム、および仮想空間コンテンツ配信方法
今日
カバー株式会社
仮想空間コンテンツ配信システム、仮想空間コンテンツ配信プログラム、および仮想空間コンテンツ配信方法
今日
カバー株式会社
仮想空間コンテンツ配信システム、仮想空間コンテンツ配信プログラム、および仮想空間コンテンツ配信方法
今日
カバー株式会社
仮想空間コンテンツ配信システム、仮想空間コンテンツ配信プログラム、および仮想空間コンテンツ配信方法
今日
カバー株式会社
画像生成方法、補正内容設定方法、画像生成プログラム、及び補正内容設定プログラム
今日
カバー株式会社
画像生成方法、補正内容設定方法、画像生成プログラム、及び補正内容設定プログラム
今日
カバー株式会社
仮想空間コンテンツ配信システム、仮想空間コンテンツ配信プログラム、および仮想空間コンテンツ配信方法
3か月前
カバー株式会社
仮想空間コンテンツ配信システム、仮想空間コンテンツ配信プログラム、および仮想空間コンテンツ配信方法
3か月前
カバー株式会社
仮想空間コンテンツ配信システム、仮想空間コンテンツ配信プログラム、および仮想空間コンテンツ配信方法
3か月前
カバー株式会社
仮想空間コンテンツ配信システム、仮想空間コンテンツ配信プログラム、および仮想空間コンテンツ配信方法
今日
カバー株式会社
仮想空間コンテンツ配信システム、仮想空間コンテンツ配信プログラム、および仮想空間コンテンツ配信方法
今日
カバー株式会社
仮想空間コンテンツ配信システム、仮想空間コンテンツ配信プログラム、および仮想空間コンテンツ配信方法
今日
カバー株式会社
仮想空間コンテンツ配信システム、仮想空間コンテンツ配信プログラム、および仮想空間コンテンツ配信方法
今日
続きを見る
他の特許を見る