TOP
|
特許
|
意匠
|
商標
特許ウォッチ
Twitter
他の特許を見る
公開番号
2024179105
公報種別
公開特許公報(A)
公開日
2024-12-26
出願番号
2023097655
出願日
2023-06-14
発明の名称
電気接続箱
出願人
矢崎総業株式会社
代理人
弁理士法人栄光事務所
主分類
H02G
3/16 20060101AFI20241219BHJP(電力の発電,変換,配電)
要約
【課題】電気接続箱のケースに収容されたリレーからの放熱性に優れた電気接続箱を提供すること。
【解決手段】電気接続箱1は、隙間Sをあけて配置される一対のリレー20A,20Bと、一対のリレー20A,20Bを収容するケース10と、ケース10内に配置される伝熱部材70と、を備える。一対のリレー20A,20Bの各々は、リレーの内部回路60に繋がる複数の端子51~54と、複数の端子51~54のうちの少なくとも一つ51,52の近傍において隙間Sに向けて突出する形状を有する突出部23と、を有する。伝熱部材70は、少なくとも一つの端子51,52から放出される熱を吸熱して、少なくとも一つの端子51,52から離れる向きに伝熱する、ように構成される。
【選択図】図4
特許請求の範囲
【請求項1】
隙間をあけて配置される一対のリレーと、
前記一対の前記リレーを収容するケースと、
前記ケース内に配置される伝熱部材と、
を備える電気接続箱であって、
前記一対の前記リレーの各々は、
当該リレーの内部回路に繋がる複数の端子と、前記複数の前記端子のうちの少なくとも一つの近傍において前記隙間に向けて突出する形状を有する突出部と、を有し、
前記伝熱部材は、
前記少なくとも一つの前記端子から放出される熱を吸熱して前記少なくとも一つの前記端子から離れる向きに伝熱する、ように構成される、
電気接続箱。
続きを表示(約 640 文字)
【請求項2】
請求項1に記載の電気接続箱において、
前記一対の前記リレーは、
一方の前記リレーが有する前記突出部と、他方の前記リレーが有する前記突出部と、が互いに接触しないように配置される、
電気接続箱。
【請求項3】
請求項1に記載の電気接続箱において、
一方の前記リレーが有する前記突出部は、他方の前記リレーに接触せず、
他方の前記リレーが有する前記突出部は、一方の前記リレーに接触しない、
電気接続箱。
【請求項4】
請求項1に記載の電気接続箱において、
前記突出部は、
前記複数の前記端子のうちの二つの前記端子の近傍に配置される、
電気接続箱。
【請求項5】
請求項1に記載の電気接続箱において、
一方の前記リレーが有する前記突出部の突出端のほうが、一方の前記リレーが有する前記少なくとも一つの前記端子よりも、他方の前記リレーに近く、
他方の前記リレーが有する前記突出部の突出端のほうが、他方の前記リレーが有する前記少なくとも一つの前記端子よりも、一方の前記リレーに近い、
電気接続箱。
【請求項6】
請求項1に記載の電気接続箱において、
前記突出部は、
前記少なくとも一つの前記端子の近傍として、前記一対の前記リレーの各々の前記隙間に面する側面に、設けられる、
電気接続箱。
発明の詳細な説明
【技術分野】
【0001】
本発明は、ケースにリレーが収容された電気接続箱に関する。
続きを表示(約 1,800 文字)
【背景技術】
【0002】
従来から、自動車等に用いられる電気接続箱は、リレーやヒューズ等の電子部品を樹脂等で構成された所定形状のケースに取り付けるとともに、それら電子部品の入出力端子と、ケースに保持されたバスバや外部負荷に繋がる端子等と、を電気的に接続するように構成されている(例えば、特許文献1を参照)。
【先行技術文献】
【特許文献】
【0003】
特開2005-158479号公報
【発明の概要】
【発明が解決しようとする課題】
【0004】
ところで、上述した種類の電気接続箱では、一般に、電子部品(特に、リレーやヒューズ)の作動時に、電子部品の入出力端子等の通電箇所において、通電に伴うジュール熱が生じる。特に、電子部品の入出力端子と、入出力端子に接続されるバスバ等と、の接点では、接触抵抗の大きさに起因して、他の箇所よりも大きなジュール熱が生じ得る。このような接点で生じた熱は入出力端子を介して電子部品の内部機構にも伝達されるため、電子部品を長期間にわたって適正に作動させる観点では、接点で生じた熱を電子部品の外部へ効率よく放熱させることが望ましい。
【0005】
本発明の目的の一つは、電気接続箱のケースに収容されたリレーからの放熱性に優れた電気接続箱を提供することにある。
【課題を解決するための手段】
【0006】
前述した目的を達成するために、本発明に係る電気接続箱は、以下を特徴としている。
【0007】
隙間をあけて配置される一対のリレーと、
前記一対の前記リレーを収容するケースと、
前記ケース内に配置される伝熱部材と、
を備える電気接続箱であって、
前記一対の前記リレーの各々は、
当該リレーの内部回路に繋がる複数の端子と、前記複数の前記端子のうちの少なくとも一つの近傍において前記隙間に向けて突出する形状を有する突出部と、を有し、
前記伝熱部材は、
前記少なくとも一つの前記端子から放出される熱を吸熱して前記少なくとも一つの前記端子から離れる向きに伝熱する、ように構成される、
電気接続箱であること。
【発明の効果】
【0008】
本発明に係る電気接続箱によれば、ケースに収容される一対のリレーの各々が、それらリレーの間の隙間に向けて突出する突出部を有する。これら突出部により、一対のリレーが過度に近接配置されることがなく、一対のリレーの間に適度な隙間が存在することになる。更に、突出部は、リレーが有する少なくとも一つの端子の近傍に配置される。一対のリレーの間に隙間が存在する分、各々のリレーの端子で生じるジュール熱が、過度に狭い範囲に集中することがないし、隙間を通じた空気の流れによって放熱も促進される。更に、少なくとも一つの端子から放出される熱を吸熱してその端子から離れる向きに伝熱する伝熱部材により、ケースに収容されたリレーからの放熱性を更に向上させることができる。したがって、本構成の電気接続箱は、ケースに収容されたリレーからの放熱性に優れている。加えて、各々の端子で生じる熱を各々異なる箇所に放熱させる場合に比べ、上述した隙間に各々の端子から生じる熱を一纏めに放熱させる分、電気接続箱の小型化にも貢献できる。
【0009】
以上、本発明について簡潔に説明した。更に、以下に説明される発明を実施するための形態を添付の図面を参照して通読することにより、本発明の詳細は更に明確化されるであろう。
【図面の簡単な説明】
【0010】
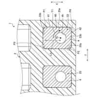
図1は、本発明の実施形態に係る電気接続箱の斜視図である。
図2は、図1に示す電気接続箱の上面図である。
図3は、図2のB部の拡大図である。
図4は、図1に示す電気接続箱の下面図である(ただし、バスバ及び電子部品(リレー及びヒューズ)のみを図示)。
図5は、図4に示すリレーの下面拡大図である。
図6は、図4に示す一対のリレーの内部回路を説明するための図である。
【発明を実施するための形態】
(【0011】以降は省略されています)
この特許をJ-PlatPat(特許庁公式サイト)で参照する
関連特許
矢崎総業株式会社
端子
5日前
矢崎総業株式会社
端子
1か月前
矢崎総業株式会社
箱状体
29日前
矢崎総業株式会社
箱状体
1か月前
矢崎総業株式会社
箱状体
1か月前
矢崎総業株式会社
箱状体
29日前
矢崎総業株式会社
箱状体
29日前
矢崎総業株式会社
端子台
今日
矢崎総業株式会社
端子台
今日
矢崎総業株式会社
端子台
今日
矢崎総業株式会社
端子台
今日
矢崎総業株式会社
コネクタ
13日前
矢崎総業株式会社
照明装置
1か月前
矢崎総業株式会社
電源回路
13日前
矢崎総業株式会社
コネクタ
14日前
矢崎総業株式会社
コネクタ
13日前
矢崎総業株式会社
コネクタ
28日前
矢崎総業株式会社
照明装置
1か月前
矢崎総業株式会社
照明装置
1か月前
矢崎総業株式会社
コネクタ
6日前
矢崎総業株式会社
照明装置
1か月前
矢崎総業株式会社
コネクタ
28日前
矢崎総業株式会社
バスバー
1か月前
矢崎総業株式会社
接続構造
29日前
矢崎総業株式会社
コネクタ
1か月前
矢崎総業株式会社
コネクタ
1か月前
矢崎総業株式会社
コネクタ
1か月前
矢崎総業株式会社
コネクタ
1か月前
矢崎総業株式会社
コネクタ
1か月前
矢崎総業株式会社
コネクタ
1か月前
矢崎総業株式会社
コネクタ
5日前
矢崎総業株式会社
コネクタ
5日前
矢崎総業株式会社
コネクタ
1か月前
矢崎総業株式会社
報知装置
1か月前
矢崎総業株式会社
給電装置
6日前
矢崎総業株式会社
電気接続箱
1か月前
続きを見る
他の特許を見る