TOP
|
特許
|
意匠
|
商標
意匠ウォッチ
Twitter
他の意匠を見る
発行日
2025-06-03
公報種別
意匠公報(S)
登録番号
1800131
登録日
2025-05-26
意匠に係る物品
ピッチャー
意匠分類
C5
-3100(飲食用容器又は調理用容器)
出願番号
2024021419
出願日
2024-10-16
意匠権者
山田化学株式会社
代理人
個人
,
個人
意匠に係る物品の説明
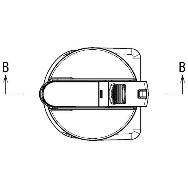
本願意匠に係る物品(以下「本物品」という。)は、内部に貯留した飲料水などを冷蔵庫等に収納しておくピッチャーであって、上方に開口する略真円形状の開口部を有する本体と、この本体の開口部を環状の第1シール材を介して塞ぐ蓋体とを備えている。本物品の蓋体には、その上面の中央の一側端と他側端とを連結する略I字状の把持片を備え、この把持片の一側端より外方へ若干膨出する注ぎ口は、略真円形状の連通孔を介して本体の開口部に連通している。本物品の蓋体の把持片には、本体の開口部の中心よりも他側において揺動自在に支持された注水レバーが設けられている。本物品の蓋体の注水レバーには、その一側より下方へ突出する突出片が設けられているとともに、この突出片の下端部には、連通孔を上方からの圧接により遮蔽する有底筒状の第2シール材が取り付けられている。また、本物品の蓋体の注水レバーには、他側に行くに従い上方へ突出する略三角形状の突起が設けられているとともに、注水レバーを揺動不能にロックするロック片が他側へスライド自在に支持されている。そして、本物品の蓋体の注水レバーは、ロック片が一側に位置して閉じた状態にあるときに突出片の下端部の第2シール材により連通孔を上方からの圧接により遮蔽している。一方、本物品の蓋体の注水レバーは、ロック片を他側へスライドさせて開いた状態にあるときに突起との摺接により上方へ揺動することで、突出片の下端部を引き上げて第2シール材による連通孔の遮蔽を解除し、注ぎ口から本体内の飲料水などを注げるようにしている。
意匠の説明
斜視図、分解した状態を示す参考斜視図1、及び注水レバーを開いた状態を示す参考斜視図は、それぞれ斜め上方から視ている。分解した状態を示す参考斜視図2は、斜め下方から視ている。また、各図面に表されている細線は、平面と曲面及び曲面同士の境界を示し、立体表面の形状を特定するためのものである。
この意匠をJ-PlatPat(特許庁公式サイト)で参照する
関連意匠
山田化学株式会社
展示台
6か月前
山田化学株式会社
展示台
6か月前
山田化学株式会社
表示スタンド
1か月前
山田化学株式会社
展示台用側面壁
6か月前
山田化学株式会社
整理箱
4か月前
山田化学株式会社
小物入れ
8か月前
山田化学株式会社
小物入れ
8か月前
山田化学株式会社
ペントレー
7か月前
山田化学株式会社
収納ケース
10か月前
山田化学株式会社
メモスタンド
4か月前
山田化学株式会社
箸入れ
3か月前
山田化学株式会社
ペンスタンド
7か月前
山田化学株式会社
ふせんケース
8か月前
山田化学株式会社
食卓用皿
10か月前
山田化学株式会社
ギフトボックス
2か月前
山田化学株式会社
ファイルケース
8か月前
山田化学株式会社
小物入れケース
8か月前
山田化学株式会社
ピッチャー
4か月前
山田化学株式会社
シート収納ケース
10か月前
山田化学株式会社
シート収納ケース
10か月前
山田化学株式会社
多目的まな板
10か月前
山田化学株式会社
食品保存容器
17日前
山田化学株式会社
食品保存容器
17日前
山田化学株式会社
包装用容器の蓋
7か月前
山田化学株式会社
包装用容器の蓋
7か月前
山田化学株式会社
食品保存容器
17日前
山田化学株式会社
レトルトパウチ袋用スタンド
10か月前
山田化学株式会社
観賞魚用水槽
10か月前
株式会社トレードワン
鍋
10か月前
株式会社トレードワン
鍋
9か月前
株式会社 ゼンショーホールディングス
鍋
5か月前
カノー株式会社
椀
10か月前
株式会社ジェイエイチキュー
鍋
1か月前
株式会社カインズ
皿
5か月前
株式会社カインズ
皿
5か月前
山梨県
鍋
4か月前
続きを見る
他の意匠を見る