TOP
|
特許
|
意匠
|
商標
特許ウォッチ
Twitter
他の特許を見る
10個以上の画像は省略されています。
公開番号
2025177069
公報種別
公開特許公報(A)
公開日
2025-12-05
出願番号
2024083575
出願日
2024-05-22
発明の名称
モビリティ
出願人
ジヤトコ株式会社
代理人
弁理士法人後藤特許事務所
主分類
A63C
17/01 20060101AFI20251128BHJP(スポーツ;ゲーム;娯楽)
要約
【課題】乗車以外の用途で使用することが可能なモビリティを提供することを目的とする。
【解決手段】モビリティは、ハンドルを有するステアリングコラムと、ステアリングコラムに対して回動可能に設けられた第一足置部材と、第一足置部材に接続部を介して回動可能に接続された第二足置部材と、を備える。モビリティは、接続部よりも進行方向前方側に配置された第一車輪と、接続部よりも進行方向後方側に配置された第二車輪と、を備える。モビリティは、第一足置部材及び第二足置部材が進行前後方向に並ぶように展開された展開形態と、展開形態よりも接続部が上方に位置するように第一足置部材及び第二足置部材が折り畳まれた折畳形態と、を選択的に形成可能である。モビリティは、折畳形態のときに進行前後方向の一方側に向かって展開するフラップ部を有する。
【選択図】図1
特許請求の範囲
【請求項1】
ハンドルを有するステアリングコラムと、
前記ステアリングコラムに対して回動可能に設けられた第一足置部材と、
前記第一足置部材に接続部を介して回動可能に接続された第二足置部材と、
前記接続部よりも進行方向前方側に配置された第一車輪と、
前記接続部よりも進行方向後方側に配置された第二車輪と、
を備え、
前記第一足置部材及び前記第二足置部材が進行前後方向に並ぶように展開された展開形態と、前記展開形態よりも前記接続部が上方に位置するように前記第一足置部材及び前記第二足置部材が折り畳まれた折畳形態と、を選択的に形成可能であり、
前記折畳形態のときに前記進行前後方向の一方側に向かって展開するフラップ部を有する、
モビリティ。
続きを表示(約 1,000 文字)
【請求項2】
請求項1に記載のモビリティであって、
前記フラップ部は、前記折畳形態時に牽引される牽引方向とは逆側に展開される、
モビリティ。
【請求項3】
請求項2に記載のモビリティであって、
前記第一車輪と前記第二車輪とは径が異なり、
前記第一車輪及び前記第二車輪のうち径が小さい車輪を有する部材側に前記フラップ部が配置されている、
モビリティ。
【請求項4】
請求項2に記載のモビリティであって、
前記折畳形態時に牽引する為の牽引用取っ手をさらに備え、
前記折畳形態において前記牽引用取っ手と前記フラップ部とは、互いに前記進行前後方向逆側に配置されている、
モビリティ。
【請求項5】
請求項1に記載のモビリティであって、
前記フラップ部は、前記第一足置部材及び前記第二足置部材とは異なる別部材に設けられている、
モビリティ。
【請求項6】
請求項1に記載のモビリティであって、
前記フラップ部は、前記ステアリングコラムに設けられている、
モビリティ。
【請求項7】
請求項1に記載のモビリティであって、
前記フラップ部は、前記進行前後方向と交差する方向に拡大展開可能に構成されている、
モビリティ。
【請求項8】
請求項1に記載のモビリティであって、
前記折畳形態のときに荷物を固定可能な固定用部材をさらに備える、
モビリティ。
【請求項9】
請求項1に記載のモビリティであって、
前記ハンドルは、伸縮可能に構成されている、
モビリティ。
【請求項10】
ハンドルを有するステアリングコラムと、
前記ステアリングコラムに対して回動可能に設けられた足置部材と、
前記足置部材の進行方向前方側に配置された第一車輪と、
前記第一車輪よりも前記足置部材の進行方向後方側に配置された第二車輪と、
を備え、
前記足置部材が前記ステアリングコラム側から前記進行方向後方側へ向けて延びるように配置された展開形態と、前記足置部材が前記ステアリングコラムに沿って配置された折畳形態と、を選択的に形成可能であり、
前記折畳形態のときに進行前後方向の一方側に向かって展開するフラップ部を有する、
モビリティ。
発明の詳細な説明
【技術分野】
【0001】
本発明は、モビリティに関する。
続きを表示(約 1,500 文字)
【背景技術】
【0002】
特許文献1及び特許文献2には、折畳可能なキックボードが開示されている。
【先行技術文献】
【特許文献】
【0003】
特開2018-042958号公報
国際公開第2021/063433号
【発明の概要】
【発明が解決しようとする課題】
【0004】
このようなキックボードは、乗車以外の利用を考慮した設計がなされておらず、乗車以外の用途が求められてた。
【0005】
本発明は、上記の問題点に鑑みてなされたものであり、乗車以外の用途で使用することが可能なモビリティを提供することを目的とする。
【課題を解決するための手段】
【0006】
本発明のある態様によれば、ハンドルを有するステアリングコラムと、ステアリングコラムに対して回動可能に設けられた第一足置部材と、第一足置部材に接続部を介して回動可能に接続された第二足置部材と、接続部よりも進行方向前方側に配置された第一車輪と、接続部よりも進行方向後方側に配置された第二車輪と、を備え、第一足置部材及び第二足置部材が進行前後方向に並ぶように展開された展開形態と、展開形態よりも接続部が上方に位置するように第一足置部材及び第二足置部材が折り畳まれた折畳形態と、を選択的に形成可能であり、折畳形態のときに進行前後方向の一方側に向かって展開するフラップ部を有する、モビリティが提供される。
【発明の効果】
【0007】
本発明のある態様によれば、モビリティは、第一足置部材及び第二足置部材の接続部が上方に位置するように折り畳んだ折畳形態において、フラップ部を進行前後方向の一方側に向かって展開することができる。
【0008】
このため、モビリティは、フラップ部に荷物を載せた状態で車輪を接地面に沿って転動することにより、荷物を運ぶキャリーカートとして利用することができるので、乗車以外の用途で使用することが可能となる。
【図面の簡単な説明】
【0009】
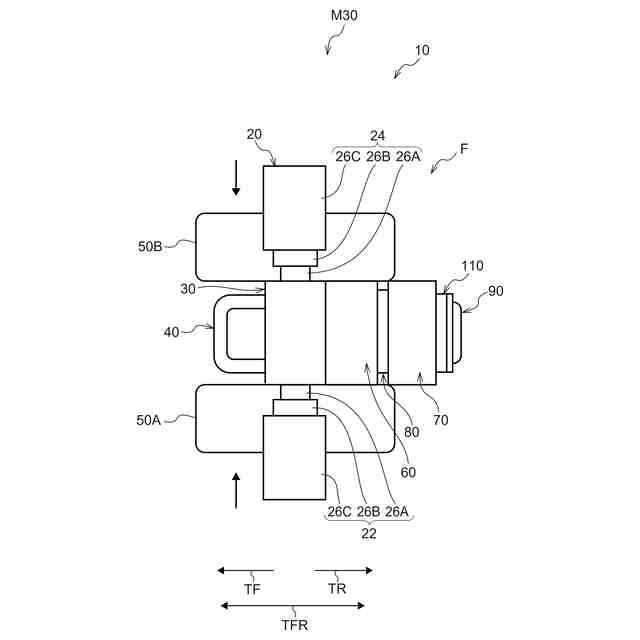
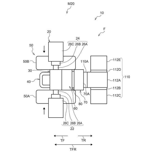
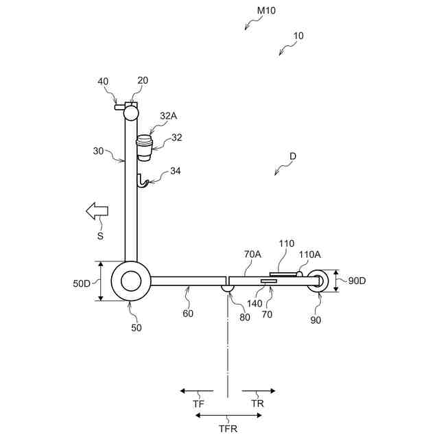
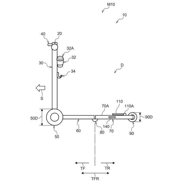
図1は、本実施形態に係るモビリティを示す側面図である。
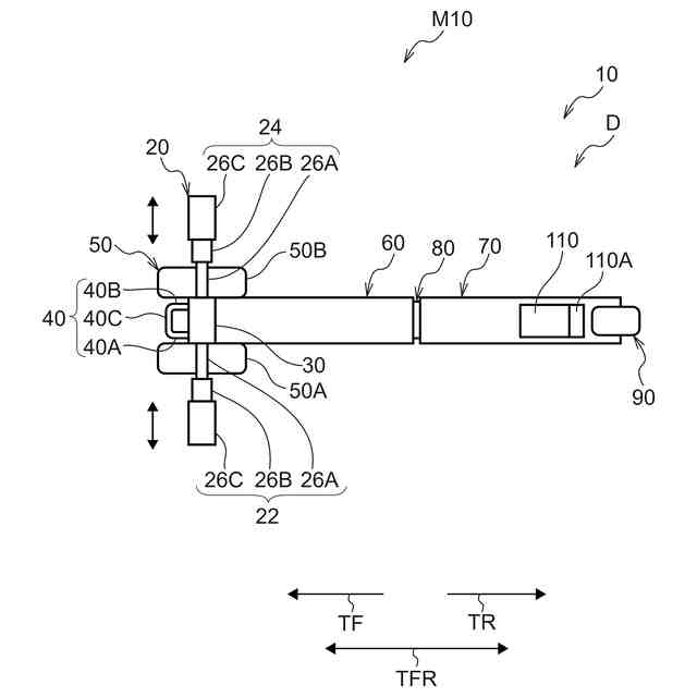
図2は、本実施形態に係るモビリティを示す平面図である。
図3は、本実施形態に係るモビリティを折り畳む様子を示す側面図である。
図4は、本実施形態に係るモビリティの折畳形態を示す側面図である。
図5は、本実施形態に係るモビリティのフラップ部を拡大展開した状態を示す平面図である。
図6は、本実施形態に係るモビリティを収納モードにした状態を示す平面図である。
図7は、本実施形態に係るモビリティを玄関に配置した例を示す図である。
図8は、第一変形例に係るモビリティを示す説明図である。
図9は、第二変形例に係るモビリティを示す説明図である。
図10は、第三変形例に係るモビリティを示す説明図である。
図11は、第四変形例に係るモビリティを示す説明図である。
図12は、第五変形例に係るモビリティを示す説明図である。
図13は、第六変形例に係るモビリティを示す説明図である。
図14は、第七変形例に係るモビリティを示す説明図である。
図15は、第八変形例に係るモビリティを示す説明図である。
【発明を実施するための形態】
【0010】
<実施形態>
以下、添付図面を参照しながら本発明の実施形態に係るモビリティ10について説明する。
(【0011】以降は省略されています)
この特許をJ-PlatPat(特許庁公式サイト)で参照する
関連特許
ジヤトコ株式会社
治具
3日前
ジヤトコ株式会社
モビリティ
3日前
ジヤトコ株式会社
モビリティ
3日前
ジヤトコ株式会社
モビリティ
3日前
ジヤトコ株式会社
排水回収システム
18日前
個人
玩具
2か月前
個人
玩具
5か月前
個人
自走玩具
2か月前
個人
ゲーム玩具
6か月前
個人
小型卓球台
1か月前
個人
運動補助具
4か月前
個人
パズル
1か月前
個人
打撃練習用具
2か月前
株式会社三共
遊技機
今日
株式会社三共
遊技機
5か月前
株式会社三共
遊技機
5か月前
株式会社三共
遊技機
5か月前
株式会社三共
遊技機
5か月前
株式会社三共
遊技機
5か月前
株式会社三共
遊技機
5か月前
株式会社三共
遊技機
5か月前
株式会社三共
遊技機
5か月前
株式会社三共
遊技機
5か月前
株式会社三共
遊技機
5か月前
株式会社三共
遊技機
5か月前
株式会社三共
遊技機
5か月前
株式会社三共
遊技機
5か月前
株式会社三共
遊技機
5か月前
株式会社三共
遊技機
5か月前
株式会社三共
遊技機
5か月前
株式会社三共
遊技機
5か月前
株式会社三共
遊技機
5か月前
株式会社三共
遊技機
5か月前
株式会社三共
遊技機
5か月前
株式会社三共
遊技機
5か月前
株式会社三共
遊技機
5か月前
続きを見る
他の特許を見る