TOP
|
特許
|
意匠
|
商標
特許ウォッチ
Twitter
他の特許を見る
公開番号
2025177071
公報種別
公開特許公報(A)
公開日
2025-12-05
出願番号
2024083578
出願日
2024-05-22
発明の名称
モビリティ
出願人
ジヤトコ株式会社
代理人
弁理士法人後藤特許事務所
主分類
B62K
15/00 20060101AFI20251128BHJP(鉄道以外の路面車両)
要約
【課題】牽引時の抵抗を抑制することが可能なモビリティを提供することを目的とする。
【解決手段】モビリティは、ハンドルを有するステアリングコラムと、ステアリングコラムに対して回動可能に設けられた第一足置部材と、第一足置部材に接続部を介して回動可能に接続された第二足置部材と、を備える。モビリティは、接続部よりも進行方向前方側に配置された第一車輪と、接続部よりも進行方向後方側に配置された第二車輪と、を備える。モビリティは、第一足置部材及び第二足置部材が進行前後方向に並ぶように展開された展開形態と、展開形態よりも接続部が上方に位置するように第一足置部材及び第二足置部材が折り畳まれた折畳形態と、を選択的に形成可能である。第二車輪は、駆動源によって駆動される駆動車輪であり、第一車輪は、駆動源によって駆動されない自由回転車輪である。
【選択図】図1
特許請求の範囲
【請求項1】
ハンドルを有するステアリングコラムと、
前記ステアリングコラムに対して回動可能に設けられた第一足置部材と、
前記第一足置部材に接続部を介して回動可能に接続された第二足置部材と、
前記接続部よりも進行方向前方側に配置された第一車輪と、
前記接続部よりも進行方向後方側に配置された第二車輪と、
を備え、
前記第一足置部材及び前記第二足置部材が進行前後方向に並ぶように展開された展開形態と、前記展開形態よりも前記接続部が上方に位置するように前記第一足置部材及び前記第二足置部材が折り畳まれた折畳形態と、を選択的に形成可能であり、
前記第二車輪は、駆動源によって駆動される駆動車輪であり、前記第一車輪は、前記駆動源によって駆動されない自由回転車輪である、
モビリティ。
続きを表示(約 240 文字)
【請求項2】
請求項1に記載のモビリティであって、
前記第一車輪の径は、前記第二車輪の径よりも大きい、
モビリティ。
【請求項3】
請求項1に記載のモビリティであって、
前記ステアリングコラムの上部に牽引用取っ手が設けられている、
モビリティ。
【請求項4】
請求項1に記載のモビリティであって、
前記第一車輪又は前記第二車輪の少なくとも一方は、複数の車輪で構成される、
モビリティ。
発明の詳細な説明
【技術分野】
【0001】
本発明は、モビリティに関する。
続きを表示(約 1,300 文字)
【背景技術】
【0002】
特許文献1及び特許文献2には、折畳可能なキックボードが開示されている。
【先行技術文献】
【特許文献】
【0003】
特開2018-042958号公報
国際公開第2021/063433号
【発明の概要】
【発明が解決しようとする課題】
【0004】
このようなキックボードにおいて、車輪を駆動源で駆動する場合には、当該車輪を転動させて牽引する際の抵抗が大きくなるという問題があった。
【0005】
本発明は、上記の問題点に鑑みてなされたものであり、牽引時の抵抗を抑制することが可能なモビリティを提供することを目的とする。
【課題を解決するための手段】
【0006】
本発明のある態様によれば、ハンドルを有するステアリングコラムと、ステアリングコラムに対して回動可能に設けられた第一足置部材と、第一足置部材に接続部を介して回動可能に接続された第二足置部材と、接続部よりも進行方向前方側に配置された第一車輪と、接続部よりも進行方向後方側に配置された第二車輪と、を備え、第一足置部材及び第二足置部材が進行前後方向に並ぶように展開された展開形態と、展開形態よりも接続部が上方に位置するように第一足置部材及び第二足置部材が折り畳まれた折畳形態と、を選択的に形成可能であり、第二車輪は、駆動源によって駆動される駆動車輪であり、第一車輪は、前記駆動源によって駆動されない自由回転車輪である、モビリティが提供される。
【発明の効果】
【0007】
本発明のある態様によれば、モビリティは、折畳形態で牽引する際に進行方向前方へ向けて傾斜される。すると、第一足置部材及び第二足置部材を接続する接続部よりも進行方向前方側に配置された第一車輪が接地面に接した状態で接地面を転動する。
【0008】
接地面を転動する第一車輪は、駆動源によって駆動されない自由回転車輪である。このため、モビリティは、駆動源で駆動される駆動車輪としての第二車輪を転動させる場合と比較して、牽引時の抵抗を抑制することが可能となる。
【図面の簡単な説明】
【0009】
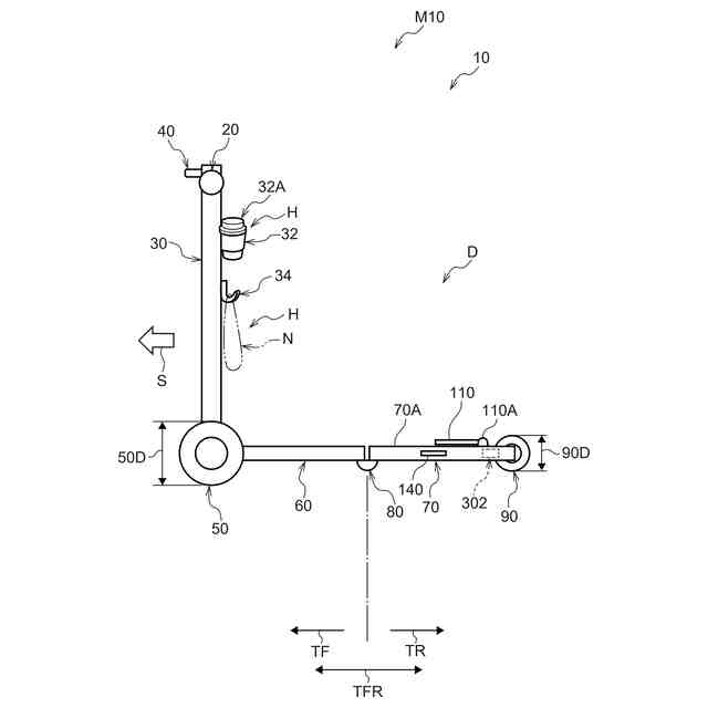
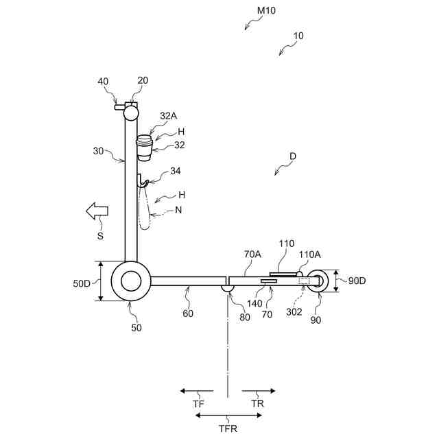
図1は、本実施形態に係るモビリティを示す側面図である。
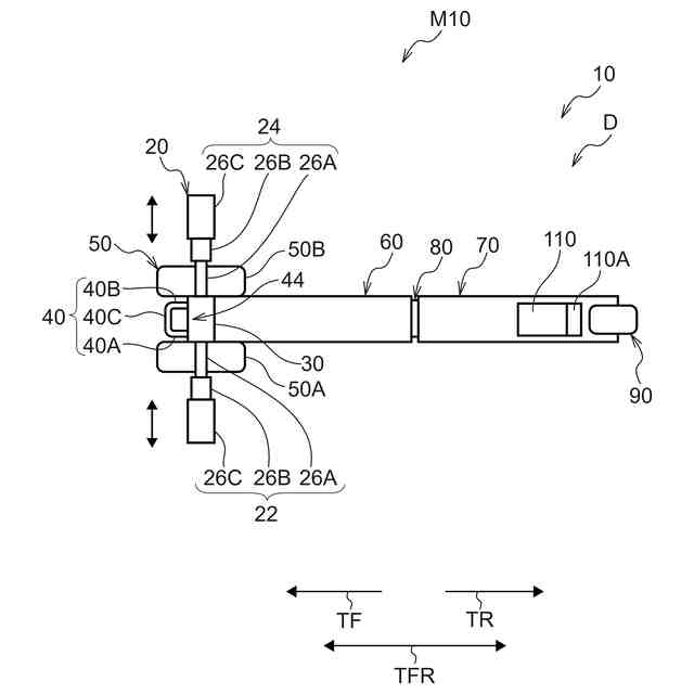
図2は、本実施形態に係るモビリティを示す平面図である。
図3は、本実施形態に係るモビリティを折り畳む様子を示す側面図である。
図4は、本実施形態に係るモビリティの折畳形態を示す側面図である。
図5は、本実施形態に係るモビリティのフラップ部を拡大展開した状態を示す平面図である。
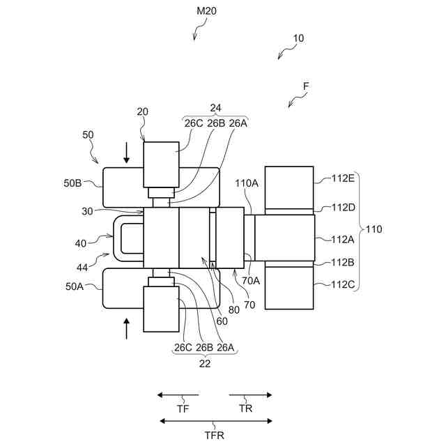
図6は、本実施形態に係るモビリティを収納モードにした状態を示す平面図である。
図7は、本実施形態に係るモビリティを玄関に配置した例を示す図である。
図8は、本実施形態に係るモビリティを示すブロック図である。
【発明を実施するための形態】
【0010】
<実施形態>
以下、添付図面を参照しながら本発明の実施形態に係るモビリティ10について説明する。
(【0011】以降は省略されています)
この特許をJ-PlatPat(特許庁公式サイト)で参照する
関連特許
ジヤトコ株式会社
治具
3日前
ジヤトコ株式会社
治具
2か月前
ジヤトコ株式会社
モビリティ
3日前
ジヤトコ株式会社
モビリティ
3日前
ジヤトコ株式会社
モビリティ
3日前
ジヤトコ株式会社
排水回収システム
18日前
個人
カート
5か月前
個人
走行装置
5か月前
個人
三輪バイク
1か月前
個人
台車
18日前
個人
乗り物
7か月前
個人
電動走行車両
5か月前
個人
閂式ハンドル錠
5か月前
個人
電動モビリティ
9か月前
個人
駐輪設備
3か月前
個人
自転車用歩数計
1か月前
個人
発音装置
9か月前
個人
ボギー・フレーム
3か月前
個人
“zen-go.”
4か月前
個人
ルーフ付きトライク
4か月前
個人
三輪電動車両
1か月前
個人
ルーフ付きトライク
3か月前
個人
自由方向乗車自転車
9か月前
個人
車の室内高温防止屋根
1か月前
個人
パワーアシスト自転車
3か月前
井関農機株式会社
作業車両
1か月前
個人
キャンピングトライク
10か月前
個人
ステアリングの操向部材
10か月前
個人
電動式ルーフ付きトライク
10日前
個人
電動式ルーフ付きトライク
10日前
個人
フロントフットブレーキ。
5か月前
個人
電動式ルーフ付きトライク
10日前
井関農機株式会社
収穫作業車両
4日前
株式会社豊田自動織機
産業車両
6か月前
個人
乗用自動車のディフューザー
2か月前
豊田鉄工株式会社
小型車両
5か月前
続きを見る
他の特許を見る