TOP
|
特許
|
意匠
|
商標
特許ウォッチ
Twitter
他の特許を見る
10個以上の画像は省略されています。
公開番号
2025159239
公報種別
公開特許公報(A)
公開日
2025-10-17
出願番号
2025139011,2021087986
出願日
2025-08-22,2021-05-25
発明の名称
遊技機
出願人
株式会社オリンピア
代理人
弁理士法人近島国際特許事務所
主分類
A63F
5/04 20060101AFI20251009BHJP(スポーツ;ゲーム;娯楽)
要約
【課題】過度な射幸性を抑制できる遊技機を提供する。
【解決手段】
遊技機は、第1遊技状態と、ボーナスに当選した場合に移行可能な第2遊技状態と、を有する。第2遊技状態で特定当選態様に当選した場合において、正解操作態様で複数のストップボタンが操作された場合に、第1小役が入賞し、正解操作態様とは異なる操作態様のうち、第1リールを最初に停止させる操作態様で複数のストップボタンが操作された場合、複数種類の特定当選態様のいずれに当選した場合においても、第2小役が入賞する。第1遊技状態で特定当選態様に当選した場合に第1小役が入賞する確率は、第2遊技状態で特定当選態様に当選した場合に第1小役が入賞する確率よりも低い。
【選択図】
図19
特許請求の範囲
【請求項1】
複数のリールと、
複数のストップボタンと、
内部抽選を行う内部抽選手段と、
複数種類の遊技状態の間での移行に係る制御を行う遊技状態移行制御手段
と、を備え、
前記複数のリールは、第1リールと、第2リールと、第3リールと、を有し、
前記内部抽選では、複数種類の当選態様の当否が決定され、
前記複数種類の当選態様には、特定当選態様が含まれ、
前記特定当選態様には、第1小役と、第2小役と、第3小役と、が含まれ、
前記第1小役は、前記第2小役及び前記第3小役よりも高い配当に設定され、
複数種類の前記特定当選態様のそれぞれについて、前記複数のストップボタンの操作態様として正解操作態様が設定されており、
前記第1リールを最初に停止させる操作態様は、いずれの前記特定当選態様においても正解操作態様に設定されておらず、
前記第2リールを最初に停止させる操作態様が前記正解操作態様となる前記特定当選態様と、前記第3リールを最初に停止させる操作態様が前記正解操作態様となる前記特定当選態様と、を有し、且つ前記第1リールを最初に停止させる操作態様が前記正解操作態様となる前記特定当選態様が有さず、
前記複数種類の遊技状態には、第1遊技状態と、第2遊技状態と、が含まれ、
前記第2遊技状態は、前記第1遊技状態における前記内部抽選でボーナスに当選した場合に移行可能であり、
前記第2遊技状態における前記内部抽選で前記特定当選態様に当選した場合において、
前記正解操作態様で前記複数のストップボタンが操作された場合に、前記第1小役が入賞し、
前記正解操作態様とは異なる操作態様のうち、前記第1リールを最初に停止させる操作態様で前記複数のストップボタンが操作された場合、複数種類の前記特定当選態様のいずれに当選した場合においても、前記第2小役が入賞し、
前記正解操作態様とは異なる操作態様のうち、前記第2リール又は前記第3リールを最初に停止させる操作態様で前記複数のストップボタンが操作された場合に、所定の確率で前記第3小役が入賞し、且つ前記第3小役が入賞しない場合には、いずれの役も入賞せず、
前記第1遊技状態における前記内部抽選で前記特定当選態様に当選した場合に前記第1小役が入賞する確率は、前記第2遊技状態における前記内部抽選で前記特定当選態様に当選した場合に前記第1小役が入賞する確率よりも低い、
ことを特徴とする遊技機
。
発明の詳細な説明
【技術分野】
【0001】
本発明は、遊技機に関する。
続きを表示(約 3,600 文字)
【背景技術】
【0002】
従来、外周面に図柄が配列された複数のリールを備えた遊技機(回胴式遊技機、スロットマシン)が知られている。この種の遊技機は、メダルやパチンコ玉などの遊技媒体に対して一定の遊技価値を付与し、このような遊技媒体を獲得するための遊技を行うものである。また、この種の遊技機は、遊技者の回転開始操作を契機として、内部抽選を行うとともに複数のリールの回転を開始させ、遊技者の停止操作を契機として、内部抽選の結果に応じた態様で複数のリールを停止させる制御を行っている。そして、遊技の結果は、複数のリールが停止した状態における入賞判定ライン上に表示された図柄組合せによって判定され、遊技の結果に応じてメダル等の払い出しなどが行われる。
【0003】
上述した遊技機においては、役の入賞を補助する入賞補助を実行する演出状態として、アシストタイム状態に移行することによって、役の入賞確率を変動させ、遊技価値を獲得しやすくすることができる構成が知られている。また、アシストタイム状態の終了後に、入賞補助が実行されない期間を開始することで、過度な遊技価値の付与を抑制する構成が開示されている(例えば、特許文献1)。
【先行技術文献】
【特許文献】
【0004】
特開2017-221424号公報
【発明の概要】
【発明が解決しようとする課題】
【0005】
特許文献1に記載の遊技機にいては、入賞補助が実行されない期間について、抽選によって終了するか否かを決定する構成となっており、該抽選において速やかに入賞補助が実行されない期間の終了が決定された場合には、早期にアシストタイム状態が再開されてしまい、遊技機の過度な射幸性を抑制することが困難となる虞がある。
【0006】
そこで、本発明は、過度な射幸性を抑制することができる遊技機を提供することを目的としている。
【課題を解決するための手段】
【0007】
本発明は、複数のリールと、
複数のストップボタンと、
内部抽選を行う内部抽選手段と、
複数種類の遊技状態の間での移行に係る制御を行う遊技状態移行制御手段
と、を備え、
前記複数のリールは、第1リールと、第2リールと、第3リールと、を有し、
前記内部抽選では、複数種類の当選態様の当否が決定され、
前記複数種類の当選態様には、特定当選態様が含まれ、
前記特定当選態様には、第1小役と、第2小役と、第3小役と、が含まれ、
前記第1小役は、前記第2小役及び前記第3小役よりも高い配当に設定され、
複数種類の前記特定当選態様のそれぞれについて、前記複数のストップボタンの操作態様として正解操作態様が設定されており、
前記第1リールを最初に停止させる操作態様は、いずれの前記特定当選態様においても正解操作態様に設定されておらず、
前記第2リールを最初に停止させる操作態様が前記正解操作態様となる前記特定当選態様と、前記第3リールを最初に停止させる操作態様が前記正解操作態様となる前記特定当選態様と、を有し、且つ前記第1リールを最初に停止させる操作態様が前記正解操作態様となる前記特定当選態様が有さず、
前記複数種類の遊技状態には、第1遊技状態と、第2遊技状態と、が含まれ、
前記第2遊技状態は、前記第1遊技状態における前記内部抽選でボーナスに当選した場合に移行可能であり、
前記第2遊技状態における前記内部抽選で前記特定当選態様に当選した場合において、
前記正解操作態様で前記複数のストップボタンが操作された場合に、前記第1小役が入賞し、
前記正解操作態様とは異なる操作態様のうち、前記第1リールを最初に停止させる操作態様で前記複数のストップボタンが操作された場合、複数種類の前記特定当選態様のいずれに当選した場合においても、前記第2小役が入賞し、
前記正解操作態様とは異なる操作態様のうち、前記第2リール又は前記第3リールを最初に停止させる操作態様で前記複数のストップボタンが操作された場合に、所定の確率で前記第3小役が入賞し、且つ前記第3小役が入賞しない場合には、いずれの役も入賞せず、
前記第1遊技状態における前記内部抽選で前記特定当選態様に当選した場合に前記第1小役が入賞する確率は、前記第2遊技状態における前記内部抽選で前記特定当選態様に当選した場合に前記第1小役が入賞する確率よりも低い、
ことを特徴とする。
【発明の効果】
【0008】
本発明によれば、過度な射幸性を抑制することができる遊技機を提供することができる。
【図面の簡単な説明】
【0009】
本発明の第1の実施形態の遊技機の外観構成を示す斜視図である。
本発明の第1の実施形態の遊技機の機能ブロックを説明する図である。
本発明の第1の実施形態の遊技機における内部抽選で当選可能な当選エリアと、各当選エリアに含まれる当選役と、各当選エリアに対応付けられた抽選値数と、を示す図である。
本発明の第1の実施形態の遊技機におけるリールの図柄配列を説明する図である。
本発明の第1の実施形態の遊技機におけるベルA~ベルL、1枚役A1~1枚役A4の入賞形態を示す図柄組合せと、を説明する図である。
本発明の第1の実施形態の遊技機における1枚役B1~1枚役E4の入賞形態を示す図柄組合せを説明する図である。
本発明の第1の実施形態の遊技機における1枚役F1~1枚役G4、レア役A、特殊小役A、特殊小役Bの入賞形態を示す図柄組合せを説明する図である。
本発明の第1の実施形態の遊技機における遊技状態の状態遷移図である。
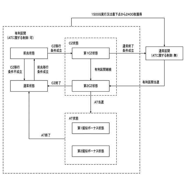
本発明の第1の実施形態の遊技機におけるAT制御手段が制御する通常区間及び有利区間と、有利区間中における演出状態と、に係る遷移図である。
本発明の第1の実施形態の遊技機において非RT状態における当選エリア「打順ベル1A」~当選エリア「打順ベル12A」、当選エリア「打順ベル1B」~当選エリア「打順ベル12B」の当選時に各打順で入賞可能となる役を示す図である。
本発明の第1の実施形態の遊技機においてボーナス成立状態における当選エリア「打順ベル1A」~当選エリア「打順ベル12A」、当選エリア「打順ベル1B」~当選エリア「打順ベル12B」の当選時に各打順で入賞可能となる役を示す図である。
本発明の第1の実施形態の遊技機において当選エリア「打順チャンス1A」~当選エリア「打順チャンス4A」の当選時に各打順で入賞可能となる役を示す図である。
本発明の第1の実施形態の遊技機におけるAT制御手段が待機ゲーム数カウンタに初期値を設定する場合に実行する制御処理を示すフローチャートである。
本発明の第2の実施形態の遊技機における内部抽選で当選可能な当選エリアと、各当選エリアに含まれる当選役と、各当選エリアに対応付けられた抽選値数と、を示す図である。
本発明の第2の実施形態の遊技機におけるリールの図柄配列を説明する図である。
本発明の第2の実施形態の遊技機における15枚役A~15枚役C、ベルA~ベルE、3枚役A~3枚役Fの入賞形態を示す図柄組合せと、を説明する図である。
本発明の第2の実施形態の遊技機における1枚役A~1枚役Jの入賞形態を示す図柄組合せと、を説明する図である。
本発明の第2の実施形態の遊技機における1枚役K~1枚役Sの入賞形態を示す図柄組合せを説明する図である。
本発明の第2の実施形態の遊技機における非RT状態において小役を含む当選エリアに当選した場合に入賞可能となる役を示す図である。
本発明の第2の実施形態の遊技機におけるボーナス成立状態において小役を含む当選エリアに当選した場合に入賞可能となる役を示す図である。
本発明の第2の実施形態の遊技機において各遊技状態における遊技方法ごとの出玉率を示す図である。
【発明を実施するための形態】
【0010】
[第1の実施形態]
以下、第1の実施形態について説明する。なお、以下に説明する第1の実施形態は、特許請求の範囲に記載された本発明の内容を不当に限定するものではない。また、第1の実施形態で説明される構成のすべてが、本発明の必須構成要件であるとは限らない。
(【0011】以降は省略されています)
この特許をJ-PlatPat(特許庁公式サイト)で参照する
関連特許
株式会社オリンピア
遊技機
3日前
株式会社オリンピア
遊技機
3日前
株式会社オリンピア
遊技機
12日前
株式会社オリンピア
遊技機
3日前
個人
玩具
1か月前
個人
玩具
3か月前
個人
自走玩具
1か月前
個人
ゲーム玩具
5か月前
個人
フィギュア
9か月前
個人
盤上遊戯具
8か月前
個人
玩具
8か月前
個人
運動補助具
2か月前
個人
打撃練習用具
11日前
株式会社三共
遊技機
7か月前
株式会社三共
遊技機
7か月前
株式会社三共
遊技機
7か月前
株式会社三共
遊技機
7か月前
株式会社三共
遊技機
7か月前
株式会社三共
遊技機
7か月前
株式会社三共
遊技機
今日
株式会社三共
遊技機
7か月前
株式会社三共
遊技機
7か月前
株式会社三共
遊技機
7か月前
株式会社三共
遊技機
3か月前
株式会社三共
遊技機
3か月前
株式会社三共
遊技機
3か月前
株式会社三共
遊技機
3か月前
株式会社三共
遊技機
3か月前
株式会社三共
遊技機
3か月前
株式会社三共
遊技機
7か月前
株式会社三共
遊技機
7か月前
株式会社三共
遊技機
7か月前
株式会社三共
遊技機
7か月前
株式会社三共
遊技機
7か月前
株式会社三共
遊技機
7か月前
株式会社三共
遊技機
7か月前
続きを見る
他の特許を見る