TOP
|
特許
|
意匠
|
商標
特許ウォッチ
Twitter
他の特許を見る
10個以上の画像は省略されています。
公開番号
2025154377
公報種別
公開特許公報(A)
公開日
2025-10-10
出願番号
2024057332
出願日
2024-03-29
発明の名称
ゲーム情報処理方法、コンピュータプログラム及び情報処理システム
出願人
フェンリル株式会社
代理人
個人
,
個人
主分類
A63F
13/48 20140101AFI20251002BHJP(スポーツ;ゲーム;娯楽)
要約
【課題】戦闘ゲームのプレイヤ募集を実現するゲーム情報処理方法、コンピュータプログラム及び情報処理システムを提供する。
【解決手段】ゲーム情報処理方法は、所定数のプレイヤの参加登録が受け付けられると、前記所定数のプレイヤそれぞれに対応するキャラクタが仮想空間上で、前記プレイヤの操作に応じて戦闘を開始可能なゲームに対し、コンピュータが、前記ゲーム上の戦闘への参加予約を募集する戦闘待機ページの作成を、Webページ上で受け付け、作成された戦闘待機ページにて、前記戦闘への参加予約の応募を受け付け、前記応募の数が前記所定数に達することを含む条件を満たした場合、前記応募をしたプレイヤのゲーム端末に対し、前記ゲームに対する参加登録用のコードを前記戦闘待機ページから出力する。
【選択図】図6
特許請求の範囲
【請求項1】
所定数のプレイヤの参加登録が受け付けられると、前記所定数のプレイヤそれぞれに対応するキャラクタが仮想空間上で、前記プレイヤの操作に応じて戦闘を開始可能なゲームに対し、
コンピュータが、
前記ゲーム上の戦闘への参加予約を募集する戦闘待機ページの作成を、Webページ上で受け付け、
作成された戦闘待機ページにて、前記戦闘への参加予約の応募を受け付け、
前記応募の数が前記所定数に達することを含む条件を満たした場合、前記応募をしたプレイヤのゲーム端末に対し、前記ゲームに対する参加登録用のコードを前記戦闘待機ページから出力する
ゲーム情報処理方法。
続きを表示(約 1,700 文字)
【請求項2】
前記コンピュータは、
各戦闘への参加予約を募集する戦闘待機ページにリンクするパネルを、Webページ上で選択可能に一覧表示する
請求項1に記載のゲーム情報処理方法。
【請求項3】
前記パネルには、各戦闘への募集条件が付されており、
前記コンピュータは、募集条件の検索に応じて前記パネルを一覧表示させる
請求項2に記載のゲーム情報処理方法。
【請求項4】
前記所定数のプレイヤは、各戦闘に対し、前記ゲームの仕様に応じてチーム分けされ、
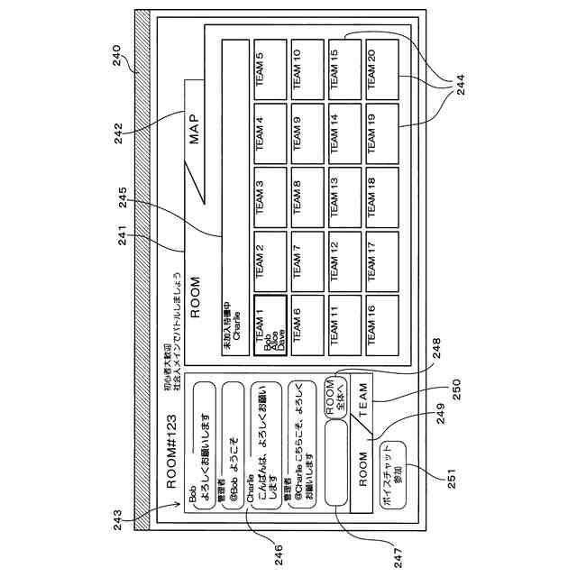
前記戦闘待機ページは、戦闘に参加するプレイヤ間のテキスト又は音声による会話内容を受け付けて表示する画面と、各チーム内でのプレイヤ間のテキスト又は音声による会話内容を受け付けて表示する画面とを区別して含み、
前記戦闘待機ページは、いずれかのチームに所属するプレイヤのゲーム端末に対し、他のチームにおける前記会話内容を表示する画面を非表示とする
請求項1から3のいずれか1項に記載のゲーム情報処理方法。
【請求項5】
前記戦闘待機ページは、
チーム内で前記仮想空間におけるマップを共有する画面を含み、
前記コンピュータは、
各プレイヤの前記マップ上への描画を受け付け、
前記マップ上への描画結果を前記チームに所属するプレイヤのゲーム端末のみに向けて出力する
請求項4に記載のゲーム情報処理方法。
【請求項6】
前記コンピュータは、
前記戦闘の開始前に、該戦闘に参加予約を募集してきたプレイヤのゲーム端末が前記戦闘待機ページに対してアクティブであるか否かを判断し、
アクティブでないゲーム端末からのプレイヤの応募をキャンセルし、
前記所定数のプレイヤのゲーム端末からの応募がある条件が満たされるまで、新たに募集を受け付ける
請求項4に記載のゲーム情報処理方法。
【請求項7】
前記コンピュータは、
前記戦闘待機ページにて、前記戦闘への参加条件に関するプレイヤのゲーム端末からの投票を受け付け、
投票結果に応じて参加条件を、前記募集条件に対して追加又は変更する
請求項3に記載のゲーム情報処理方法。
【請求項8】
所定数のプレイヤの参加登録が受け付けられると、前記所定数のプレイヤそれぞれに対応するキャラクタが仮想空間上で、前記プレイヤの操作に応じて戦闘を開始可能なゲームのゲームサーバに通信接続可能なコンピュータに、
前記ゲーム上の戦闘への参加予約を募集する戦闘待機ページの作成を、Webページ上で受け付け、
作成された戦闘待機ページにて、前記戦闘への参加予約の応募を受け付け、
前記応募の数が前記所定数に達することを含む条件を満たした場合、前記応募をしたプレイヤのゲーム端末に対し、前記ゲームに対する参加登録用のコードを前記戦闘待機ページで出力する
処理を実行させるコンピュータプログラム。
【請求項9】
所定数のプレイヤの参加登録が受け付けられると、前記所定数のプレイヤそれぞれに対応するキャラクタが仮想空間上で、前記プレイヤの操作に応じて戦闘を開始可能なゲームのゲームサーバに通信接続可能な複数のゲーム端末と、
前記ゲームサーバ及び前記複数のゲーム端末と通信可能な情報処理装置と
を含み、
前記情報処理装置は、
前記ゲーム上の戦闘への参加予約を募集する戦闘待機ページの作成を、前記複数のゲーム端末のうちの任意のゲーム端末からWebページを介して受け付け、
作成された戦闘待機ページを、前記複数のゲーム端末へ送信し、
前記戦闘待機ページを介して前記戦闘への参加予約の応募を前記複数のゲーム端末から受け付け、
前記応募の数が前記所定数に達することを含む条件を満たした場合、前記応募をしたゲーム端末に対し、前記ゲームに対する参加登録用のコードを前記戦闘待機ページで出力する
情報処理システム。
発明の詳細な説明
【技術分野】
【0001】
本発明は、マルチプレイヤ型のオンラインゲームを支援するゲーム情報処理方法、コンピュータプログラム及び情報処理システムに関する。
続きを表示(約 1,800 文字)
【背景技術】
【0002】
ゲーム機がインターネットに接続可能となり、またそのインターネットを介した通信の速度や同期処理の技術が向上したことにより、複数のプレイヤが、同時に同一のゲームコンテンツを共有できるマルチプレイヤ型のオンラインゲームが普及している(特許文献1等)。
【0003】
マルチプレイヤ型のオンラインゲームの中には、複数のプレイヤが一人称視点にてゲーム上で武器を携え、他のプレイヤと戦う所謂FPS(First-Person Shooter)ゲームを大規模に実施するMMOFPS(Massively Multiplayer Online First-Person Shooter )ゲームがある。類似するものとして、視点をずらしたTPS(Third-Person Shooter)ゲームがある。
【先行技術文献】
【特許文献】
【0004】
特開2018-187401号公報
【発明の概要】
【発明が解決しようとする課題】
【0005】
MMOFPS/TPSゲーム(以下、戦闘ゲームという)は、例えば数十から百数十人単位で1つのバトルフィールド内で1人、又は最後の1チームになるまでバトルを続ける所謂バトルロイヤル形式が広く遊ばれている。このようなバトルロイヤル形式の戦闘ゲームでは、プレイヤはそれぞれ自身の端末からゲームサーバへ参加をリクエストすると、ゲームサーバが同様にリクエストしているプレイヤを例えば60人抽出し、それらを1つのバトルフィールドに割り当ててバトルを開始させる。つまり、プレイヤは、バトルロイヤルの他の参加者が誰であるかを決めることはできない。プレイヤは、フレンドである他のプレイヤとチームを組んで60人の中で共にバトルに参加することはできるが、不正等を防止するため、当該他のプレイヤと敵として意図的に同一バトルに参加することは困難な仕組みが採用されている。
【0006】
これに対し、この種の戦闘ゲームのバトルロイヤル形式では、ゲームサーバへプレイヤが各自参加をリクエストし、ゲームサーバ側で他の参加表明者をマッチングするのではなく、事前に所定人数のプレイヤが集まって同一のバトルフィールドで戦うことが可能なモードが用意されている場合がある。つまり、事前に互いの存在を認知しているプレイヤ同士が、敵同士として戦えるモードである。しかしながら、このようなモードでは、大会など、所定人数(数十から百数十人単位)のプレイヤを集めることができる場合や、著名なプレイヤがSNS(Social Network Service)等を介して集めることができる場合を除き、各々の一般プレイヤが、所定人数集めることは非常に困難である。
【0007】
本発明は、戦闘ゲームのプレイヤ募集を実現するゲーム情報処理方法、コンピュータプログラム及び情報処理システムを提供することを目的とする。
【課題を解決するための手段】
【0008】
本開示の一実施形態のゲーム情報処理方法は、所定数のプレイヤの参加登録が受け付けられると、前記所定数のプレイヤそれぞれに対応するキャラクタが仮想空間上で、前記プレイヤの操作に応じて戦闘を開始可能なゲームに対し、コンピュータが、前記ゲーム上の戦闘への参加予約を募集する戦闘待機ページの作成を、Webページ上で受け付け、作成された戦闘待機ページにて、前記戦闘への参加予約の応募を受け付け、前記応募の数が前記所定数に達することを含む条件を満たした場合、前記応募をしたプレイヤのゲーム端末に対し、前記ゲームに対する参加登録用のコードを前記戦闘待機ページから出力する。
【0009】
本開示のゲーム情報処理方法、コンピュータプログラム及び情報処理システムでは、ゲームサーバを介さずに、所定数のプレイヤが揃うまでWebページ上で募集し、プレイヤ同士で事前にコミュニケーションを実施してから戦闘ゲームの開始を実行可能となる。
【発明の効果】
【0010】
本開示によれば、戦闘ゲームにて、プレイヤが事前に集合し、コミュニケーションをとってからバトルを実施することが可能となる。
【図面の簡単な説明】
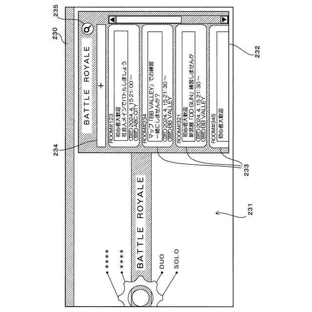
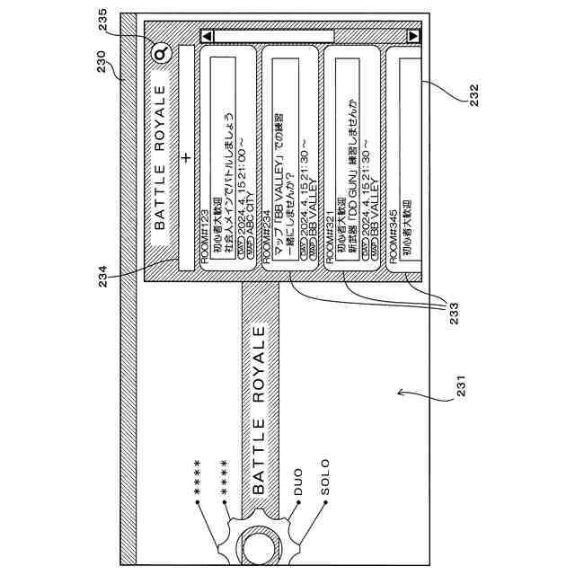
(【0011】以降は省略されています)
この特許をJ-PlatPat(特許庁公式サイト)で参照する
関連特許
フェンリル株式会社
ゲーム情報処理方法、コンピュータプログラム及び情報処理システム
6日前
個人
玩具
3か月前
個人
玩具
1か月前
個人
自走玩具
27日前
個人
盤上遊戯具
8か月前
個人
フィギュア
8か月前
個人
ゲーム玩具
5か月前
個人
運動補助具
2か月前
個人
玩具
8か月前
個人
打撃練習用具
7日前
株式会社三共
遊技機
6か月前
株式会社三共
遊技機
6か月前
株式会社三共
遊技機
6か月前
株式会社三共
遊技機
6か月前
株式会社三共
遊技機
6か月前
株式会社三共
遊技機
7か月前
株式会社三共
遊技機
6か月前
株式会社三共
遊技機
6か月前
株式会社三共
遊技機
6か月前
株式会社三共
遊技機
6か月前
株式会社三共
遊技機
6か月前
株式会社三共
遊技機
6か月前
株式会社三共
遊技機
6か月前
株式会社三共
遊技機
6か月前
株式会社三共
遊技機
6か月前
株式会社三共
遊技機
6か月前
株式会社三共
遊技機
6か月前
株式会社三共
遊技機
6か月前
株式会社三共
遊技機
6か月前
株式会社三共
遊技機
6か月前
株式会社三共
遊技機
6か月前
株式会社三共
遊技機
6か月前
株式会社三共
遊技機
6か月前
株式会社三共
遊技機
6か月前
株式会社三共
遊技機
6か月前
株式会社三共
遊技機
6か月前
続きを見る
他の特許を見る