TOP
|
特許
|
意匠
|
商標
特許ウォッチ
Twitter
他の特許を見る
公開番号
2025171792
公報種別
公開特許公報(A)
公開日
2025-11-20
出願番号
2024077463
出願日
2024-05-10
発明の名称
武道用面
出願人
株式会社侍
代理人
個人
主分類
A63B
71/10 20060101AFI20251113BHJP(スポーツ;ゲーム;娯楽)
要約
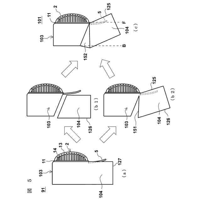
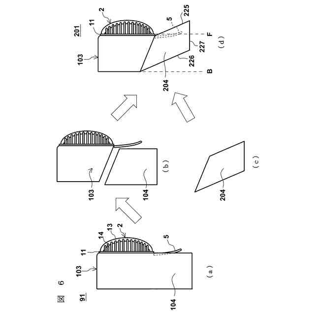
【課題】面布団の面垂れと突き垂との間や、面垂と肩との間に隙間が生じにくい武道用面を提供する。
【解決手段】武道用面1は、環状の台輪11に縦金13及び複数の横金14が架け渡されている面金2と、面金2の下部を除く周縁部に取り付けられた面布団3と、面金2の下部に取り付けられた突き垂5とを備え、面布団3の長手方向の端部27側が面金2から下方に垂れて面垂4を構成しているものであって、面垂4を真下に垂らした状態で面金2を真横から見たときに、面垂4の前縁25が、台輪11の前部の延長線Fよりも少なくとも一部で前方側に出ている形状に形成されている。
【選択図】図1
特許請求の範囲
【請求項1】
環状の台輪に縦金及び複数の横金が架け渡されている面金と、前記面金の下部を除く周縁部に取り付けられた面布団と、前記面金の下部に取り付けられた突き垂とを備え、前記面布団の長手方向の端部側が前記面金から下方に垂れて面垂を構成している武道用面であって、
前記面垂を真下に垂らした状態で前記面金を真横から見たときに、前記面垂の前縁が、前記台輪の前部の延長線よりも少なくとも一部で前方側に出ている形状に形成されていることを特徴とする武道用面。
続きを表示(約 1,100 文字)
【請求項2】
前記面垂を真下に垂らした状態で前記面金を真横から見たときに、前記面垂の前縁は、前記突き垂の少なくとも一部が前記面垂によって遮蔽される形状に形成されていることを特徴とする請求項1に記載の武道用面。
【請求項3】
前記面垂の前縁は、使用者の装着時に前記突き垂に接触可能になる形状に形成されていることを特徴とする請求項1に記載の武道用面。
【請求項4】
前記面垂を真下に垂らした状態で前記面金を真横から見たときに、前記面垂の前縁は、前記面垂の端部の方向に向かうにしたがって、前記台輪の前部の延長線から前方側に出る長さが長くなる形状に形成されていることを特徴とする請求項1に記載の武道用面。
【請求項5】
前記面垂を真下に垂らした状態で前記面金を真横から見たときに、前記面垂の後縁は、前記面布団の後縁の延長線よりも少なくとも一部で前方側に出る形状に形成されていることを特徴とする請求項1に記載の武道用面。
【請求項6】
前記面垂を真下に垂らした状態で前記面金を真横から見たときに、前記面垂の前縁と、前記面垂の後縁とが平行になる形状に形成されていることを特徴とする請求項1に記載の武道用面。
【請求項7】
前記面垂は、前記突き垂に少なくとも一部が繋がれていることを特徴とする請求項1に記載の武道用面。
【請求項8】
環状の台輪に縦金及び複数の横金が架け渡されている面金と、前記面金の下部を除く周縁部に取り付けられた長方形状の面布団と、前記面金の下部に取り付けられた突き垂とを備え、前記面布団の長手方向の端部側が前記面金から下方に垂れて面垂を構成している武道用面を用いて、
前記面布団から前記面垂を切り離し、又は、前記面布団から前記面垂を動かせるように前記面布団の後ろ側から切り込みを入れ、
前記面垂を真下に垂らした状態で前記面金を真横から見たときに、前記面垂の前縁が、前記台輪の前部の延長線よりも少なくとも一部で前方側に出ているようにして、前記面垂と前記面布団とを接続部材で継ぐことを特徴とする武道用面の製造方法。
【請求項9】
前記面垂を真下に垂らした状態で前記面金を真横から見たときに、前記突き垂の少なくとも一部が前記面垂によって遮蔽されるようにして、前記面垂と前記面布団とを前記接続部材で継ぐことを特徴とする請求項8に記載の武道用面の製造方法。
【請求項10】
使用者の装着時に前記面垂の前縁が前記突き垂に接触可能になるように、前記面垂と前記面布団とを前記接続部材で継ぐことを特徴とする請求項8又は9に記載の武道用面の製造方法。
(【請求項11】以降は省略されています)
発明の詳細な説明
【技術分野】
【0001】
本発明は、剣道、薙刀又は銃剣道である武道を行う際に頭部に着用する武道用面に関する。
本発明の武道用面は、現代の競技等を行う上記の三種類の武道の面に限る。なお、本発明の武道用面は、古武道や古武術に用いられる日本の鎧兜等、または西洋のスポーツであるフェンシングのマスクや西洋の甲冑の兜などではない。
続きを表示(約 1,400 文字)
【背景技術】
【0002】
剣道などに用いられる武道用面は、例えば特許文献1に記載されているように、面金と、長尺状をなし、長手方向の両端部がそれぞれ面垂れを構成すると共に、両面垂れ間に位置する中間部が面金の周縁に沿うように設けられた面布団と、面金の下部に設けられた突き垂とを備えている。武道用面の着用者は、面金によって顔面が保護され、面布団の中間部によって頭部が保護され、面布団の両面垂によって両肩が保護され、突き垂によって首、喉が保護される。
【0003】
武道用面を着用すると、面布団の両面垂れが着用者の肩で押し広げられて外側に湾曲する。そのため、面布団の両面垂れと突き垂との間や、面垂と肩との間に隙間が生じやすく、この隙間に竹刀等の攻撃用武具が入り込んで危険性を伴うという問題があった。特許文献1では、両面垂を連結する連結機構を備えているが、それでも面垂と突き垂との間に隙間が生じている。
【先行技術文献】
【特許文献】
【0004】
特開2020-199151号公報
【発明の概要】
【発明が解決しようとする課題】
【0005】
本発明は、前記の課題を解決するためになされたもので、面布団の面垂れと突き垂との間や、面垂と使用者の肩との間に隙間が生じにくい武道用面を提供することを目的とする。
【課題を解決するための手段】
【0006】
前記の目的を達成するためになされた、特許請求の範囲の請求項1に記載された武道用面は、環状の台輪に縦金及び複数の横金が架け渡されている面金と、前記面金の下部を除く周縁部に取り付けられた面布団と、前記面金の下部に取り付けられた突き垂とを備え、前記面布団の長手方向の端部側が前記面金から下方に垂れて面垂を構成している武道用面であって、前記面垂を真下に垂らした状態で前記面金を真横から見たときに、前記面垂の前縁が、前記台輪の前部の延長線よりも少なくとも一部で前方側に出ている形状に形成されていることを特徴とする。
【0007】
請求項2に記載の武道用面は、請求項1に記載のものであり、前記面垂を真下に垂らした状態で前記面金を真横から見たときに、前記面垂の前縁は、前記突き垂の少なくとも一部が前記面垂によって遮蔽される形状に形成されていることを特徴とする。
【0008】
請求項3に記載の武道用面は、請求項1に記載のものであり、前記面垂の前縁は、使用者の装着時に前記突き垂に接触可能になる形状に形成されていることを特徴とする。
【0009】
請求項4に記載の武道用面は、請求項1に記載のものであり、前記面垂を真下に垂らした状態で前記面金を真横から見たときに、前記面垂の前縁は、前記面垂の端部の方向に向かうにしたがって、前記台輪の前部の延長線から前方側に出る長さが長くなる形状に形成されていることを特徴とする。
【0010】
請求項5に記載の武道用面は、請求項1に記載のものであり、前記面垂を真下に垂らした状態で前記面金を真横から見たときに、前記面垂の後縁は、前記面布団の後縁の延長線よりも少なくとも一部で前方側に出る形状に形成されていることを特徴とする。
(【0011】以降は省略されています)
この特許をJ-PlatPat(特許庁公式サイト)で参照する
関連特許
株式会社侍
武道用面
4日前
個人
玩具
5か月前
個人
玩具
2か月前
個人
自走玩具
2か月前
個人
運動補助具
4か月前
個人
小型卓球台
27日前
個人
ゲーム玩具
6か月前
個人
パズル
28日前
個人
打撃練習用具
1か月前
株式会社三共
遊技機
2か月前
株式会社三共
遊技機
2か月前
株式会社三共
遊技機
2か月前
株式会社三共
遊技機
2か月前
株式会社三共
遊技機
2か月前
株式会社三共
遊技機
2か月前
株式会社三共
遊技機
2か月前
株式会社三共
遊技機
2か月前
株式会社三共
遊技機
2か月前
株式会社三共
遊技機
2か月前
株式会社三共
遊技機
2か月前
株式会社三共
遊技機
2か月前
株式会社三共
遊技機
2か月前
株式会社三共
遊技機
2か月前
株式会社三共
遊技機
2か月前
株式会社三共
遊技機
2か月前
株式会社三共
遊技機
2か月前
株式会社三共
遊技機
2か月前
株式会社三共
遊技機
5か月前
株式会社三共
遊技機
2か月前
株式会社三共
遊技機
2か月前
株式会社三共
遊技機
2か月前
株式会社三共
遊技機
2か月前
株式会社三共
遊技機
2か月前
株式会社三共
遊技機
2か月前
株式会社三共
遊技機
2か月前
株式会社三共
遊技機
2か月前
続きを見る
他の特許を見る