TOP
|
特許
|
意匠
|
商標
特許ウォッチ
Twitter
他の特許を見る
10個以上の画像は省略されています。
公開番号
2025132959
公報種別
公開特許公報(A)
公開日
2025-09-10
出願番号
2024030861
出願日
2024-02-29
発明の名称
遊技機
出願人
株式会社藤商事
代理人
個人
主分類
A63F
7/02 20060101AFI20250903BHJP(スポーツ;ゲーム;娯楽)
要約
【課題】制御負担を軽減しうる管理遊技機を提供する
【解決手段】電磁的に管理される持ち球を外部装置に転送するための計数処理を実行可能に構成され、発射手段により発射された遊技球を循環的に使用して遊技を実行可能に構成された遊技機であって、発射手段の発射動作に伴い、持ち球数に関する減算処理を実行する第1持ち球数減算処理と、計数処理の実行に伴い、持ち球数に関する減算処理を実行する第2持ち球数減算処理とを実行可能に構成され、第1持ち球数減算処理により持ち球数が0となった場合には所定報知を実行せず、第2持ち球数減算処理により持ち球数が0となった場合には所定報知を実行するように構成した。
【選択図】図151
特許請求の範囲
【請求項1】
電磁的に管理される持ち球を外部装置に転送するための計数処理を実行可能に構成され、発射手段により発射された遊技球を循環的に使用して遊技を実行可能に構成された遊技機であって、
前記発射手段の発射動作に伴い、持ち球数に関する減算処理を実行する第1持ち球数減算処理と、
前記計数処理の実行に伴い、持ち球数に関する減算処理を実行する第2持ち球数減算処理とを実行可能に構成され、
前記第1持ち球数減算処理により持ち球数が0となった場合には所定報知を実行せず、前記第2持ち球数減算処理により持ち球数が0となった場合には前記所定報知を実行する、
ことを特徴とする遊技機。
発明の詳細な説明
【技術分野】
【0001】
本発明は、遊技機に関する。
続きを表示(約 5,000 文字)
【背景技術】
【0002】
従来、遊技者が遊技に用いる遊技球(持ち球数)を電磁的に管理し、内部に封入された遊技球を循環的に使用して遊技を行い、遊技者に遊技球を直接払い出すことを不要とした、いわゆる「管理遊技機」が知られている(たとえば、下記特許文献1)。そのため、管理遊技機では、遊技者が遊技球に触れることなく遊技に興じることが可能な構成となっている。
【先行技術文献】
【特許文献】
【0003】
特開2013-106760号公報
【発明の概要】
【発明が解決しようとする課題】
【0004】
上記管理遊技機は、遊技機内部に封入された遊技球を用いて遊技を行うため、遊技者が遊技に用いるための遊技球数(持ち球数)が電磁的方法で記録され管理される。斯様な管理遊技機では、遊技動作を統括的に司る主制御部と、遊技球貸出装置に対する貸出要求や持ち球数を管理する副制御部とを中心に構成され、主制御部側は、図柄変動表示ゲームの制御や各入賞口への入賞の監視などを行う。そのため、主制御側と枠制御部側との間で、制御負担を無闇に増加させることなく、円滑な情報のやり取りをするとともに、遊技に重要な持ち球の管理を行うための工夫が望まれる。
【0005】
本発明は、上記事情に鑑みてなされたものであり、制御負担を軽減しうる遊技機を提供することを目的とする。
【課題を解決するための手段】
【0006】
本発明の上記目的は、下記の手段によって達成される。
(1)電磁的に管理される持ち球を外部装置に転送するための計数処理を実行可能に構成され、発射手段により発射された遊技球を循環的に使用して遊技を実行可能に構成された遊技機であって、
前記発射手段の発射動作に伴い、持ち球数に関する減算処理を実行する第1持ち球数減算処理と、
前記計数処理の実行に伴い、持ち球数に関する減算処理を実行する第2持ち球数減算処理とを実行可能に構成され、
前記第1持ち球数減算処理により持ち球数が0となった場合には所定報知を実行せず、前記第2持ち球数減算処理により持ち球数が0となった場合には前記所定報知を実行する、
ことを特徴とする遊技機。
【発明の効果】
【0007】
本発明によれば、制御負担を軽減しうる管理遊技機を提供することができる。
【図面の簡単な説明】
【0008】
本発明の一実施形態(第1実施形態)に係る遊技機の外観図である。
遊技盤と演出ボタンを示す図である。
制御装置の概略を示すブロック図である。
当り種別の説明に供する説明図である。
V当り種別の説明に供する説明図である。
ハズレ種別、特殊時短種別の説明に供する説明図である。
微時短状態の説明に供する説明図である。
液晶表示装置の画面表示の説明に供する説明図である。
先読み予告演出の説明に供する説明図である。
遊技フロー(遊技状態遷移)を示す図である。
微時短状態に係る遊技状態遷移の説明に供する説明図である。
主制御側メイン処理の前半部を示すフローチャートである。
主制御側メイン処理の後半部を示すフローチャートである。
主制御側タイマ割込処理を示すフローチャートである。
図9中の特別図柄管理処理を示すフローチャートである。
図10中の特図1始動口チェック処理を示すフローチャートである。
図10中の特別図柄変動開始処理を示すフローチャートである。
図10中の特別図柄変動中処理を示すフローチャートである。
図10中の特別図柄確認時間中処理の前半部を示すフローチャートである。
図10中の特別図柄確認時間中処理の後半部を示すフローチャートである。
図9中の特別電動役物管理処理を示すフローチャートである。
図15中の小当り処理を示すフローチャートである。
図16中の大入賞口入賞数確認処理を示すフローチャートである。
図17中の特別電動役物動作ステータス別処理を示すフローチャートである。
図9中のタイマ割込内領域外処理(性能表示モニタ処理)を示すフローチャートである。
図19中の領域外RAMクリアチェック処理を示すフローチャートである。
図19中の動作確認処理を示すフローチャートである。
図19中の表示データ更新処理を示すフローチャートである。
演出制御側メイン処理を示すフローチャートである。
演出制御側タイマ割込処理を示すフローチャートである。
変動パターン振分指定番号表を示す図である
ハズレ変動パターン振分テーブル(通常中)を示す図である。
ハズレ変動パターン振分テーブル(微時短中)を示す図である。
ハズレ変動パターン振分テーブル(時短中)を示す図である。
(a)識別表示部LEDデータテーブル、(b)10進数値LEDデータテーブルを示す図である。
主制御基板における記憶領域の説明に供する説明図である。
領域内エラー情報、領域外エラー情報の説明に供する説明図である。
本発明の別実施形態(第2実施形態)に係る制御装置の概略構成を示すブロック図である。
第2実施形態に係る主制御側メイン処理の前半部を示すフローチャートである。
第2実施形態に係る主制御側メイン処理の後半部を示すフローチャートである。
第2実施形態の玉抜き状態監視構成に係る主制御側メイン処理(後半部)を示すフローチャートである。
図34中の主制御側メイン処理の一部(S059、S065、S037のお処理)のソースコードを示す図である。
第2実施形態に係る4msタイマ割込処理を示すフローチャートである。
図36中の入力管理処理を示すフローチャートである。
図37中の入賞イベント記憶処理を示すフローチャートである。
他の処理の入賞イベント記憶処理の一例を示すフローチャートである。
図38A中のリングバッファ格納処理を示すフローチャートである。
第2実施形態に係る108msタイマ割込処理を示すフローチャートである。
図40中の電文送信処理の前半部を示すフローチャートである。
図40中の電文送信処理の後半部を示すフローチャートである。
図41Aおよび図41B中のシリアル出力処理を示すフローチャートである。
図41B中のリングバッファ送信処理の前半部を示すフローチャートである。
図41B中のリングバッファ送信処理の後半部を示すフローチャートである。
本発明の別実施形態(第3実施形態)に係る主制御側メイン処理の後半部を示すフローチャートである。
第3実施形態に係る54msタイマ割込処理を示すフローチャートである。
図45中の電文送信処理の前半部を示すフローチャートである。
図45中の電文送信処理の後半部を示すフローチャートである。
図45中の電文受信処理を示すフローチャートである。
遊技機設置情報通知電文と、遊技機設置情報応答電文の説明に供する説明図である。
遊技機情報通知電文の説明に供する説明図である。
遊技機情報通知電文の遊技情報(2バイト構成)に係る種別情報(上位バイト側)の説明に供する説明図である。
遊技機情報通知電文の遊技情報(2バイト構成)に係るカウント情報(下位バイト側)の説明と、遊技情報(種別情報+カウント情報)の一例を示す図である。
遊技情報(種別情報+カウント情報)の一例を示す図である。
遊技情報(種別情報+カウント情報)の一例を示す図である。
遊技情報(種別情報+カウント情報)の一例を示す図である。
遊技情報(種別情報+カウント情報)の一例を示す図である。
枠側性能情報モニタ処理を示すフローチャートである。
性能情報状態通知に係るカウント情報の使用例を示す図である。
遊技機情報応答電文の説明に供する説明図である。
本発明に係るリングバッファとシフトバッファの説明に供する説明図である。
図37中の入賞イベント記憶処理(図38Aおよび図38B)に用いるスイッチカウントテーブルを示す図である。
図43B中のリングバッファ送信処理で利用される遊技情報(種別情報+カウント情報)テーブルを示す図である。
球表示処理を示すフローチャートである。
遊技球数表示器表示変換テーブルを示す図である。
本発明の別実施形態(第4実施形態)の説明に供するタイムチャートであり、(イ)は従来の判定方法の場合を、(ロ)は第4実施形態の判定方法の場合を示す図である。
大当りの種類の説明に供する説明図である。
本発明の別実施形態(第5実施形態)の大当り種別の具体例を示す図である。
本発明の別実施形態(第5実施形態)の大当り種別の具体例を示す図である。
モーニング状態に関連する演出態様(チャンス演出)の一例を示す図である。
モーニング状態に関連する演出態様(チャンス演出)の一例を示す図である。
モーニング状態に関連する演出態様(チャンス煽り演出)の一例を示す図である。
左打ち指示演出の現出例の説明に供する説明図である。
図23中のコマンド解析処理中の抽選用コマンド解析処理を示すフローチャートである。
同コマンド解析処理中のコマンド受信時の抽選処理を示すフローチャートである。
図66中の変動開始時抽選処理を示すフローチャートである。
図67中の抽選開始時変数初期化処理を示すフローチャートである。
図67中の制御パーツ作成処理(変動開始時)を示すフローチャートである。
図67中の抽選開始処理を示すフローチャートである。
図70中の抽選実行処理の前半部を示すフローチャートである。
図70中の抽選実行処理の後半部を示すフローチャートである。
図70中の抽選実行処理の後半部の変形例を示すフローチャートである。
図70中の抽選実行処理の後半部の他の変形例を示すフローチャートである。
図71B中抽選実行処理中の抽選フラグパーツ設定処理を示すフローチャートである。
図71B中抽選実行処理中の抽選予約設定処理を示すフローチャートである。
図70中の抽選テーブル選択処理を示すフローチャートである。
図67中の抽選終了変数初期化処理を示すフローチャートである。
オフセットパーツ記憶領域の一部を示す図である。
オフセットパーツ記憶領域の一部を示す図である。
オフセットパーツ記憶領域の一部を示す図である。
オフセットパーツ記憶領域の一部を示す図である。
【発明を実施するための形態】
【0009】
[第1実施形態]
以下、図面を参照しながら、本発明に係る遊技機の好ましい実施形態について詳細に説明する。なお、以下に述べる実施形態では、本発明に係る遊技機として、パチンコ遊技機を例にとって説明する。
【0010】
<1.構成の概要:図1および図2>
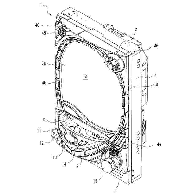
図1および図2を参照して、本発明の一実施形態(第1実施形態)に係るパチンコ遊技機の構成の概要を説明する。図1は本発明の一実施形態に係るパチンコ遊技機の外観を示す正面側の斜視図を、図2は遊技盤の正面側を示した図である。
(【0011】以降は省略されています)
この特許をJ-PlatPat(特許庁公式サイト)で参照する
関連特許
株式会社藤商事
遊技機
1か月前
株式会社藤商事
遊技機
1か月前
株式会社藤商事
遊技機
1か月前
株式会社藤商事
遊技機
1か月前
株式会社藤商事
遊技機
1か月前
株式会社藤商事
遊技機
1か月前
株式会社藤商事
遊技機
1か月前
株式会社藤商事
遊技機
1か月前
株式会社藤商事
遊技機
1か月前
株式会社藤商事
遊技機
1か月前
株式会社藤商事
遊技機
1か月前
株式会社藤商事
遊技機
1か月前
株式会社藤商事
遊技機
1か月前
株式会社藤商事
遊技機
1か月前
株式会社藤商事
遊技機
1か月前
株式会社藤商事
遊技機
1か月前
株式会社藤商事
遊技機
1か月前
株式会社藤商事
遊技機
2か月前
株式会社藤商事
遊技機
1か月前
株式会社藤商事
遊技機
1か月前
株式会社藤商事
遊技機
1か月前
株式会社藤商事
遊技機
1か月前
株式会社藤商事
遊技機
1か月前
株式会社藤商事
遊技機
1か月前
株式会社藤商事
遊技機
1か月前
株式会社藤商事
遊技機
1か月前
株式会社藤商事
遊技機
1か月前
株式会社藤商事
遊技機
1か月前
株式会社藤商事
遊技機
1か月前
株式会社藤商事
遊技機
1か月前
株式会社藤商事
遊技機
1か月前
株式会社藤商事
遊技機
1か月前
株式会社藤商事
遊技機
1か月前
株式会社藤商事
遊技機
1か月前
株式会社藤商事
遊技機
1か月前
株式会社藤商事
遊技機
1か月前
続きを見る
他の特許を見る