TOP
|
特許
|
意匠
|
商標
特許ウォッチ
Twitter
他の特許を見る
10個以上の画像は省略されています。
公開番号
2025165088
公報種別
公開特許公報(A)
公開日
2025-11-04
出願番号
2024068967
出願日
2024-04-22
発明の名称
遊技機
出願人
株式会社藤商事
代理人
弁理士法人テクノピア国際特許事務所
主分類
A63F
7/02 20060101AFI20251027BHJP(スポーツ;ゲーム;娯楽)
要約
【課題】基板構成の効率化を促進する。
【解決手段】遊技機は、第1の位置に設けられた第1制御部と、第2の位置に設けられた第2制御部と、第1制御部と第2制御部を接続する伝送線路とを備え、発光手段を発光させるとともに、発光手段とは異なる演出手段を駆動させることにより所定の演出を実行可能であり、伝送線路は、第1コネクタを介して、発光手段を発光させるための発光制御信号と、発光駆動用の第1電源電圧と、を伝送する第1伝送手段と、第1コネクタとは別の第2コネクタを介して、演出手段を制御するための演出制御信号と、信号処理用の第2電源電圧と、を伝送する第2伝送手段とを含み、第2コネクタの方が、第1コネクタよりも、ピン数が多く、ピンのピッチが狭いものとされている。
【選択図】図15
特許請求の範囲
【請求項1】
第1の位置に設けられた第1制御部と、
第2の位置に設けられた第2制御部と、
前記第1制御部と前記第2制御部を接続する伝送線路とを備え、
発光手段を発光させるとともに、発光手段とは異なる演出手段を駆動させることにより所定の演出を実行可能であり、
前記伝送線路は、
第1コネクタを介して、前記発光手段を発光させるための発光制御信号と、発光駆動用の第1電源電圧と、を伝送する第1伝送手段と、
前記第1コネクタとは別の第2コネクタを介して、前記演出手段を制御するための演出制御信号と、信号処理用の第2電源電圧と、を伝送する第2伝送手段とを含み、
前記第2コネクタの方が、前記第1コネクタよりも、ピン数が多く、ピンのピッチが狭いものとされている
遊技機。
発明の詳細な説明
【技術分野】
【0001】
本発明は遊技機に関し、遊技機の性能向上に寄与する技術に関する。
続きを表示(約 3,200 文字)
【背景技術】
【0002】
弾球遊技機や回動遊技機においては液晶表示画面、スピーカ、LED、役物、振動体、ブロワー等を用いた各種の演出を行って遊技を盛り上げる工夫をしている。
下記特許文献では、各種演出動作の制御のための技術が開示されている。
【先行技術文献】
【特許文献】
【0003】
特開2014-64693号公報
【発明の概要】
【発明が解決しようとする課題】
【0004】
このような遊技機では、多様や複雑な演出が行われることに応じて、各種演出デバイスの駆動のための基板の構成、配置が複雑化している。このため基板の小型化を含む基板構成の効率化、製造時やメンテナンス時の検査性、基板の適切な保護などが求められる。
本発明では、このような事情に応じて、遊技機の特に演出系の構成のために適した基板を提案する。
【課題を解決するための手段】
【0005】
本発明の遊技機は、第1の位置に設けられた第1制御部と、第2の位置に設けられた第2制御部と、前記第1制御部と前記第2制御部を接続する伝送線路とを備え、発光手段を発光させるとともに、発光手段とは異なる演出手段を駆動させることにより所定の演出を実行可能であり、前記伝送線路は、第1コネクタを介して、前記発光手段を発光させるための発光制御信号と、発光駆動用の第1電源電圧と、を伝送する第1伝送手段と、前記第1コネクタとは別の第2コネクタを介して、前記演出手段を制御するための演出制御信号と、信号処理用の第2電源電圧と、を伝送する第2伝送手段とを含み、前記第2コネクタの方が、前記第1コネクタよりも、ピン数が多く、ピンのピッチが狭いものとされている。
【発明の効果】
【0006】
本発明の遊技機の構成によれば、全体としての基板構成の効率化やコストダウンを実現できる。
【図面の簡単な説明】
【0007】
本発明に係る実施の形態の遊技機の外観を示す正面側の斜視図である。
実施の形態の遊技機の遊技盤の構成を示す図である。
実施の形態の遊技機の制御構成を示すブロック図である。
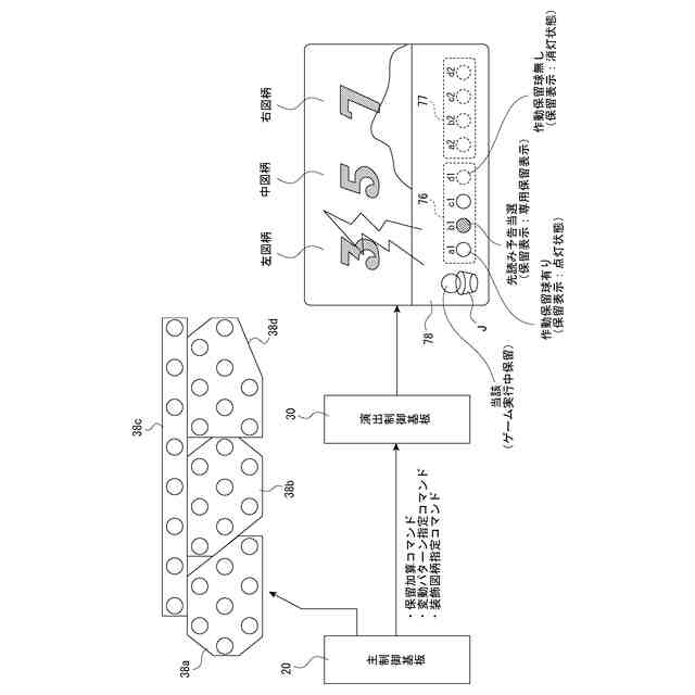
実施の形態の先読み予告演出の例の説明図である。
実施の形態の遊技機の扉を開いた状態の斜視図である。
実施の形態の遊技機の内枠を開いた状態の斜視図である。
実施の形態の遊技盤の裏側の基板配置の説明図である。
実施の形態の遊技機の扉及び内枠の基板配置の説明図である。
実施の形態の遊技機の内枠の基板配置の説明図である。
各種デバイスの配置の説明図である。
基板の接続構成のブロック図である。
電源基板の説明図である。
電源基板に実装される部品の説明図である。
演出制御基板とLED接続基板の間を1対のコネクタによる1つの伝送路で伝送する単系伝送例の説明図である。
演出制御基板とLED接続基板の間を2対のコネクタによる2つの伝送路で伝送する複系伝送例の説明図である。
複系伝送例における2列コネクタピンのアサインの説明図である。
LED接続基板の入力コネクタ周辺の構成のブロック図である。
LED接続基板のLED駆動部周辺の構成のブロック図である。
LED接続基板のモータ駆動部周辺の構成のブロック図である。
単系伝送例によるLED接続基板の入力コネクタ周辺の回路図である。
複系伝送例によるLED接続基板の入力コネクタ周辺の回路図である。
LED接続基板のLEDドライバ周辺の回路図である。
LED接続基板のLEDドライバ周辺の回路図である。
LED接続基板の出力側コネクタ周辺の回路図である。
LED接続基板の出力側コネクタ周辺の回路図である。
LED接続基板の電源系の一部の回路図である。
単系伝送例の場合のコネクタの説明図である。
複系伝送例の場合のコネクタの説明図である。
複系伝送例の場合のコネクタの説明図である。
複系伝送例におけるコネクタ配置例の説明図である。
複系伝送例におけるコネクタ配置例の説明図である。
複系伝送例におけるコネクタ配置例の説明図である。
複系伝送例におけるコネクタ配置例の説明図である。
複系伝送例における2列コネクタピンのアサインの説明図である。
LED接続基板の表面層のパターンの説明図である。
LED接続基板の裏面層のパターンの説明図である。
LED接続基板の第1内層のパターンの説明図である。
LED接続基板の第2内層のパターンの説明図である。
LED接続基板の表面層のパターンを一部拡大した説明図である。
テストポイントの例の説明図である。
LED接続基板の表面層のパターンを一部拡大した説明図である。
LED接続基板の裏面層のパターンを一部拡大した説明図である。
チップタイプのヒューズの説明図である。
電源電圧の直列供給路におけるヒューズ配置の説明図である。
電源電圧の直列供給路におけるヒューズ配置の説明図である。
【発明を実施するための形態】
【0008】
以下、添付図面を参照し、本発明に係る実施の形態を次の順序で説明する。
<1.遊技機の構造>
<2.遊技機の制御構成>
[2.1 主制御基板]
[2.2 演出制御基板]
<3.動作の概要説明>
[3.1 遊技状態]
[3.2 図柄変動表示ゲーム]
[3.3 当りについて]
[3.4 演出について]
<4.開閉構造と基板の配置>
<5.基板構成>
[5.1 各基板の接続状態]
[5.2 演出制御基板とLED接続基板の伝送路]
[5.3 LED接続基板]
<6.実施の形態の特徴的な構成及び効果>
<7.その他>
【0009】
<1.遊技機の構造>
図1及び図2を参照して、本発明に係る実施形態としてのパチンコ遊技機1の構造について説明する。図1はパチンコ遊技機1の外観を示す正面側の斜視図を、図2はパチンコ遊技機1が有する遊技盤3の正面側を示した図である。
なお、パチンコ遊技機1の場合、枠部材と、枠部材に対して開閉可能に設けられた扉部材と、枠部材に対して交換可能に取り付けられた交換可能部材を有する。
以下説明するパチンコ遊技機1では、枠部材に相当する構成としての内枠2、扉部材に相当する構成としての扉6、交換可能部材に相当する構成としての遊技盤3を有することになる。
【0010】
図1に示すパチンコ遊技機1(以下「遊技機1」と略称する場合がある)は、木製の外枠4の前面に額縁状の内枠2を開閉可能に取り付け、内枠2の裏面に取り付けた遊技盤収納フレーム(図示せず)内に遊技盤3(図2参照)を装着し、この遊技盤3の表面に形成した遊技領域3aを内枠2の開口部に臨ませた構成を有する。遊技盤3は内枠2に対して交換可能に着脱できるため交換可能部材と呼ぶことができる。
この遊技領域3aの前側には、透明ガラスを支持した扉6が設けられている。また遊技盤3の背面側には、遊技動作を制御するための各種制御基板(図3参照)が配設されている。
(【0011】以降は省略されています)
この特許をJ-PlatPat(特許庁公式サイト)で参照する
関連特許
株式会社藤商事
遊技機
24日前
株式会社藤商事
遊技機
2か月前
株式会社藤商事
遊技機
1か月前
株式会社藤商事
遊技機
1か月前
株式会社藤商事
遊技機
1か月前
株式会社藤商事
遊技機
1か月前
株式会社藤商事
遊技機
1か月前
株式会社藤商事
遊技機
1か月前
株式会社藤商事
遊技機
1か月前
株式会社藤商事
遊技機
1か月前
株式会社藤商事
遊技機
2か月前
株式会社藤商事
遊技機
2か月前
株式会社藤商事
遊技機
2か月前
株式会社藤商事
遊技機
1か月前
株式会社藤商事
遊技機
2か月前
株式会社藤商事
遊技機
2か月前
株式会社藤商事
遊技機
2か月前
株式会社藤商事
遊技機
2か月前
株式会社藤商事
遊技機
2か月前
株式会社藤商事
遊技機
2か月前
株式会社藤商事
遊技機
2か月前
株式会社藤商事
遊技機
2か月前
株式会社藤商事
遊技機
3か月前
株式会社藤商事
遊技機
3か月前
株式会社藤商事
遊技機
3か月前
株式会社藤商事
遊技機
1か月前
株式会社藤商事
遊技機
1か月前
株式会社藤商事
遊技機
24日前
株式会社藤商事
遊技機
24日前
株式会社藤商事
遊技機
24日前
株式会社藤商事
遊技機
24日前
株式会社藤商事
遊技機
24日前
株式会社藤商事
遊技機
24日前
株式会社藤商事
遊技機
24日前
株式会社藤商事
遊技機
24日前
株式会社藤商事
遊技機
24日前
続きを見る
他の特許を見る