TOP
|
特許
|
意匠
|
商標
特許ウォッチ
Twitter
他の特許を見る
10個以上の画像は省略されています。
公開番号
2025156958
公報種別
公開特許公報(A)
公開日
2025-10-15
出願番号
2024059742
出願日
2024-04-02
発明の名称
遊技機
出願人
株式会社藤商事
代理人
弁理士法人テクノピア国際特許事務所
主分類
A63F
7/02 20060101AFI20251007BHJP(スポーツ;ゲーム;娯楽)
要約
【課題】演出効果を向上する。
【解決手段】所定の画像を表示可能な表示手段と、遊技者に有利な特別遊技を行うか否かを判定する判定手段と、判定手段の判定結果に基づいて複数の装飾図柄を前記表示手段において変動表示させる装飾図柄変動手段と、複数の背景画像のいずれかを表示手段に表示し、背景画像を変更する際に変更演出を実行して表示手段に表示する背景画像を切り替える背景表示手段と、を備える。装飾図柄の変動表示は、開始動作、変動動作、減速動作、停止アクション動作及び待機動作を含み、変動動作では、開始動作、減速動作、停止アクション動作及び待機動作より装飾図柄の透過度が高い。変更演出は装飾図柄が変動動作に切り替えられる前に開始され、切り替えられた背景画像は装飾図柄が変動動作に切り替えられた後に表示される。
【選択図】図35
特許請求の範囲
【請求項1】
所定の画像を表示可能な表示手段と、
遊技者に有利な特別遊技を行うか否かを判定する判定手段と、
前記判定手段の判定結果に基づいて複数の装飾図柄を前記表示手段において変動表示させる装飾図柄変動手段と、
複数の背景画像のいずれかを前記表示手段に表示し、背景画像を変更する際に変更演出を実行して前記表示手段に表示する背景画像を切り替える背景表示手段と、
を備え、
前記装飾図柄の変動表示は、前記装飾図柄が変動表示を開始する開始動作、前記開始動作後に前記装飾図柄の変動表示が維持される変動動作、前記変動動作後に前記装飾図柄が減速する減速動作、前記減速動作後に前記装飾図柄が停止アクションを行う停止アクション動作、及び、前記停止アクション動作後に前記装飾図柄が待機状態となる待機動作を含み、
前記変動動作では、前記開始動作、前記減速動作、前記停止アクション動作及び前記待機動作より前記装飾図柄の透過度が高く、
前記変更演出は前記装飾図柄が前記変動動作に切り替えられる前に開始され、切り替えられた背景画像は前記装飾図柄が前記変動動作に切り替えられた後に表示される
遊技機。
発明の詳細な説明
【技術分野】
【0001】
本発明は遊技機に係るものである。
続きを表示(約 3,100 文字)
【背景技術】
【0002】
遊技機では、始動口へ遊技球が入球したことに基づいて大当りの当否抽選を行い、その抽選結果に基づいた様々な予告演出を行うことにより、遊技者に対して抽選結果を示唆又は報知し、大当りの当選期待感を与えるようになされている(例えば、特許文献1)。
【先行技術文献】
【特許文献】
【0003】
特許第6370455号公報
【発明の概要】
【発明が解決しようとする課題】
【0004】
遊技機においては、抽選結果を示唆又は報知する予告演出を行う際に、さらなる演出効果の向上が求められている。
【0005】
そこで、本発明では、演出効果を向上することを目的とする。
【課題を解決するための手段】
【0006】
本発明に係る遊技機は、所定の画像を表示可能な表示手段と、遊技者に有利な特別遊技を行うか否かを判定する判定手段と、前記判定手段の判定結果に基づいて複数の装飾図柄を前記表示手段において変動表示させる装飾図柄変動手段と、複数の背景画像のいずれかを前記表示手段に表示し、背景画像を変更する際に変更演出を実行して前記表示手段に表示する背景画像を切り替える背景表示手段と、を備え、前記装飾図柄の変動表示は、前記装飾図柄が変動表示を開始する開始動作、前記開始動作後に前記装飾図柄の変動表示が維持される変動動作、前記変動動作後に前記装飾図柄が減速する減速動作、前記減速動作後に前記装飾図柄が停止アクションを行う停止アクション動作、及び、前記停止アクション動作後に前記装飾図柄が待機状態となる待機動作を含み、前記変動動作では、前記開始動作、前記減速動作、前記停止アクション動作及び前記待機動作より前記装飾図柄の透過度が高く、前記変更演出は前記装飾図柄が前記変動動作に切り替えられる前に開始され、切り替えられた背景画像は前記装飾図柄が前記変動動作に切り替えられた後に表示される。
【発明の効果】
【0007】
本発明によれば、演出効果を向上することができる。
【図面の簡単な説明】
【0008】
遊技機の外観を示す斜視図である。
遊技機において前枠を開放したときの斜視図である。
遊技盤の正面図である。
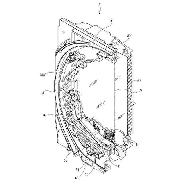
遊技盤の断面斜視図である。
メイン表示器及び第4図柄表示器を説明する図である。
遊技機の制御構成を示すブロック図である。
遊技機の制御構成を示すブロック図である。
変動演出の一例を説明する図である。
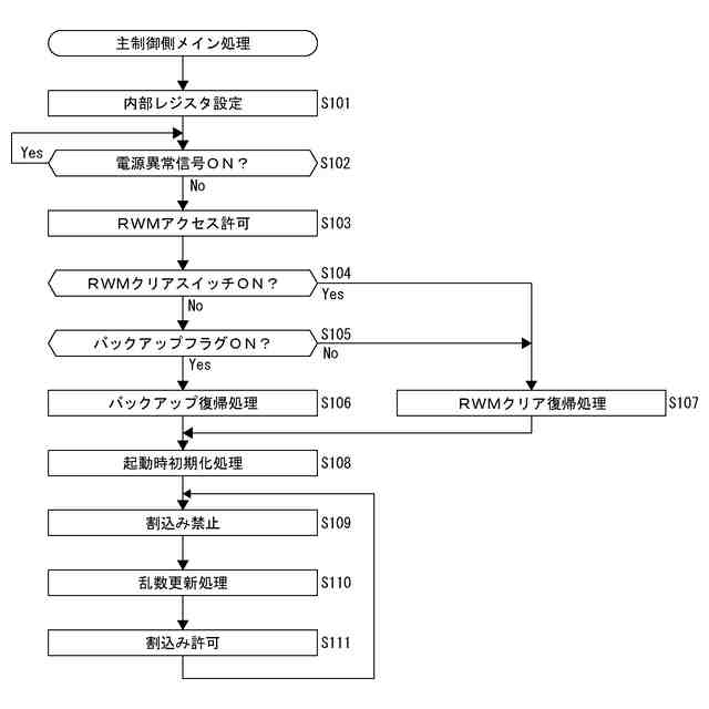
主制御側メイン処理を示したフローチャートである。
主制御側タイマ割込み処理を示したフローチャートである。
特別図柄管理処理を示したフローチャートである。
変動開始時の処理である特別図柄変動開始処理を示したフローチャートである。
大当り乱数判定処理を示したフローチャートである。
大当り判定テーブルの一例を示した図である。
特別停止図柄作成処理を示したフローチャートである。
図柄テーブルの一例を示した図である。
変動パターン作成処理を示したフローチャートである。
ハズレ変動パターン抽選テーブルの一例を示した図である。
大当り変動パターン抽選テーブルの一例を示した図である。
枠制御側メイン処理を示したフローチャートである。
枠制御側タイマ割込み処理を示したフローチャートである。
演出制御側メイン処理を示したフローチャートである。
演出制御側タイマ割込み処理を示したフローチャートである。
様々な変動パターンでの装飾図柄の変動表示を説明する図である。
、変動パターンが「通常13s」である場合の装飾図柄の変動表示を示した図である。
変動パターンが「リーチ変動」である場合の装飾図柄の変動表示を示した図である。
演出最適区間で行われる予告演出のタイムチャートを示した図である。
演出最適区間で行われる予告演出のタイムチャートを示した図である。
チャンスアップ演出の一例を示した図である。
第1ステップアップ演出の一例を示した図である。
第2ステップアップ演出の一例を示した図である。
第1ボタン演出の一例を示した図である。
第2ボタン演出の一例を示した図である。
背景画像の種類を示した図である。
第1背景変更演出の一例を示した図である。
第2背景変更演出の一例を示した図である。
予告演出決定テーブルを示した図である。
チャンスアップ演出決定テーブルを示した図である。
第1ステップアップ演出決定テーブルを示した図である。
第2ステップアップ演出決定テーブルを示した図である。
第1ボタン演出決定テーブルを示した図である。
第2ボタン演出決定テーブルを示した図である。
背景変更演出決定テーブルを示した図である。
変形例のチャンスアップ演出を示した図である。
変形例のチャンスアップ演出を示した図である。
特別演出が実行されないSP演出を示した図である。
特別演出が実行されるSP演出を示した図である。
特別演出決定テーブルを示した図である。
【発明を実施するための形態】
【0009】
以下、添付図面を参照し、本発明に係る実施形態を次の順序で説明する。
<1.遊技機の構造>
<2.遊技機の制御構成>
[2.1 主制御基板]
[2.2 枠制御基板]
[2.3 電源基板]
[2.4 演出制御基板]
<3.動作の概要説明>
[3.1 遊技状態]
[3.2 特別図柄変動表示ゲーム]
[3.3 大当り遊技]
[3.4 普通図柄変動表示ゲーム]
[3.5 演出の一例]
<4.主制御基板の処理>
[4.1 主制御側メイン処理]
[4.2 主制御側タイマ割込み処理]
<5.枠制御基板の処理>
[5.1 枠制御側メイン処理]
[5.2 枠制御側タイマ割込み処理]
<6.演出制御基板の処理>
[6.1 演出制御側メイン処理]
[6.2 演出制御側タイマ割込み処理]
<7.予告演出>
<8.特別演出>
<9.構成例>
【0010】
<1.遊技機の構造>
図1及び図2を参照して、本発明に係る実施形態としての遊技機1の全体構造について説明する。図1は、本発明に係る実施形態の遊技機1の外観を示す斜視図であり、図2は、実施形態の遊技機1において前枠7を開放したときの斜視図である。
なお、以下では、遊技機1に正対した遊技者から見て右方向を遊技機1の右方向とし、遊技機1に正対した遊技者から見て左方向を遊技機1の左方向とする。また、鉛直上方向を遊技機1の上方向とし、鉛直下方向を遊技機1の下方向とする。また、遊技機1から正対した遊技者に向かう方向を遊技機1の前方向し、正対した遊技者から遊技機1に向かう方向を遊技機1の後方向とする。そして、遊技機1の左右方向は、遊技機1の幅方向と同じことを意味する。
(【0011】以降は省略されています)
この特許をJ-PlatPat(特許庁公式サイト)で参照する
関連特許
株式会社藤商事
遊技機
14日前
株式会社藤商事
遊技機
1か月前
株式会社藤商事
遊技機
19日前
株式会社藤商事
遊技機
1か月前
株式会社藤商事
遊技機
1か月前
株式会社藤商事
遊技機
1か月前
株式会社藤商事
遊技機
1か月前
株式会社藤商事
遊技機
1か月前
株式会社藤商事
遊技機
1か月前
株式会社藤商事
遊技機
1か月前
株式会社藤商事
遊技機
1か月前
株式会社藤商事
遊技機
19日前
株式会社藤商事
遊技機
1か月前
株式会社藤商事
遊技機
1か月前
株式会社藤商事
遊技機
1か月前
株式会社藤商事
遊技機
2か月前
株式会社藤商事
遊技機
2か月前
株式会社藤商事
遊技機
2か月前
株式会社藤商事
遊技機
2か月前
株式会社藤商事
遊技機
2か月前
株式会社藤商事
遊技機
19日前
株式会社藤商事
遊技機
19日前
株式会社藤商事
遊技機
14日前
株式会社藤商事
遊技機
14日前
株式会社藤商事
遊技機
14日前
株式会社藤商事
遊技機
14日前
株式会社藤商事
遊技機
14日前
株式会社藤商事
遊技機
14日前
株式会社藤商事
遊技機
14日前
株式会社藤商事
遊技機
14日前
株式会社藤商事
遊技機
14日前
株式会社藤商事
遊技機
14日前
株式会社藤商事
遊技機
14日前
株式会社藤商事
遊技機
19日前
株式会社藤商事
遊技機
14日前
株式会社藤商事
遊技機
14日前
続きを見る
他の特許を見る