TOP
|
特許
|
意匠
|
商標
特許ウォッチ
Twitter
他の特許を見る
公開番号
2025163813
公報種別
公開特許公報(A)
公開日
2025-10-30
出願番号
2024067353
出願日
2024-04-18
発明の名称
遊技機
出願人
株式会社藤商事
代理人
個人
,
個人
主分類
A63F
7/02 20060101AFI20251023BHJP(スポーツ;ゲーム;娯楽)
要約
【課題】遊技演出におけるシーンや信頼度に応じて、文字画像とキャラクタ画像を、それぞれのシーンに合わせた態様で表示することで、遊技者へ遊技演出に対して十分な興趣を与えることができる遊技機を提供する。
【解決手段】複数の文字画像が移動する場合、一部の文字画像がキャラクタ画像の口に重なるように表示可能となっている(図31(d))。そして、一部の文字画像がキャラクタ画像の口に重なる際に、演出内容に関するキャラクタ画像によるセリフ音がスピーカより出力される。
【選択図】図31
特許請求の範囲
【請求項1】
表示手段と、
複数の文字画像とキャラクタ画像を前記表示手段に表示する複数の演出と、を有し、
前記文字画像は、本体部と、輪郭部と、で構成され、
前記キャラクタ画像は、発音動作表示部を備え、
前記複数の演出は、第1フォントを用いた文字画像を表示する第1演出と、前記第1フォントとは異なる第2フォントを用いた文字画像を表示する第2演出と、を含み、
前記第1演出における文字画像は、前記複数の文字画像の少なくとも一部において、前記本体部同士が重なることなく、前記輪郭部同士を重ねて表示可能となっており、
前記第2演出において、
前記複数の文字画像の少なくとも一部が移動可能に構成されると共に、一の文字画像における前記本体部に、他の文字画像の前記本体部及び前記輪郭部が重なって表示可能となっており、
前記複数の文字画像が移動する場合、一部の文字画像が前記キャラクタ画像の発音動作表示部に重なるように表示可能となっており、
前記一部の文字画像が前記キャラクタ画像の発音動作表示部に重なる際に、演出内容に関する前記キャラクタ画像によるセリフ音が音出力手段より出力可能となっている遊技機。
続きを表示(約 550 文字)
【請求項2】
前記キャラクタ画像は、表情表示部と、視線表示部とを、さらに備え、
前記複数の文字画像が移動する場合であって、一部の文字画像が前記キャラクタ画像の発音動作表示部に重なるように前記表示手段に表示される際、前記複数の文字画像は、前記視線表示部が遊技者に視認容易となるように移動し、
前記複数の文字画像が移動する場合、これら文字画像は、前記キャラクタ画像の表情表示部に重なる領域よりも、前記キャラクタ画像における前記表情表示部の周辺部分に重なる領域の方が広くなるように前記表示手段に表示されてなる請求項1に記載の遊技機。
【請求項3】
前記第1演出において、前記キャラクタ画像の発音動作表示部における発音動作を行わせない一方、
前記第2演出において、前記キャラクタ画像の発音動作表示部における発音動作を行わせ、
前記第1演出においては、
前記複数の文字画像が移動することなく前記表示手段に表示され、さらに、
前記複数の文字画像が前記キャラクタ画像の発音動作表示部に重ならないように前記表示手段に表示され、演出内容に関する前記キャラクタ画像によるセリフ音が音出力手段より出力可能となっている請求項1又は2に記載の遊技機。
発明の詳細な説明
【技術分野】
【0001】
本発明は、パチンコ機、アレンジボール機、雀球遊技機、スロット、封入された遊技球を内部で循環させる封入式パチンコ機(管理遊技機)などの遊技機に関し、より詳しくは、遊技演出におけるシーンや信頼度に応じて、文字画像とキャラクタ画像を、それぞれのシーンに合わせた態様で表示することで、遊技者へ遊技演出に対して十分な興趣を与えることができる遊技機に関する。
続きを表示(約 6,600 文字)
【背景技術】
【0002】
従来のパチンコ機等の遊技機として、例えば、特許文献1に記載のような遊技機が知られている。この遊技機は、表示手段と表示手段外で同一内容の警告表示を異なるフォントで行うというものである。
【先行技術文献】
【特許文献】
【0003】
特開2020-168032号公報
【発明の概要】
【発明が解決しようとする課題】
【0004】
しかしながら、上記の遊技機では、表示内容に対してフォントを異ならせているだけであり、遊技演出に応じた文字画像の態様の使い分けが十分になされておらず、又、キャラクタ画像と同時に表示をした場合における遊技演出に対する興趣を十分に向上していないという問題があった。
【0005】
そこで本発明は、上記問題に鑑み、遊技演出におけるシーンや信頼度に応じて、文字画像とキャラクタ画像を、それぞれのシーンに合わせた態様で表示することで、遊技者へ遊技演出に対して十分な興趣を与えることができる遊技機を提供することを目的としている。
【課題を解決するための手段】
【0006】
上記本発明の目的は、以下の手段によって達成される。なお、括弧内は、後述する実施形態の参照符号を付したものであるが、本発明はこれに限定されるものではない。
【0007】
請求項1の発明に係る遊技機によれば、
表示手段(例えば、図2に示す液晶表示装置41)と、
複数の文字画像とキャラクタ画像を前記表示手段に表示する複数の演出と、を有し、
前記文字画像は、本体部と、輪郭部と、で構成され、
前記キャラクタ画像は、発音動作表示部(例えば、口)を備え、
前記複数の演出は、第1フォントを用いた文字画像を表示する第1演出と、前記第1フォントとは異なる第2フォントを用いた文字画像を表示する第2演出と、を含み、
前記第1演出における文字画像は、前記複数の文字画像の少なくとも一部において、前記本体部同士が重なることなく、前記輪郭部同士を重ねて表示可能となっており(例えば、図31(a)に示す「こちらからいくぞ!」という文字画像(画像P83a参照))、
前記第2演出において、
前記複数の文字画像の少なくとも一部が移動可能に構成されると共に、一の文字画像における前記本体部に、他の文字画像の前記本体部及び前記輪郭部が重なって表示可能となっており(例えば、図31(d)に示す「必殺の一撃」という立体文字画像(画像P106参照)、
前記複数の文字画像が移動する場合、一部の文字画像が前記キャラクタ画像の発音動作表示部に重なるように表示可能となっており(図31(d)に示す画面例参照)、
前記一部の文字画像が前記キャラクタ画像の発音動作表示部に重なる際に、演出内容に関する前記キャラクタ画像によるセリフ音が音出力手段(例えば、図1に示すスピーカ17)より出力可能となっていることを特徴としている。
請求項2の発明に係る遊技機によれば、上記請求項1に記載の遊技機において、前記キャラクタ画像は、表情表示部(例えば、顔)と、視線表示部(例えば、目)とを、さらに備え、
前記複数の文字画像が移動する場合であって、一部の文字画像が前記キャラクタ画像の発音動作表示部(例えば、口)に重なるように前記表示手段(例えば、図2に示す液晶表示装置41)に表示される際、前記複数の文字画像は、前記視線表示部が遊技者に視認容易となるように移動し(例えば、図31(d)に示す画面例参照)、
前記複数の文字画像が移動する場合、これら文字画像は、前記キャラクタ画像の表情表示部に重なる領域よりも、前記キャラクタ画像における前記表情表示部の周辺部分に重なる領域の方が広くなるように前記表示手段に表示されてなる(例えば、図31(d)に示す画面例参照)ことを特徴としている。
請求項3の発明に係る遊技機によれば、上記請求項1又は2に記載の遊技機において、前記第1演出において、前記キャラクタ画像の発音動作表示部(例えば、口)における発音動作を行わせない一方(例えば、図35(b)に示す画面例参照)、
前記第2演出において、前記キャラクタ画像の発音動作表示部における発音動作を行わせ(例えば、図31(d)に示す画面例参照)、
前記第1演出においては、
前記複数の文字画像が移動することなく前記表示手段(例えば、図2に示す液晶表示装置41)に表示され(例えば、図35(b)に示す画面例参照)、さらに、
前記複数の文字画像が前記キャラクタ画像の発音動作表示部(例えば、口)に重ならないように前記表示手段に表示され(例えば、図35(b)に示す画面例参照)、演出内容に関する前記キャラクタ画像によるセリフ音が音出力手段(例えば、図1に示すスピーカ17)より出力可能となっていることを特徴としている。
【発明の効果】
【0008】
本発明によれば、遊技演出におけるシーンや信頼度に応じて、文字画像とキャラクタ画像を、それぞれのシーンに合わせた態様で表示することで、遊技者へ遊技演出に対して十分な興趣を与えることができる。
【図面の簡単な説明】
【0009】
本発明の一実施形態に係る遊技機の外観を示す斜視図である。
同実施形態に係る遊技盤の正面図である。
同実施形態に係る遊技機の制御装置を示すブロック図である。
(a)は同実施形態に係る主制御RAMのメモリ領域を示し、(b)は同実施形態に係る主制御ROMのメモリ領域を示すメモリマップを説明する説明図である。
(a)~(e)は、変動中に、差球90000個を超えて、サブ制御基板へ、抑制装置作動予告コマンドが送信された場合を説明するための画面例を示す図である。
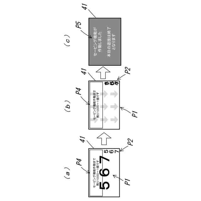
(a)~(c)は、変動中に、差球95000個を超えて、サブ制御基板へ、遊技停止コマンドが送信された場合を説明するための画面例を示す図である。
(a)~(d)は、大当たり中に、差球95000個を超えて、サブ制御基板へ、抑制装置作動警告コマンドが送信された場合を説明するための画面例を示す図である。
(a)~(e)は、2回分の大当たりを1つの演出としてまとめて表示する場合を説明するための画面例を示す図である。
(a)~(c)は、2回分の大当たりの1回分の大当たり中に、差球95000個を超えた場合の処理内容を説明するための画面例を示す図である。
(a)~(d)は、2回分の大当たりの1回分の大当たりと2回分の大当たりとの間の特別図柄の変動中に、差球95000個を超えた場合の処理内容を説明するための画面例を示す図である。
(a)~(d)は、大当たり遊技後に確変状態となる場合の遊技において、大当たり中に、差球95000個を超えた場合の処理内容を説明するための画面例を示す図である。
(a)~(d)は、大当たりとなる始動保留球(第1始動保留球、又は、第2始動保留球)が存在して、大当たり遊技後に、始動保留球を消化すると大当たりとなる保留連演出が発生した場合の遊技において、大当たり中に、差球95000個を超えた場合の処理内容を説明するための画面例を示す図である。
(a)は、液晶表示装置に表示させる画像のレイヤ構造を説明する説明図、(b-1)は、通常遊技画面のレイヤにエラー表示のレイヤを重ね合わせている状態を示す説明図、(b-2)は、通常遊技画面のレイヤにエラー表示のレイヤを重ね合わせた際の画面例、(c-1)は、エラー表示のレイヤに抑制装置(セービング機能)作動表示のレイヤを重ね合わせている状態を示す説明図、(c-2)は、エラー表示のレイヤに抑制装置(セービング機能)作動表示のレイヤを重ね合わせた際の画面例を示す図である。
(a-1)は、抑制装置(セービング機能)作動表示のレイヤに特定のエラーを描画した例を示す説明図、(a-2)は、抑制装置(セービング機能)作動表示のレイヤにエラー表示のレイヤを重ね合わせている状態を示す説明図、(b)は、抑制装置(セービング機能)作動表示と共に特定のエラーが表示されている画面例、(c)は、封入された遊技球を内部で循環させる封入式パチンコ機(管理遊技機)の場合の画面例を示す図である。
液晶表示装置の正面右側に、始動保留球数表示装置を設けた場合の簡易説明図であって、(a)は、始動保留球数表示装置が点灯した状態を示し、(b)は、始動保留球数表示装置が消灯した状態を示す図である。
(a)~(d)は、獲得予定球数を変化させる場合を説明するための画面例を示す図である。
(a)~(c)は、ボタン連打演出の画面例を示し、(d-1)は、ボタン連打演出が成功したパターンの画面例を示し、(d-2)は、ボタン連打演出が失敗したパターンの画面例を示す図である。
演出ボタンが1回押下された場合の映像・音ランプ・可動役物のそれぞれで実行されるタイミングチャートを示す図である。
(a-1)~(a-4)は、エフェクト画像の表示が開始されてから終了するまでのエフェクト画像の表示の流れを説明する説明図、(b-1)~(b-3)は、可動役物が動作開始してから終了するまでの可動役物の動作の流れを説明する説明図である。
(a)は、演出ボタンの有効判定を映像の演出に合わせた場合に実行される映像・音ランプ・可動役物それぞれの実行タイミングを示すタイミングチャート、(b)は、演出ボタンの有効判定を音ランプに合わせた場合に実行される映像・音ランプ・可動役物それぞれの実行タイミングを示すタイミングチャート、(c)は演出ボタンの有効判定を可動役物に合わせた場合に実行される映像・音ランプ・可動役物それぞれの実行タイミングを示すタイミングチャートを示す図である。
映像・音ランプ・可動役物それぞれの演出時間に合わせたボタン無効時間(いわゆる、ディレイ時間)を設定した場合に実行される映像・音ランプ・可動役物それぞれの実行タイミングを示すタイミングチャートを示す図である。
映像・音ランプ・可動役物それぞれの演出時間に合わせていない(演出時間よりも短い)ボタン無効時間(いわゆる、ディレイ時間)を設定した場合に実行される映像・音ランプ・可動役物それぞれの実行タイミングを示すタイミングチャートを示す図である。
(a)~(c)は、エフェクト画像の表示が開始されてから徐々に拡大表示されていく流れを説明し、(d)は、エフェクト画像の拡大表示が終了する前に新たなエフェクト画像が表示された場合を説明する説明図である。
(a)は、SPリーチ演出の画面例を示し、(b)は、(a)に示す文字画像だけを示し、(c)は、(b)に示す文字画像が接する、あるいは、重なっている箇所を説明する図である。
(a)は、強SPリーチ演出の画面例を示し、(b)は、(a)に示す文字画像だけを示した図である。
(a)は、宝箱予告演出の画面例を示し、(b)は、(a)に示す文字画像だけを示し、(c)は、(b)に示す文字画像が接する、あるいは、重なっている箇所を説明する図である。
(a)~(c)は、タイトル表示がされるまでの一連の画面例を示し、(d)は、強SPリーチが開始されることを示す画面例を示す図である。
図24(a)に示すSPリーチ演出の画面例よりも、信頼度が向上したバリエーションを示す画面例を示す図である。
図25(a)に示す強SPリーチ演出の画面例よりも、信頼度が向上したバリエーションを示す画面例を示す図である。
通常変動中に実行されるセリフ予告演出の画面例を示し、(a)は、通常のバリエーションを表示している画面例を示し、(b)は、(a)よりも信頼度が向上しているバリエーションを表示している画面例を示し、(c)は、(b)よりも信頼度が向上しているバリエーションを表示している画面例を示す図である。
(a)~(d)は、強SPリーチ演出が実行されている画面例を示す図である。
(a)~(f)は、強SPリーチ演出における当落分岐演出が行われるまでの画面例を示す図である。
(a)は、図31(c)に示す液晶表示装置に表示されている立体文字画像が画面端部に表示されていること説明する説明図、(b)は、図31(d)に示す液晶表示装置に表示されている立体文字画像が画面端部に表示されていること説明する説明図である。
図32(f)に示す液晶表示装置に表示されている立体文字画像が画面端部に表示されていること説明する説明図である。
(a)~(b)は、通常変動中の予告演出においてセリフ予告演出が発した場合の画面例を示す図である。
同実施形態に係る主制御のメイン処理を説明するフローチャート図である。
図36に示す主制御のメイン処理の続きを説明するフローチャート図である。
図36に示す設定切替処理を説明するフローチャート図である。
電源異常チェック処理を説明するフローチャート図である。
図37に示すRAMクリア時使用領域外処理を説明するフローチャート図である。
図37に示す使用領域外処理遊技開始設定を説明するフローチャート図である。
図37に示す賞球入賞数管理処理1を説明するフローチャート図である。
図42に示す使用領域外RAM領域の初期設定を説明するフローチャート図である。
同実施形態に係る主制御のタイマ割込み処理を説明するフローチャート図である。
図44に示す普通図柄処理を説明するフローチャート図である。
図44に示す特別図柄処理を説明するフローチャート図である。
図46に示す始動口チェック処理1(2)を説明するフローチャート図である。
図46に示す特別図柄変動開始処理を説明するフローチャート図である。
図46に示す特別図柄変動中処理を説明するフローチャート図である。
図46に示す特別図柄確認時間中処理を説明するフローチャート図である。
図47に示す使用領域外処理を説明するフローチャート図である。
図51に示す抑制装置計数処理を説明するフローチャート図である。
図51に示す抑制装置作動管理処理を説明するフローチャート図である。
図51に示す抑制装置作動管理処理2を説明するフローチャート図である。
(a)は同実施形態に係る抑制装置作動判定テーブルのプログラム例を示し、(b)は同実施形態に係る抑制装置作動予告コマンドテーブルのプログラム例を示す図である。
同実施形態に係るサブ制御のメイン処理を示すフローチャート図である。
図56に示すデータ解析処理を示すフローチャート図である。
同実施形態に係るサブ制御のコマンド受信処理を示すフローチャート図である。
同実施形態に係るサブ制御のタイマ割込み処理を示すフローチャート図である。
(a)は動画に関する初期コマンドリストを説明するフローチャート図を示し、(b)は動画に関する定常コマンドリストを説明するフローチャート図を示し、(c)は静止画に関するコマンドリストを説明するフローチャート図である。
【発明を実施するための形態】
【0010】
以下、本発明に係る遊技機の一実施形態を、パチンコ遊技機を例にして、図面を参照して具体的に説明する。なお、以下の説明において、上下左右の方向を示す場合は、図示正面から見た場合の上下左右をいうものとする。
(【0011】以降は省略されています)
この特許をJ-PlatPat(特許庁公式サイト)で参照する
関連特許
株式会社藤商事
遊技機
1か月前
株式会社藤商事
遊技機
1か月前
株式会社藤商事
遊技機
1か月前
株式会社藤商事
遊技機
1か月前
株式会社藤商事
遊技機
1か月前
株式会社藤商事
遊技機
1か月前
株式会社藤商事
遊技機
1か月前
株式会社藤商事
遊技機
1か月前
株式会社藤商事
遊技機
1か月前
株式会社藤商事
遊技機
1か月前
株式会社藤商事
遊技機
1か月前
株式会社藤商事
遊技機
1か月前
株式会社藤商事
遊技機
1か月前
株式会社藤商事
遊技機
1か月前
株式会社藤商事
遊技機
1か月前
株式会社藤商事
遊技機
1か月前
株式会社藤商事
遊技機
1か月前
株式会社藤商事
遊技機
1か月前
株式会社藤商事
遊技機
1か月前
株式会社藤商事
遊技機
1か月前
株式会社藤商事
遊技機
1か月前
株式会社藤商事
遊技機
1か月前
株式会社藤商事
遊技機
1か月前
株式会社藤商事
遊技機
1か月前
株式会社藤商事
遊技機
1か月前
株式会社藤商事
遊技機
1か月前
株式会社藤商事
遊技機
1か月前
株式会社藤商事
遊技機
1か月前
株式会社藤商事
遊技機
1か月前
株式会社藤商事
遊技機
1か月前
株式会社藤商事
遊技機
1か月前
株式会社藤商事
遊技機
1か月前
株式会社藤商事
遊技機
1か月前
株式会社藤商事
遊技機
1か月前
株式会社藤商事
遊技機
1か月前
株式会社藤商事
遊技機
1か月前
続きを見る
他の特許を見る