TOP
|
特許
|
意匠
|
商標
意匠ウォッチ
Twitter
他の意匠を見る
発行日
2025-11-05
公報種別
意匠公報(S)
登録番号
1812166
登録日
2025-10-27
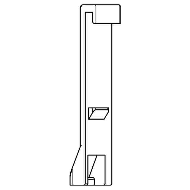
意匠に係る物品
カーテンフック掛け
意匠分類
L4
-6590(建築用構成品)
出願番号
2025008840
出願日
2025-05-02
意匠権者
トーソー株式会社
代理人
アインゼル・フェリックス=ラインハルト
,
個人
,
個人
,
個人
,
個人
,
個人
意匠に係る物品の説明
本物品は、カーテンフック掛けであって、カーテンレールに取り付けられ、カーテンを吊り下げるためのフックを引っ掛けて固定するために使用することができる。
意匠の説明
各図の物品の表面に表された細線は、いずれも立体表面の形状を表すためのものである。
この意匠をJ-PlatPat(特許庁公式サイト)で参照する
関連意匠
トーソー株式会社
電動カーテンレール
2か月前
トーソー株式会社
カーテンフック掛け
6日前
トーソー株式会社
カーテンレール材
2か月前
トーソー株式会社
ハンギングバー用ブラケット
8か月前
トーソー株式会社
ハンギングバー用ブラケットベース
8か月前
大建工業株式会社
窓
1か月前
大建工業株式会社
窓
1か月前
株式会社サカタ製作所
吊子
11か月前
株式会社LIXIL
網戸
12日前
株式会社サカタ製作所
吊子
11か月前
株式会社サカタ製作所
吊子
11か月前
株式会社サカタ製作所
吊子
11か月前
個人
階段
7か月前
株式会社サカタ製作所
吊子
11か月前
ナカ工業株式会社
点検口
2か月前
ナカ工業株式会社
点検口
1か月前
積水化学工業株式会社
樋継手
1か月前
積水化学工業株式会社
樋継手
1か月前
ナカ工業株式会社
点検口
2か月前
株式会社橋梁メンテナンス
集水器
4か月前
株式会社橋梁メンテナンス
集水器
4か月前
株式会社橋梁メンテナンス
集水器
4か月前
株式会社タクト
戸当り
8か月前
株式会社タクト
戸当り
8か月前
YKK AP株式会社
外構壁
4か月前
YKK AP株式会社
外構壁
4か月前
YKK AP株式会社
外構壁
4か月前
YKK AP株式会社
外構壁
4か月前
ライフデザイン・カバヤ株式会社
耐力壁
5か月前
ライフデザイン・カバヤ株式会社
耐力壁
5か月前
ナカ工業株式会社
点検口
2か月前
株式会社大林組
連結具
2か月前
YKK AP株式会社
建物用戸
9か月前
株式会社タツミ
柱脚金具
2か月前
株式会社タツミ
柱脚金具
2か月前
株式会社タツミ
柱脚金具
2か月前
続きを見る
他の意匠を見る