TOP
|
特許
|
意匠
|
商標
意匠ウォッチ
Twitter
他の意匠を見る
発行日
2025-10-07
公報種別
意匠公報(S)
登録番号
1810181
登録日
2025-09-29
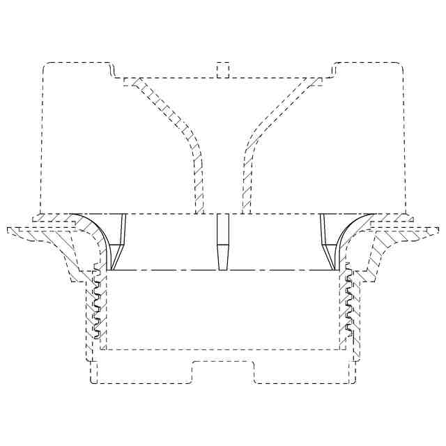
意匠に係る物品
樋継手
意匠分類
L4
-2310(建築用構成品)
出願番号
2024022030
出願日
2023-09-28
意匠権者
積水化学工業株式会社
,
Sekisui Chemical Co.,Ltd.
代理人
個人
,
個人
意匠に係る物品の説明
意匠の説明
実線で表された部分が意匠登録を受けようとする部分である。一点鎖線は、意匠登録を受けようとする部分とその他の部分との境界のみを示す線である。
この意匠をJ-PlatPat(特許庁公式サイト)で参照する
関連意匠
積水化学工業株式会社
4か月前
積水化学工業株式会社
床材
1か月前
積水化学工業株式会社
床材
1か月前
積水化学工業株式会社
樋継手
21日前
積水化学工業株式会社
樋継手
21日前
積水化学工業株式会社
配管用管
2か月前
積水化学工業株式会社
配管用管
2か月前
積水化学工業株式会社
配管用管
2か月前
積水化学工業株式会社
雨水貯留浸透施設構成部材
21日前
積水化学工業株式会社
雨水貯留浸透施設構成部材
21日前
積水化学工業株式会社
雨水貯留浸透施設構成部材
21日前
積水化学工業株式会社
雨水貯留浸透施設構成部材
21日前
株式会社野島角清製作所
雨樋支持具
6か月前
大建工業株式会社
窓
1か月前
大建工業株式会社
窓
1か月前
株式会社サカタ製作所
吊子
11か月前
株式会社サカタ製作所
吊子
11か月前
株式会社サカタ製作所
吊子
11か月前
株式会社サカタ製作所
吊子
10か月前
株式会社サカタ製作所
吊子
10か月前
個人
階段
6か月前
株式会社橋梁メンテナンス
集水器
3か月前
ナカ工業株式会社
点検口
2か月前
株式会社橋梁メンテナンス
集水器
3か月前
株式会社橋梁メンテナンス
集水器
3か月前
ナカ工業株式会社
点検口
18日前
YKK AP株式会社
外構壁
4か月前
YKK AP株式会社
外構壁
4か月前
YKK AP株式会社
外構壁
4か月前
YKK AP株式会社
外構壁
4か月前
株式会社大林組
連結具
2か月前
ナカ工業株式会社
点検口
2か月前
株式会社タクト
戸当り
8か月前
株式会社タクト
戸当り
8か月前
積水化学工業株式会社
樋継手
21日前
ナカ工業株式会社
点検口
2か月前
続きを見る
他の意匠を見る