TOP
|
特許
|
意匠
|
商標
意匠ウォッチ
Twitter
他の意匠を見る
発行日
2025-08-29
公報種別
意匠公報(S)
登録番号
1807392
登録日
2025-08-21
意匠に係る物品
柱脚金具
意匠分類
L4
-510(建築用構成品)
出願番号
2025004693
出願日
2025-03-10
意匠権者
株式会社タツミ
代理人
個人
意匠に係る物品の説明
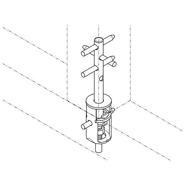
本物品は、たとえば使用状態を示す参考斜視図のように、基礎に載せ基礎から突出しているアンカーボルトにナットを螺着し土台を被せ連結ピンを挿入して固定ベース部を基礎上に土台とともに固定し、この固定ベース部に柱連結用ホゾパイプ部を立設するとともにこの柱連結用ホゾパイプ部を上方に貫通突出させて柱受部を設けた柱脚金具であって、柱下端に柱連結用ホゾパイプ部を挿入し柱を柱受部に載せ連結ピンを柱及び柱連結用ホゾパイプの連結孔に挿通して柱と連結し柱と基礎とを連結固定する柱脚金具である。
意匠の説明
各図にあらわされた細線は、立体表面の形状をあらわす稜線である。また、右側面図は左側面図と、背面図は正面図と固定ベース部の背面図は固定ベース部の正面図と、固定ベース部の右側面図は固定ベース部の左側面図と同一にあらわれる為省略する。なお、使用状態を示す参考斜視図以外の図面に実線で表した部分が意匠登録を受けようとする部分である。
この意匠をJ-PlatPat(特許庁公式サイト)で参照する
関連意匠
株式会社タツミ
柱脚金具
3か月前
株式会社タツミ
柱脚金具
3か月前
株式会社タツミ
柱脚金具
3か月前
株式会社タツミ
アンカーボルト
9か月前
株式会社タツミ
建築用接合金具
4か月前
大建工業株式会社
窓
2か月前
大建工業株式会社
窓
2か月前
株式会社LIXIL
網戸
1か月前
個人
階段
8か月前
YKK AP株式会社
外構壁
5か月前
株式会社橋梁メンテナンス
集水器
5か月前
YKK AP株式会社
外構壁
5か月前
YKK AP株式会社
外構壁
5か月前
YKK AP株式会社
外構壁
5か月前
株式会社橋梁メンテナンス
集水器
5か月前
積水化学工業株式会社
樋継手
1か月前
株式会社橋梁メンテナンス
集水器
5か月前
ナカ工業株式会社
点検口
1か月前
積水化学工業株式会社
樋継手
1か月前
ナカ工業株式会社
点検口
3か月前
ナカ工業株式会社
点検口
3か月前
ナカ工業株式会社
点検口
3か月前
株式会社大林組
連結具
3か月前
ライフデザイン・カバヤ株式会社
耐力壁
6か月前
ライフデザイン・カバヤ株式会社
耐力壁
6か月前
株式会社タクト
戸当り
9か月前
株式会社タクト
戸当り
9か月前
理研軽金属工業株式会社
建物用庇
8か月前
ハノーバー プレスト-ペイビング カンパニー
カプラー
5か月前
元旦ビューティ工業株式会社
落葉除材
10か月前
YKK AP株式会社
建物用窓
10か月前
株式会社サカタ製作所
改修金具
2か月前
株式会社サカタ製作所
改修金具
2か月前
株式会社タツミ
柱脚金具
3か月前
株式会社タツミ
柱脚金具
3か月前
株式会社タツミ
柱脚金具
3か月前
続きを見る
他の意匠を見る