TOP
|
特許
|
意匠
|
商標
特許ウォッチ
Twitter
他の特許を見る
公開番号
2025174571
公報種別
公開特許公報(A)
公開日
2025-11-28
出願番号
2024081024
出願日
2024-05-17
発明の名称
遊技機
出願人
株式会社エンターライズ
代理人
個人
主分類
A63F
5/04 20060101AFI20251120BHJP(スポーツ;ゲーム;娯楽)
要約
【課題】ボーナスを用いた興趣のある遊技機を提供する。
【解決手段】遊技機は、操作者の操作に基づいて、内部抽せんを実行し、複数の役のうち少なくとも1つの役を当せんさせるか否かを決定することが可能な内部抽せん部と、第1RT状態と、第2RT状態と、を含むRT状態を切り替えることが可能なRT状態制御部と、を備え、役には、ボーナスが含まれており、RT状態制御部は、ボーナスの作動中に、内部抽せんによって所定役が所定回数当せんまたは入賞しなかった場合には、RT状態を、第1RT状態よりもボーナス役が当せんしやすい第2RT状態へ移行させ、ボーナスには、少なくとも、第1RT状態で当せんすることが可能な第1ボーナスおよび第2ボーナスが用意されており、第1ボーナスと第2ボーナスとでは、ボーナスの作動中の所定役の当せん確率が異なる。
【選択図】図7
特許請求の範囲
【請求項1】
操作者の操作に基づいて、内部抽せんを実行し、複数の役のうち少なくとも1つの役を当せんさせるか否かを決定することが可能な内部抽せん部と、
第1RT状態と、第2RT状態と、を含むRT状態を切り替えることが可能なRT状態制御部と、
を備え、
前記役には、ボーナスが含まれており、
前記RT状態制御部は、前記ボーナスの作動中に、前記内部抽せんによって所定役が所定回数当せんまたは入賞しなかった場合には、前記RT状態を、前記第1RT状態よりも前記ボーナスが当せんしやすい前記第2RT状態へ移行させ、
前記ボーナスには、少なくとも、前記第1RT状態で当せんすることが可能な第1ボーナスおよび第2ボーナスが用意されており、
前記第1ボーナスと前記第2ボーナスとでは、前記ボーナスの作動中の前記所定役の当せん確率が異なる、
遊技機。
続きを表示(約 560 文字)
【請求項2】
前記ボーナスの作動中に、前記所定役が前記所定回数当せんまたは入賞した場合には、
前記ボーナスが終了し、かつ、
RT状態制御部は、前記RT状態を前記第1RT状態へ移行させる、
請求項1に記載の遊技機。
【請求項3】
前記ボーナスには、前記第2RT状態で当せんすることが可能な第3ボーナスがさらに用意されており、
前記第2RT状態での前記第3ボーナスの当せん確率は、前記第1RT状態での前記第1ボーナスの当せん確率よりも高く、また、前記第1RT状態での前記第2ボーナスの当せん確率よりも高い、
請求項1に記載の遊技機。
【請求項4】
前記ボーナスには、第3ボーナスがさらに用意されており、
前記第3ボーナスは、前記第2RT状態においては当せんする可能性があるが、前記第1RT状態においては当せんする可能性がない、
請求項1に記載の遊技機。
【請求項5】
前記RT状態制御部は、前記第1ボーナスの作動中、および、前記第2ボーナスの作動中、のいずれにおいても、前記所定役が前記所定回数当せんまたは入賞しなかった場合には、前記RT状態を前記第2RT状態へ移行させる、
請求項1に記載の遊技機。
発明の詳細な説明
【技術分野】
【0001】
本発明は、遊技機に関する。
続きを表示(約 1,600 文字)
【背景技術】
【0002】
従来から、ボーナス(例えば、第二種特別役物にかかる役物連続作動装置)の作動中に所定役(例えばシングルボーナス)に当せんすると、第二種特別役物にかかる役物連続作動装置が終了して通常状態に戻ってしまう仕様(いわゆる第二種特別役物にかかる役物連続作動装置のパンク)が搭載された遊技機が知られている(非特許文献1参照)。
【0003】
一方で、従来の遊技機では、所定役に当せんすることなく第二種特別役物にかかる役物連続作動装置が終了した場合には、第二種特別役物にかかる役物連続作動装置はパンクすることなく、通常状態よりも有利な有利状態に移行する。
【先行技術文献】
【特許文献】
【0004】
DMMぱちタウン、「秘宝伝~伝説への道~」、インターネット、2020年11月18日更新、令和6年4月11日検索、<URL:https://p-town.dmm.com/machines/2344>
【発明の開示】
【発明が解決しようとする課題】
【0005】
しかしながら、従来の遊技機は、第二種特別役物にかかる役物連続作動装置の作動中に、所定役に当せんして、単に第二種特別役物にかかる役物連続作動装置がパンクするか否かが問題となるゲーム性を備えるにすぎない。したがって、このような遊技機は興趣のあるゲーム性とは言いがたい。
【0006】
本発明の目的は、ボーナスを用いた興趣のある遊技機を提供することである。
【課題を解決するための手段】
【0007】
本発明は、
操作者の操作に基づいて、内部抽せんを実行し、複数の役のうち少なくとも1つの役を当せんさせるか否かを決定することが可能な内部抽せん部と、
第1RT状態と、第2RT状態と、を含むRT状態を切り替えることが可能なRT状態制御部と、
を備え、
前記役には、ボーナスが含まれており、
前記RT状態制御部は、前記ボーナスの作動中に、前記内部抽せんによって所定役が所定回数当せんまたは入賞しなかった場合には、前記RT状態を、前記第1RT状態よりも前記ボーナスが当せんしやすい前記第2RT状態へ移行させ、
前記ボーナスには、少なくとも、前記第1RT状態で当せんすることが可能な第1ボーナスおよび第2ボーナスが用意されており、
前記第1ボーナスと前記第2ボーナスとでは、前記ボーナスの作動中の前記所定役の当せん確率が異なる、
遊技機である。
【発明の効果】
【0008】
本発明によれば、ボーナスを用いた興趣のある遊技機を提供することができる。
【図面の簡単な説明】
【0009】
スロットマシンの正面図である。
スロットマシンの構成を模式的に示すブロック図である。
回転リールの図柄の配列の一例を示す図である。
第1遊技状態の状態遷移を説明する図である。
RT状態の状態遷移を説明する図である。
第1実施形態における、メイン制御基板、遊技価値制御基板およびサブ制御基板の構成を説明する図である。
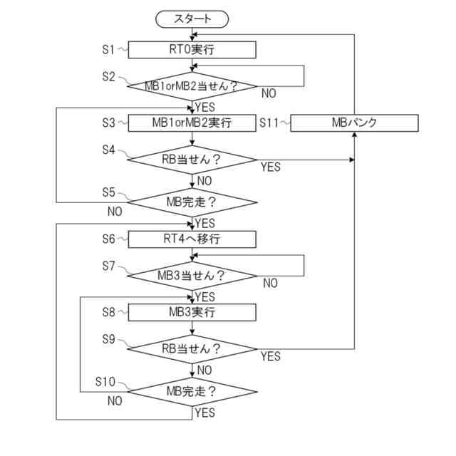
MB実行処理の流れを示すフロー図である。
【発明を実施するための形態】
【0010】
[第1実施形態]
本発明の遊技機の実施形態にかかるスロットマシン1について、図1~図7を参照して説明する。なお、以下に説明される実施形態は、本発明の一例にすぎず、本発明の要旨を変更しない範囲で本発明の実施形態を適宜変更することができる。また、以下の説明において、「接続」には、接続対象同士が直接的に接続される場合と、接続対象同士が他の基板あるいは装置等を介して間接的に接続される場合と、が含まれる。
(【0011】以降は省略されています)
この特許をJ-PlatPat(特許庁公式サイト)で参照する
関連特許
個人
玩具
5か月前
個人
玩具
2か月前
個人
自走玩具
2か月前
個人
運動補助具
4か月前
個人
ゲーム玩具
6か月前
個人
小型卓球台
1か月前
個人
打撃練習用具
1か月前
個人
パズル
1か月前
株式会社三共
遊技機
1か月前
株式会社三共
遊技機
2か月前
株式会社三共
遊技機
2か月前
株式会社三共
遊技機
2か月前
株式会社三共
遊技機
2か月前
株式会社三共
遊技機
2か月前
株式会社三共
遊技機
2か月前
株式会社三共
遊技機
2か月前
株式会社三共
遊技機
2か月前
株式会社三共
遊技機
2か月前
株式会社三共
遊技機
2か月前
株式会社三共
遊技機
2か月前
株式会社三共
遊技機
2か月前
株式会社三共
遊技機
2か月前
株式会社三共
遊技機
2か月前
株式会社三共
遊技機
2か月前
株式会社三共
遊技機
2か月前
株式会社三共
遊技機
2か月前
株式会社三共
遊技機
2か月前
株式会社三共
遊技機
2か月前
株式会社三共
遊技機
2か月前
株式会社三共
遊技機
2か月前
株式会社三共
遊技機
2か月前
株式会社三共
遊技機
2か月前
株式会社三共
遊技機
2か月前
株式会社三共
遊技機
2か月前
株式会社三共
遊技機
2か月前
株式会社三共
遊技機
2か月前
続きを見る
他の特許を見る