TOP
|
特許
|
意匠
|
商標
特許ウォッチ
Twitter
他の特許を見る
公開番号
2025171771
公報種別
公開特許公報(A)
公開日
2025-11-20
出願番号
2024077427
出願日
2024-05-10
発明の名称
ボール回収傾斜板
出願人
株式会社ゴルフナビ
代理人
個人
主分類
A63B
69/36 20060101AFI20251113BHJP(スポーツ;ゲーム;娯楽)
要約
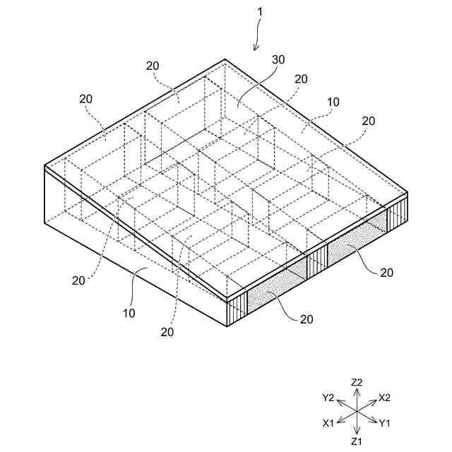
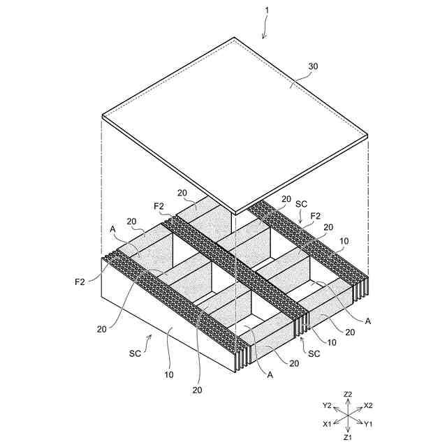
【課題】段ボールを用いても十分な強度とボールの容易な回収を行うことができ、設置の際の取り扱いに優れたボール回収傾斜板を提供すること。
【解決手段】本発明の一態様は、基準面に対する傾斜を構成する傾斜ユニットを備えたボール回収傾斜板であって、基準面に沿う方向の1つを長さ方向、基準面に沿う方向で長さ方向と直交する方向を幅方向、長さ方向および幅方向と直交する方向を高さ方向とした場合、傾斜ユニットは、長さ方向に延在し、幅方向に所定の間隔で配置される複数の脚部と、幅方向に延在し、複数の脚部の間に配置され、長さ方向に所定の間隔で配置される複数の梁部と、複数の脚部および複数の梁部を覆うように設けられ、基準面に対して表面が傾斜する平板部と、を備え、複数の脚部および平板部は段ボールによって構成される。
【選択図】図2
特許請求の範囲
【請求項1】
基準面に対する傾斜を構成する傾斜ユニットを備えたボール回収傾斜板であって、
前記基準面に沿う方向の1つを長さ方向、前記基準面に沿う方向で前記長さ方向と直交する方向を幅方向、前記長さ方向および前記幅方向と直交する方向を高さ方向とした場合、
前記傾斜ユニットは、
前記長さ方向に延在し、前記幅方向に所定の間隔で配置される複数の脚部と、
前記幅方向に延在し、前記複数の脚部の間に配置され、前記長さ方向に所定の間隔で前記脚部との間に空間を設けて配置される複数の梁部と、
前記複数の脚部および前記複数の梁部を覆うように設けられ、前記基準面に対して表面が傾斜する平板部と、
を備え、
前記複数の脚部および前記平板部は段ボールによって構成される、ボール回収傾斜板。
続きを表示(約 610 文字)
【請求項2】
前記複数の脚部のそれぞれは、複数の平板状ライナーと複数の波形中芯とが交互に積層された積層段ボールによって構成され、
前記平板部は、平板状の段ボールによって構成される、請求項1に記載のボール回収傾斜板。
【請求項3】
前記脚部を構成する前記積層段ボールは、
前記基準面と対向する底面と、
前記底面に対して傾斜し前記平板部の取り付け基準となる傾斜面と、を有し、
前記積層段ボールにおいて、
前記複数の平板状ライナーと前記複数の波形中芯との積層方向は前記幅方向であり、
前記波形中芯の波の方向は前記長さ方向である、請求項2に記載のボール回収傾斜板。
【請求項4】
前記梁部は、柱状の発泡スチロールによって構成される、請求項1に記載のボール回収傾斜板。
【請求項5】
前記梁部は、中空柱状の段ボールによって構成される、請求項1に記載のボール回収傾斜板。
【請求項6】
前記傾斜ユニットにおける隅部に位置する前記脚部に、前記高さ方向に延在する切り欠き部が設けられる、請求項1に記載のボール回収傾斜板。
【請求項7】
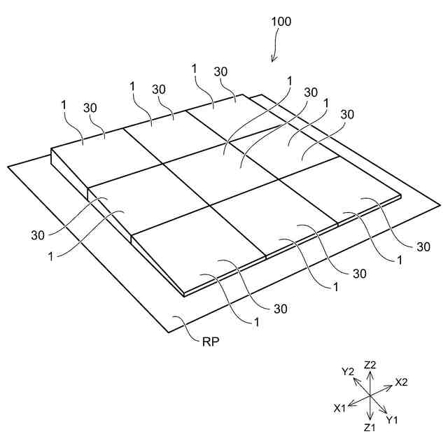
複数の前記傾斜ユニットが並置され、前記複数の傾斜ユニットの隣接する前記平板部によって連続した傾斜が構成される、請求項1から6のいずれか1項に記載のボール回収傾斜板。
発明の詳細な説明
【技術分野】
【0001】
本発明は、プレーヤから目標に向けて放たれたボールを回収するためのボール回収傾斜板に関するものである。
続きを表示(約 1,800 文字)
【背景技術】
【0002】
球技やその練習において、プレーヤが1人でボールを目標に向けて投げたり、打ったりすることがよく行われる。例えば、ゴルフシミュレータでは、コースの映像が映し出されたスクリーンに向けてゴルフボールを打つことでプレーが進んでいく。この際、プレーヤは1人でボールを扱うことから、放ったボールを自ら戻す必要がある。プレーヤにボールを戻すには、傾斜を利用してボールをプレーヤの近くまで転がすようにすることが挙げられる。
【0003】
ボールを転がして戻すための傾斜としては、床や地面そのものに傾斜を設けてもよいが、床や地面に直接傾斜を設けられない場合には、床や地面の上に傾斜板(ボール回収傾斜板)を設置するようにしている。ボール回収傾斜板は、角材で組んだ土台の上に傾斜をつけて木製パネルを取り付けたものが用いられる。
【0004】
ここで、特許文献1には複数の段ボールを用いた競技用マットが開示され、特許文献2には芯材に段ボールを用いたゴルフ練習用傾斜台が開示され、特許文献3にはプラスチック材料を含浸させた段ボール紙を支持台としたゴルフのパッティング練習用マットが開示される。
【先行技術文献】
【特許文献】
【0005】
特開2021-146206号公報
特開2020-110281号公報
特開2003-019238号公報
【発明の概要】
【発明が解決しようとする課題】
【0006】
しかしながら、ボール回収傾斜板として角材の土台と木製パネルを用いる場合、重量物が多いことから設置現場での作業は容易でない。また、木製パネルを用いる場合、ボールが当たると木製パネルが太鼓の鼓面のように作用して「ポン」という大きな音が発生しやすくなる。また、固い木製パネルではボールが当たると弾みやすく、緩やかなボールの回収の妨げとなる。このため、木製パネルの代わりに柔らかい材料を用いることが考えられる。しかし、柔らかい材料では人が載れる程度の十分な強度の確保が困難となる。また、特許文献1に記載されるように、複数の段ボールで構成した競技用マットを傾斜板の代わりに用いることも考えられる。しかし、特許文献1に記載の競技用マットでは、全体が段ボールで構成されることから木製パネルと同様にボールが弾みやすくなる。
【0007】
本発明は、段ボールを用いても十分な強度とボールの緩やかな回収を行うことができ、設置の際の取り扱い性にも優れたボール回収傾斜板を提供することを目的とする。
【課題を解決するための手段】
【0008】
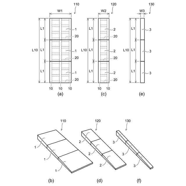
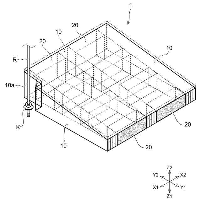
本発明の一態様は、基準面に対する傾斜を構成する傾斜ユニットを備えたボール回収傾斜板であって、基準面に沿う方向の1つを長さ方向、基準面に沿う方向で長さ方向と直交する方向を幅方向、長さ方向および幅方向と直交する方向を高さ方向とした場合、傾斜ユニットは、長さ方向に延在し、幅方向に所定の間隔で配置される複数の脚部と、幅方向に延在し、複数の脚部の間に配置され、長さ方向に所定の間隔で脚部との間に空間を設けて配置される複数の梁部と、複数の脚部および複数の梁部を覆うように設けられ、基準面に対して表面が傾斜する平板部と、を備え、複数の脚部および平板部は段ボールによって構成される。
【0009】
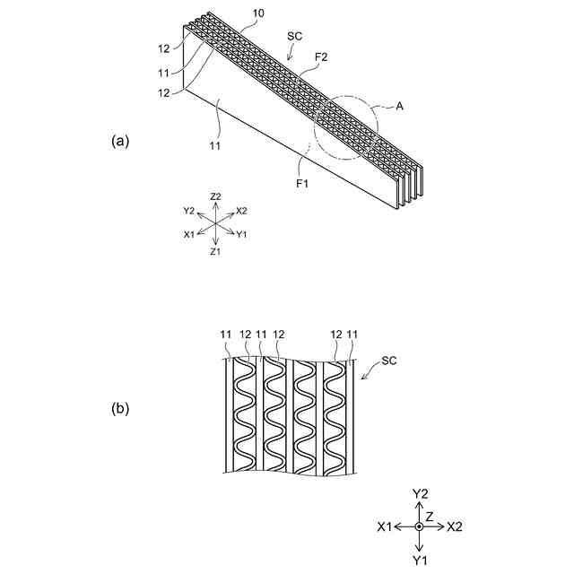
このような構成によれば、段ボールによって構成される複数の脚部を土台として、この複数の脚部および複数の脚部の間に配置される複数の梁部を覆うように段ボールの平板部が設けられることから、脚部および平板部に段ボールを用いた場合でも十分な強度が確保される。また、複数の脚部の間隔および複数の梁部の間隔によって空間が構成され、軽量化できるとともに、空間側への平板部の適度なしなりを許容し、ボールの弾みが抑制される。
【0010】
上記ボール回収傾斜板において、複数の脚部のそれぞれは、複数の平板状ライナーと複数の波形中芯とが交互に積層された積層段ボールによって構成され、平板部は、平板状の段ボールによって構成されることが好ましい。このような積層段ボールを脚部に用いることで、強度向上と軽量化とが達成される。
(【0011】以降は省略されています)
この特許をJ-PlatPat(特許庁公式サイト)で参照する
関連特許
株式会社ゴルフナビ
ボール回収傾斜板
3日前
個人
玩具
2か月前
個人
玩具
5か月前
個人
自走玩具
2か月前
個人
運動補助具
4か月前
個人
小型卓球台
26日前
個人
ゲーム玩具
6か月前
個人
パズル
27日前
個人
打撃練習用具
1か月前
株式会社三共
遊技機
5か月前
株式会社三共
遊技機
4か月前
株式会社三共
遊技機
4か月前
株式会社三共
遊技機
4か月前
株式会社三共
遊技機
4か月前
株式会社三共
遊技機
4か月前
株式会社三共
遊技機
4か月前
株式会社三共
遊技機
4か月前
株式会社三共
遊技機
4か月前
株式会社三共
遊技機
4か月前
株式会社三共
遊技機
4か月前
株式会社三共
遊技機
4か月前
株式会社三共
遊技機
4か月前
株式会社三共
遊技機
4か月前
株式会社三共
遊技機
4か月前
株式会社三共
遊技機
4か月前
株式会社三共
遊技機
4か月前
株式会社三共
遊技機
4か月前
株式会社三共
遊技機
4か月前
株式会社三共
遊技機
4か月前
株式会社三共
遊技機
4か月前
株式会社三共
遊技機
4か月前
株式会社三共
遊技機
4か月前
株式会社三共
遊技機
4か月前
株式会社三共
遊技機
4か月前
株式会社三共
遊技機
4か月前
株式会社三共
遊技機
4か月前
続きを見る
他の特許を見る