TOP
|
特許
|
意匠
|
商標
特許ウォッチ
Twitter
他の特許を見る
10個以上の画像は省略されています。
公開番号
2025158145
公報種別
公開特許公報(A)
公開日
2025-10-16
出願番号
2025124644
出願日
2025-07-25
発明の名称
遊技台
出願人
株式会社大都技研
代理人
個人
主分類
A63F
5/04 20060101AFI20251008BHJP(スポーツ;ゲーム;娯楽)
要約
【課題】演出制御を向上させる遊技台を提供する。
【解決手段】複数のスピーカと、複数のスピーカと接続された複数の音声回路と、複数の音声回路が配設された第一の基板と、を備えた遊技台であって、複数の音声回路のうち少なくとも第一の音声回路と第二の音声回路は、第一の部品、第二の部品及び第三の部品が、同一または略同一の所定範囲内に配設され、或るスピーカと電気的に接続可能な或るコネクタは、或る音声回路の近傍に配設され、第一の部品、第二の部品、第三の部品は、それぞれ、オーディオアンプ、コイル、コンデンサであり、第一の音声回路と第二の音声回路は、コイルとコンデンサによるフィルタ回路を含み、第一の基板は、オーディオアンプに対応してサーマルビアが設けられており、第一の音声回路と第二の音声回路において、サーマルビアが同一または略同一の態様で設けられている。
【選択図】図27
特許請求の範囲
【請求項1】
種類が異なる複数のスピーカと、
前記複数のスピーカのそれぞれと電気的に接続され、音声信号を出力可能な複数の音声回路と、
前記複数の音声回路が配設された第一の基板と、を備えた遊技台であって、
前記複数の音声回路のうち少なくとも第一の音声回路と第二の音声回路は、それぞれ、第一の部品と、第二の部品と、第三の部品と、を備え、
前記第一の音声回路と前記第二の音声回路は、互いに、前記第一の部品と、前記第二の部品と、前記第三の部品とが、同一または略同一の所定範囲内に配設され、
前記第一の基板は、前記複数のスピーカのうち少なくとも或るスピーカと電気的に接続可能な或るコネクタを備え、
前記或るコネクタは、前記第一の音声回路と前記第二の音声回路を含む前記複数の音声回路のうち少なくとも或る音声回路の近傍に配設され、
前記第一の音声回路と前記第二の音声回路は、それぞれにおいて、
前記第一の部品と前記第二の部品が第一の位置関係で配設され、
前記第一の部品と前記第三の部品が第二の位置関係で配設され、
前記第二の部品と前記第三の部品が第三の位置関係で配設され、
前記第一の部品は、オーディオアンプであり、
前記第二の部品は、コイルであり、
前記第三の部品は、コンデンサであり、
前記第一の音声回路と前記第二の音声回路は、 前記コイルと前記コンデンサによるフィルタ回路を含み、
前記第一の基板は、前記オーディオアンプに対応してサーマルビアが設けられており、
前記第一の基板は、前記第一の音声回路の前記オーディオアンプに対応する前記サーマルビアと、前記第二の音声回路の前記オーディオアンプに対応する前記サーマルビアとが、同一または略同一の態様で設けられている、
ことを特徴とする遊技台。
発明の詳細な説明
【技術分野】
【0001】
本発明は、スロットマシン(回胴遊技機)、パチンコ機(弾球遊技機)に代表される遊技台に関する。
続きを表示(約 3,700 文字)
【背景技術】
【0002】
従来、遊技台の一つとして、例えば、スロットマシンが知られている。このようなスロットマシンでは、特典の付与に応じて液晶表示装置やスピーカなどを用いて演出を行うことがある(例えば、特許文献1参照)。
【先行技術文献】
【特許文献】
【0003】
特開2016-73461号公報
【発明の概要】
【発明が解決しようとする課題】
【0004】
しかしながら、演出制御に関しては未だ改良の余地がある。
【0005】
本発明はこのような事情を鑑みてなされたものであり、演出制御を向上させることができる遊技台を提供することを目的とする。
【課題を解決するための手段】
【0006】
上記目的を達成するため、本発明に係る遊技台は、その一態様として、
種類が異なる複数のスピーカと、
前記複数のスピーカのそれぞれと電気的に接続され、音声信号を出力可能な複数の音声回路と、
前記複数の音声回路が配設された第一の基板と、を備えた遊技台であって、
前記複数の音声回路のうち少なくとも第一の音声回路と第二の音声回路は、それぞれ、第一の部品と、第二の部品と、第三の部品と、を備え、
前記第一の音声回路と前記第二の音声回路は、互いに、前記第一の部品と、前記第二の部品と、前記第三の部品とが、同一または略同一の所定範囲内に配設され、
前記第一の基板は、前記複数のスピーカのうち少なくとも或るスピーカと電気的に接続可能な或るコネクタを備え、
前記或るコネクタは、前記第一の音声回路と前記第二の音声回路を含む前記複数の音声回路のうち少なくとも或る音声回路の近傍に配設され、
前記第一の音声回路と前記第二の音声回路は、それぞれにおいて、
前記第一の部品と前記第二の部品が第一の位置関係で配設され、
前記第一の部品と前記第三の部品が第二の位置関係で配設され、
前記第二の部品と前記第三の部品が第三の位置関係で配設され、
前記第一の部品は、オーディオアンプであり、
前記第二の部品は、コイルであり、
前記第三の部品は、コンデンサであり、
前記第一の音声回路と前記第二の音声回路は、 前記コイルと前記コンデンサによるフィルタ回路を含み、
前記第一の基板は、前記オーディオアンプに対応してサーマルビアが設けられており、
前記第一の基板は、前記第一の音声回路の前記オーディオアンプに対応する前記サーマルビアと、前記第二の音声回路の前記オーディオアンプに対応する前記サーマルビアとが、同一または略同一の態様で設けられている、
ことを特徴とする。
【発明の効果】
【0007】
本発明によれば、演出制御を向上させる遊技台を提供することができる。
【図面の簡単な説明】
【0008】
本発明の一実施形態に係るスロットマシンの外観を示す斜視図である。
本発明の一実施形態に係るスロットマシンの制御部の回路ブロック図である。
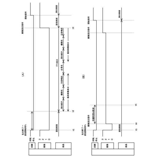
(A)は、本発明の一実施形態に係るスロットマシンのデモ画面遷移に関するタイムチャートであり、(B)は、従来のスロットマシンのデモ画面遷移に関するタイムチャートである。
(A)は、本発明の一実施形態に係るスロットマシンのデモ画面遷移に関するタイムチャートであり、(B)は、本発明の一実施形態に係るスロットマシンの液晶表示装置に表示される画面例を示す図である。
本発明の一実施形態に係るスロットマシンの差枚数の推移を示すスランプグラフの一例である。
本発明の一実施形態に係るスロットマシンの最高枚数更新処理の流れを示すシーケンス図である。
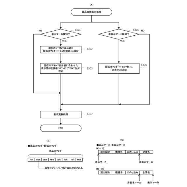
(A)は、本発明の一実施形態に係るスロットマシンのデモ画面表示における最高枚数表示処理の流れを示すフローチャートであり、(B)は、本発明の一実施形態に係るスロットマシンの液晶コマンドの構成を説明する図であり、(C)は、本発明の一実施形態に係るスロットマシンの表示マーカ及び非表示マーカを説明する図である。
(A)は、本発明の一実施形態に係るスロットマシンの第1副制御部の機能ブロック図であり、(B)は、図8(A)に示すCPUと駆動回路の接続例を示す図である。
(A)及び(B)は、本発明の一実施形態に係るスロットマシンの第1副制御部においてランプの駆動回路として用いられるLEDドライバの一例を示す図である。
(A)及び(B)は、本発明の一実施形態に係るスロットマシンのランプを制御する制御データの構成を模式的に示す図であり、(C)は、本発明の一実施形態に係るスロットマシンの制御データの通信方法を説明する図である。
本発明の一実施形態に係るスロットマシンの外観図であり、スピーカの位置を示す図である。
(a)は、本発明の一実施形態に係るスロットマシンの第1副制御基板の上面図であり、(b)は、(a)に示した音声回路の各部品の配置図であり、(c)は、(a)及び(b)に示したオーディオアンプICの端子配置を示す図であり、(d)は、(a)のY-Y線による断面図である。
(a)は、図12(a)に示した音声回路の信号線を示す回路図であり、(b)は、図12(a)に示した音声回路の電源線を示す回路図である。
(a)は、本発明の一実施形態に係るスロットマシンの第1副制御部の各部品が配設された第1副制御基板の上面図であり、(b)及び(c)は、(a)に示した第1副制御基板のグランドを説明する図である。
本発明の一実施形態に係るスロットマシンの第1副制御基板の上面図である(変形例)。
(a)は、図15に示した音声回路の信号線の回路図であり、(b)は、図15に示した音声回路の電源線の回路図である。
(a)は、図15に示した第1副制御基板の第1層を示す図であり、(b)は、図15に示した第1副制御基板の第3層を示す図である。
(a)は、図15に示した第1副制御基板の第4層を示す図であり、(b)は、図15に示した第1副制御基板の第5層を示す図である。
(a)は、図15に示した第1副制御基板の第7層を示す図であり、(b)は、図15に示した第1副制御基板の第8層を示す図である。
(a)、(b)及び(c)は、本発明の一実施形態に係るスロットマシンの第1副制御基板に設けられた音声回路の配置レイアウトを説明する図である。
(a)、(b)及び(c)は、本発明の一実施形態に係るスロットマシンのオーディオアンプICの出力端子の位置を説明する図であり、(d)、(e)及び(f)は、本発明の一実施形態に係るスロットマシンの音声回路の各部品の配置構成を説明する図である。
(a)、(b)、(c)及び(d)は、本発明の一実施形態に係るスロットマシンの音声回路の各部品の配置模式図であり、各部品の配置関係性を説明する図である。
(a)及び(b)は、本発明の一実施形態に係るスロットマシンの音声回路の各部品の配置模式図であり、各部品の配置関係性を説明する図である。(c)は、本発明の一実施形態に係るスロットマシンの音声回路の各部品の配置模式図であり、配線パターンを説明する図である。
本発明の一実施形態に係るスロットマシンの第1副制御基板の上面図であり(変形例)、シルク表示を説明する図面である。
(a)、(b)及び(c)は、図12(a)に示した第1副制御基板の基板ケースに設けられた通風孔を説明する図であり、(d)は、図25(a)のA方向から見た一音声回路の外観斜視図である。
(a)は、図12(a)に示した第1副制御基板の基板ケースに設けられた通風孔を説明する図であり(変形例)、(b)及び(c)は、図12(a)に示した第1副制御基板の基板ケースの説明図である(変形例)。
(a)は、本発明の一実施形態に係るスロットマシンの第1副制御基板の上面図であり、第1副制御基板に設けられた放熱用の穴(サーマルビア)の配置態様を説明する図である。(b)は、(a)に示した音声回路のオーディオアンプICとコイルの音声信号線の経路を説明する図であり、(c)は、(a)に示したモノラル音声回路の各部品の配置図である
【発明を実施するための形態】
【0009】
以下、本発明の実施形態について図面を用いて説明する。
【0010】
以下に説明するスロットマシンでは、実メダルの枚数に相当する情報(仮想メダル数)を用いる、所謂メダルレスの構成を採用しているが、以下の説明ではこの情報について「メダル数」との記載を用いることとする。
(【0011】以降は省略されています)
この特許をJ-PlatPat(特許庁公式サイト)で参照する
関連特許
株式会社大都技研
遊技台
1か月前
株式会社大都技研
遊技台
1か月前
株式会社大都技研
遊技台
1か月前
株式会社大都技研
遊技台
1か月前
株式会社大都技研
遊技台
1か月前
株式会社大都技研
遊技台
1か月前
株式会社大都技研
遊技台
1か月前
株式会社大都技研
遊技台
1か月前
株式会社大都技研
遊技台
1か月前
株式会社大都技研
遊技台
1か月前
株式会社大都技研
遊技台
1か月前
株式会社大都技研
遊技台
1か月前
株式会社大都技研
遊技台
1か月前
株式会社大都技研
遊技台
1か月前
株式会社大都技研
遊技台
1か月前
株式会社大都技研
遊技台
1か月前
株式会社大都技研
遊技台
1か月前
株式会社大都技研
遊技台
1か月前
株式会社大都技研
遊技台
1か月前
株式会社大都技研
遊技台
1か月前
株式会社大都技研
遊技台
1日前
株式会社大都技研
遊技台
1か月前
株式会社大都技研
遊技台
1か月前
株式会社大都技研
遊技台
29日前
株式会社大都技研
遊技台
1日前
株式会社大都技研
遊技台
1日前
株式会社大都技研
遊技台
1日前
株式会社大都技研
遊技台
21日前
株式会社大都技研
遊技台
21日前
株式会社大都技研
遊技台
1か月前
株式会社大都技研
遊技台
29日前
株式会社大都技研
遊技台
21日前
株式会社大都技研
遊技台
1か月前
株式会社大都技研
遊技台
1か月前
株式会社大都技研
遊技台
1か月前
株式会社大都技研
遊技台
1か月前
続きを見る
他の特許を見る