TOP
|
特許
|
意匠
|
商標
特許ウォッチ
Twitter
他の特許を見る
10個以上の画像は省略されています。
公開番号
2025151022
公報種別
公開特許公報(A)
公開日
2025-10-09
出願番号
2024052238
出願日
2024-03-27
発明の名称
遊技台
出願人
株式会社大都技研
代理人
個人
,
個人
主分類
A63F
5/04 20060101AFI20251002BHJP(スポーツ;ゲーム;娯楽)
要約
【課題】パネルに特徴を持った遊技台を提供する。
【解決手段】透光性を有する第一の透光パネルを備えた遊技台であって、装飾シートを備え、装飾シートは第一の透光パネルを介して前方から視認可能である。また、装飾シートには、第一の表示と第二の表示が施されており、第一の表示は第二のエリアの少なくとも一部に重畳する位置に施されており、第二の表示は、第二のエリアに重畳しない位置に施されており、第一の表示はキャラクタ表示であり、第二の表示は注意喚起表示であり、透光性を有する第二の透光パネルを備え、第一の透光パネルは遊技台の正面であって該遊技台の全高の半分の位置を遊技者の目線の位置とした場合に該遊技者から視認可能な位置に設けられたパネルであり、第二の透光パネルは、遊技台の正面であって該遊技台の全高の半分の位置を遊技者の目線の位置とした場合に該遊技者から視認困難または視認不能な位置に設けられたパネルである。
【選択図】図69
特許請求の範囲
【請求項1】
透光性を有する第一の透光パネルを備えた遊技台であって、
装飾シートを備え、
前記第一の透光パネルは、第一のエリアと、第二のエリアと、を前面に有しており、
前記第二のエリアは、前記第一のエリアよりも表面が粗くなっており、
前記第二のエリアは、前記第一の透光パネルの縁に沿うように設けられており、
前記装飾シートは、前記第一の透光パネルよりも小さく、
前記装飾シートは、前記第一の透光パネルの後方において、前記第一のエリアの少なくとも一部と前記第二のエリアの少なくとも一部のいずれとも重複する位置に配置され、
前記装飾シートは、前記第一の透光パネルを介して前方から視認可能であり、
前記装飾シートには、第一の表示と、第二の表示が施されており、
前記第一の表示は、前記第二のエリアの少なくとも一部に重畳する位置に施されており、
前記第二の表示は、前記第二のエリアに重畳しない位置に施されており、
前記第一の表示は、キャラクタ表示であり、
前記第二の表示は、注意喚起表示であり、
透光性を有する第二の透光パネルを備え、
前記第一の透光パネルは、前記遊技台の正面であって該遊技台の全高の半分の位置を遊技者の目線の位置とした場合に該遊技者から視認可能な位置に設けられたパネルであり、
前記第二の透光パネルは、前記遊技台の正面であって該遊技台の全高の半分の位置を遊技者の目線の位置とした場合に該遊技者から視認困難または視認不能な位置に設けられたパネルである、
ことを特徴とする遊技台。
続きを表示(約 1,000 文字)
【請求項2】
透光性を有する第一の透光パネルを備えた遊技台であって、
装飾シートを備え、
前記第一の透光パネルは、第一のエリアと、第二のエリアと、を前面に有しており、
前記第二のエリアは、前記第一のエリアよりも表面が粗くなっており、
前記第二のエリアは、前記第一の透光パネルの縁に沿うように設けられており、
前記装飾シートは、前記第一の透光パネルよりも小さく、
前記装飾シートは、前記第一の透光パネルの後方において、前記第一のエリアの少なくとも一部と前記第二のエリアの少なくとも一部のいずれとも重複する位置に配置され、
前記装飾シートは、前記第一の透光パネルを介して前方から視認可能であり、
前記装飾シートには、第一の表示と、第二の表示が施されており、
前記第一の表示は、前記第二のエリアの少なくとも一部に重畳する位置に施されており、
前記第二の表示は、前記第二のエリアに重畳しない位置に施されており、
前記第一の表示は、キャラクタ表示であり、
前記第二の表示は、知的財産関連表示であり、
透光性を有する第二の透光パネルを備え、
前記第一の透光パネルは、前記遊技台の正面であって該遊技台の全高の半分の位置を遊技者の目線の位置とした場合に該遊技者から視認可能な位置に設けられたパネルであり、
前記第二の透光パネルは、前記遊技台の正面であって該遊技台の全高の半分の位置を遊技者の目線の位置とした場合に該遊技者から視認困難または視認不能な位置に設けられたパネルである、
ことを特徴とする遊技台。
【請求項3】
請求項1または2に記載の遊技台であって、
前記第一の透光パネルは、第一の部材と第二の部材を有して構成され、
前記装飾シートは、前記第一の部材と前記第二の部材との間に配置され、
前記第一の透光パネルは、前記第一の部材と前記第二の部材を固定するための固定部を備え、
前記固定部は、前記第一の透光パネルの縁に設けられる、
ことを特徴とする遊技台。
【請求項4】
請求項1または2に記載の遊技台であって、
前面扉を備え、
前記第一の透光パネルは、該第一の透光パネルを前記前面扉に取り付けるための取付部を備え、
前記取付部は、前記第一の透光パネルの縁に設けられる、
ことを特徴とする遊技台。
発明の詳細な説明
【技術分野】
【0001】
本発明は、弾球遊技機(パチンコ機)、回胴遊技機(スロットマシン)、封入式遊技機あるいはメダルレススロットマシンに代表される遊技台に関する。
続きを表示(約 7,900 文字)
【背景技術】
【0002】
従来、パネルを備えた遊技台が広く知られている(例えば、特許文献1参照)。
【先行技術文献】
【特許文献】
【0003】
特開2008-237513号公報
【発明の概要】
【発明が解決しようとする課題】
【0004】
しかしながら、従来の遊技台は、パネルに改良の余地がある。
【0005】
本発明の目的は、パネルに特徴を持った遊技台を提供することにある。
【課題を解決するための手段】
【0006】
本発明に係る遊技台は、透光性を有する第一の透光パネルを備えた遊技台であって、装飾シートを備え、前記第一の透光パネルは、第一のエリアと、第二のエリアと、を前面に有しており、前記第二のエリアは、前記第一のエリアよりも表面が粗くなっており、前記第二のエリアは、前記第一の透光パネルの縁に沿うように設けられており、前記装飾シートは、前記第一の透光パネルよりも小さく、前記装飾シートは、前記第一の透光パネルの後方において、前記第一のエリアの少なくとも一部と前記第二のエリアの少なくとも一部のいずれとも重複する位置に配置され、前記装飾シートは、前記第一の透光パネルを介して前方から視認可能であり、前記装飾シートには、第一の表示と、第二の表示が施されており、前記第一の表示は、前記第二のエリアの少なくとも一部に重畳する位置に施されており、前記第二の表示は、前記第二のエリアに重畳しない位置に施されており、前記第一の表示は、キャラクタ表示であり、前記第二の表示は、注意喚起表示であり、透光性を有する第二の透光パネルを備え、前記第一の透光パネルは、前記遊技台の正面であって該遊技台の全高の半分の位置を遊技者の目線の位置とした場合に該遊技者から視認可能な位置に設けられたパネルであり、前記第二の透光パネルは、前記遊技台の正面であって該遊技台の全高の半分の位置を遊技者の目線の位置とした場合に該遊技者から視認困難または視認不能な位置に設けられたパネルである、ことを特徴とする遊技台である。
また、本発明に係る遊技台は、透光性を有する第一の透光パネルを備えた遊技台であって、装飾シートを備え、前記第一の透光パネルは、第一のエリアと、第二のエリアと、を前面に有しており、前記第二のエリアは、前記第一のエリアよりも表面が粗くなっており、前記第二のエリアは、前記第一の透光パネルの縁に沿うように設けられており、前記装飾シートは、前記第一の透光パネルよりも小さく、前記装飾シートは、前記第一の透光パネルの後方において、前記第一のエリアの少なくとも一部と前記第二のエリアの少なくとも一部のいずれとも重複する位置に配置され、前記装飾シートは、前記第一の透光パネルを介して前方から視認可能であり、前記装飾シートには、第一の表示と、第二の表示が施されており、前記第一の表示は、前記第二のエリアの少なくとも一部に重畳する位置に施されており、前記第二の表示は、前記第二のエリアに重畳しない位置に施されており、前記第一の表示は、キャラクタ表示であり、前記第二の表示は、知的財産関連表示であり、
透光性を有する第二の透光パネルを備え、前記第一の透光パネルは、前記遊技台の正面であって該遊技台の全高の半分の位置を遊技者の目線の位置とした場合に該遊技者から視認可能な位置に設けられたパネルであり、前記第二の透光パネルは、前記遊技台の正面であって該遊技台の全高の半分の位置を遊技者の目線の位置とした場合に該遊技者から視認困難または視認不能な位置に設けられたパネルである、ことを特徴とする遊技台である。
【発明の効果】
【0007】
本発明の目的は、パネルに特徴を持った遊技台を提供することにある。
【図面の簡単な説明】
【0008】
本発明の一実施形態に係るスロットマシンの外観を示す斜視図である。
本発明の一実施形態に係るスロットマシンの前面扉を開けた状態の正面図である。
本発明の一実施形態に係るスロットマシンの入賞ラインを示す図、及び液晶表示装置の動作を示す図である。
本発明の一実施形態に係るスロットマシンの制御部の回路ブロック図である。
本発明の一実施形態に係るスロットマシンの各リールに施された図柄の配列を平面的に展開して示す図である。
本発明の一実施形態に係るスロットマシンの入賞役の一部(主として押し順役)の操作内容ごとの表示態様と払出枚数を示す表である。
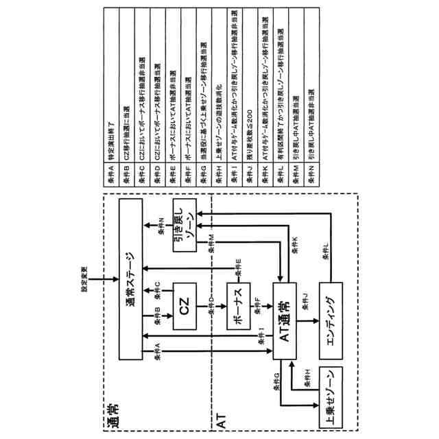
本発明の一実施形態に係るスロットマシンの遊技状態の遷移図である。
(a)は引き戻しゾーン移行抽選の移行当選確率を示した図であり、(b)は引き戻しゾーンにおいて実行される引き戻しゾーン中AT抽選のAT当選確率を示した図である。
引き戻しゾーンを経由した場合の差枚数の増減の一例を示すグラフである。
本発明の一実施形態に係るスロットマシンの主制御部メイン処理の流れを示すフローチャートである。
本発明の一実施形態に係るスロットマシンの主制御部タイマ割込処理の流れを示すフローチャートである。
本発明の一実施形態に係るスロットマシンの第1副制御部メイン処理、第1副制御部コマンド受信割込処理、及び第1副制御部タイマ割込処理の流れを示すフローチャートである。
本発明の一実施形態に係るスロットマシンの第2副制御部メイン処理、第2副制御部コマンド受信割込処理、第2副制御部タイマ割込処理、及び第2副制御部画像制御処理の流れを示すフローチャートである。
従来のスロットマシンにおいて、連続演出が開始され、その後、AT状態に移行する一例における問題点を指摘するための図である。
図14(a)を用いて説明したN+2G目とN+3G目の詳しいタイミングチャートと、各タイミングにおける液晶表示装置157の表示画面を示す図である。
図14(b)を用いて説明したN+2G目とN+3G目の詳しいタイミングチャートと、各タイミングにおける液晶表示装置157の表示画面を示す図である。
変則押しが行われたがペナルティが発生しなかったN+2G目と、N+3G目の詳しいタイミングチャートと、各タイミングにおける液晶表示装置157の表示画面を示す図である。
連続演出中において変則押しが行われた場合の一例と、非連続演出中において変則押しが行われた場合の一例をそれぞれ示した図である。
設定変更が行われた場合や電断復電した場合の、天井カウンタとゲーム数表示GMVの関係について示した図である。
(a)はこれまで説明した、連続演出中にペナルティが発生した場合の概要図であり、(b)はこれまで説明した、ペナルティが発生した場合の、ゲーム数表示GMVの表示の例を示す図であり、(c1)は連続演出中にペナルティが発生した場合に、これまでの例とは異なり待機遊技が行われる例の概念図であり、(c2)は連続演出中にペナルティが発生した場合に、同図(c1)とは異なる待機遊技が行われる例を説明するための図である。
液晶表示装置157の表示画面に表示される操作推奨表示RECの表示態様について複数の例を示した図である。
操作推奨表示RECが表示されている状態で、エラー表示ERRが表示された場合や、電断復電が生じた場合の例を示す図である。
(a)は主制御部300のROM306に記憶されている当選役データを示す図であり、(b)は主制御部300のCPU304が実行する有利区間移行処理のフローチャートである。
主制御部300のCPU304が制御する指示モニタに関する説明の図である。
図23(a)に示す当選役データの別例を示す図である。
連続演出が行われた後、確定告知演出が行われ、AT状態に移行する例を示す図である。
通常状態(非AT状態)からAT状態へ移行する場合の本前兆演出の流れについて説明する図である。
通常状態(非AT状態)において実行されるガゼ前兆演出の流れについて説明する図である。
期待感演出が行われる場合のタイミングチャートと、各タイミングにおける液晶表示装置157の表示画面を示す図である。
期待感演出が行われる100G目にペナルティが発生した場合のタイミングチャートと、各タイミングにおける液晶表示装置157の表示画面を示す図である。
期待感演出と小役アイコン告知演出を説明するための図である。
操作促進演出実行中に推奨押しと変則押しそれぞれが行われた場合の操作応答演出の例を示す図である。
確定演出後にペナルティ操作が行われない場合のタイミングチャートと、各タイミングにおける液晶表示装置157の表示画面を示した図である。
確定演出後にペナルティ操作が行われる場合のタイミングチャートと、各タイミングにおける液晶表示装置157の表示画面を示した図である。
(a)期待感演出の一つである爺セリフ演出の一例を示した図である。(b)期待感演出の一つである姫演出の一例を示した図である。
(a)期待感演出の一つである爺セリフ演出の変形例を示した図である。(b)は、期待感演出の一つである小役アイコン告知演出の一例を示した図である。
ステージAにおいてペナルティ操作が行われた場合のタイミングチャートと、各タイミングにおける液晶表示装置157の表示画面を示した図である。
ステージBにおいてペナルティ操作が行われた場合のタイミングチャートと、各タイミングにおける液晶表示装置157の表示画面を示した図である。
第2実施形態のスロットマシンにおける各リールに施された図柄の配列を平面的に展開して示す図である。
(a)は第2実施形態のスロットマシンにおける内部当選役をまとめて示した表であり、(b)は押し順ベル役の成立役と操作内容ごとの払出枚数を示す表である。
(a)は主制御部300のROM306に記憶されているテーブル選択テーブルを示す図であり、(b)は押し順当て特典付与判定処理の流れを示すフローチャートであり、(c)は2種類の上乗せ数決定テーブルそれぞれを示す図である。
押し順当てゲームの様子を示す図である。
押し順当てゲームの変形例を説明するための図である。
疑似遊技を説明するための図である。
第3実施形態のスロットマシンにおける各リールに施された図柄の配列を平面的に展開して示す図である。
第3実施形態のスロットマシンにおける主制御部メイン処理の流れを示すフローチャートである。
図46に示すステップS128における疑似遊技関連処理の流れを示すフローチャートである。
図47に示すステップS1282における疑似遊技のリール回転開始処理の流れを示すフローチャートである。
図47に示すステップS1283における疑似遊技のリール停止制御処理の流れを示すフローチャートである。
図47に示すステップS1284における疑似次遊技開始処理の流れを示すフローチャートである。
図46に示すステップS133におけるリール回転開始処理の流れを示すフローチャートである。
図51に示すステップS1336におけるランダム遅延回転開始処理の流れを示すフローチャートである。
図46に示すステップS143における特典付与抽選処理の流れを示すフローチャートである。
図46に示すステップS145における疑似遊技予約処理の流れを示すフローチャートである。
予約遊技において、レア役に内部当選している状態で推奨操作が行われ、次遊技では疑似遊技が実行されBB図柄を疑似停止させることに成功し、押し順ナビが実行されるBB遊技(AT状態)が開始される流れを示す図である。
予約遊技において、レア役に内部当選している状態であったが変則操作が行われ、次遊技では疑似遊技が実行されるもののフェイクの疑似遊技であり、AT状態に移行せずに本遊技が開始される流れを示す図である。
図56からの続きであり、疑似遊技に続く本遊技では推奨操作が行われ、2回目の予約遊技では、疑似遊技番号3の疑似遊技が予約され、その疑似遊技でBB図柄を疑似停止させることに成功し、押し順ナビが実行されるBB遊技(AT状態)が開始される流れを示す図である。
予約遊技で推奨押しが行われた場合と変則押しが行われた場合それぞれの遊技の流れを示す図である。
予約遊技のたびに変則押しが行われた場合の遊技の流れを示す図である。
スロットマシン100を正面側(遊技者側)から見た外観斜視図である。
制御部の回路ブロック図を示したものである。
(a)パネルユニット750を構成する主要部材を分解して示した分解斜視図である。(b)パネルユニット750を前面側から見た外観斜視図である。(c)パネルユニット750を背面側から見た外観斜視図である。
(a)パネルユニット750の側面図である。(b)パネルユニット750からパネル652を取り除いた状態を下方斜めから見た外観斜視図である。(c)同状態を上方斜めから見た外観斜視図である。
(a)パネルユニット750の正面図である。(b)(a)に示すA-A線に沿う側断面図と、その要部拡大図である。(c)上部演出ユニット650に取り付けられた状態のパネルユニット750からパネル652の図示を省略して示した部分拡大図である。
第5実施形態に係るスロットマシン1100を正面側(遊技者側)から見た正面図である。
下パネルユニット800を構成する部材を分解して示す分解斜視図である。
(a)カバー部材812の正面図であり、本体部812aの滑面エリア812aFと粗面エリア812aSの一例を示した図である。(b)装飾シート830の一例を示した正面図である。(c)(b)において符号Aで示す範囲を拡大して示した部分拡大図である。(d)(b)において符号Bで示す範囲を拡大して示した部分拡大図である。
スロットマシン1100と遊技者USRの位置関係を示した模式図である。
(a)第6実施形態に係るスロットマシン1200を正面側(遊技者側)から見た正面図である。(b)第6実施形態に係るスロットマシン1200の側面図である。
(a)証紙パネルユニット910の正面図である。(b)側面パネルユニット920の正面図である。
スロットマシン100と貸出機700を正面側(遊技者側)から見た外観斜視図である。
制御部の回路ブロック図である。
各基板と各ユニットの接続例を示す図である。
図73に示す主制御基板300Bと、同じく図73に示すリールユニット109との間に中継基板が設けられた例を示す図である。
図71に示すスロットマシン100および貸出機700を含む遊技システムの構成図である。
遊技機状態情報、遊技機性能情報や、および遊技機設置情報をまとめた表である。
遊技制御部302からメダル数制御部350に遊技制御状態コマンドが送信された場合の通信シーケンスを示す図である。
メダル数制御部350と貸出機700の間で行われる通信についての詳細を示す図である。
(a)は、ホールコン・不正監視情報の詳細を示す図であり、(b)は、エラーコードの一覧表である。
遊技制御状態コマンドを示す表である。
メダル数制御状態コマンドを示す表である。
遊技制御部302からメダル数制御部350に遊技制御優先コマンドが送信された場合の通信シーケンスを示す図である。
(a)は、遊技制御優先コマンドの詳細を示す図であり、(b)は、メダル数制御部350から遊技制御部302に返信される応答コマンドの詳細を示す図である。
遊技制御部302からメダル数制御部350に遊技制御優先コマンド2が送信された場合の通信シーケンスを示す図である。
遊技制御部メイン処理の流れを示すフローチャートである。
図85におけるメダル投入・スタートレバー受付処理(ステップS102)のフローチャートである。
図86におけるメダル投入中処理(ステップS1011)のフローチャートである。
図87における精算ボタン処理(ステップS1102)のフローチャートである。
図87、図88、図92におけるメダル数制御部宛変動情報送信処理(ステップS1111、ステップS1205、ステップS1605)のフローチャートである。
図89における三連コマンド送信処理(ステップS1307)のフローチャートである。
図86、図90におけるメダル数制御部宛優先コマンド送信処理(ステップS1014、S1403、S1406、ステップS1409)のフローチャートである。
図85におけるメダル付与処理(ステップS109)のフローチャートである。
遊技制御部タイマ割込処理の流れを示すフローチャートである。
図93におけるエラー監視処理(ステップS203)の一つである断線判定処理のフローチャートである。
図93におけるメダル数制御コマンド受信処理(ステップS206)のフローチャートである。
図93における遊技制御コマンド送信処理(ステップS207)のフローチャートである。
メダル数制御部メイン処理の流れを示すフローチャートである。
図97におけるRAM異常判定処理(ステップS302)のフローチャートである。
RAMクリア処理の対象範囲を示す表である。
図98等におけるエラー要求設定処理(ステップS3022)のフローチャートである。
【発明を実施するための形態】
【0009】
以下、本発明の実施形態について図面を用いて説明する。
【0010】
本実施形態のスロットマシンは、所定数の遊技媒体が投入され、かつ、複数種類の図柄がそれぞれ施された複数のリールが所定の回転開始指示操作を受け付けたことで回転を開始するとともに、その回転開始指示操作を受け付けたことに基づいて複数種類の役の内部当選の当否を抽選により判定し、その複数のリールそれぞれが、所定の回転停止指示操作を受け付けることで回転を個別に停止し、その抽選の結果に基づく役及びその複数のリールが停止したときの図柄組み合わせによって決まる条件が所定の払出し条件に、合致していれば遊技媒体を払い出して終了となり、合致していなければ遊技媒体を払い出さずに終了となる一連の遊技を進行する遊技台である。
(【0011】以降は省略されています)
この特許をJ-PlatPat(特許庁公式サイト)で参照する
関連特許
株式会社大都技研
遊技台
2か月前
株式会社大都技研
遊技台
1か月前
株式会社大都技研
遊技台
1か月前
株式会社大都技研
遊技台
1日前
株式会社大都技研
遊技台
1か月前
株式会社大都技研
遊技台
1か月前
株式会社大都技研
遊技台
1か月前
株式会社大都技研
遊技台
1か月前
株式会社大都技研
遊技台
1か月前
株式会社大都技研
遊技台
1か月前
株式会社大都技研
遊技台
1か月前
株式会社大都技研
遊技台
1か月前
株式会社大都技研
遊技台
1か月前
株式会社大都技研
遊技台
1か月前
株式会社大都技研
遊技台
1か月前
株式会社大都技研
遊技台
1か月前
株式会社大都技研
遊技台
1か月前
株式会社大都技研
遊技台
1か月前
株式会社大都技研
遊技台
1か月前
株式会社大都技研
遊技台
1か月前
株式会社大都技研
遊技台
1か月前
株式会社大都技研
遊技台
1か月前
株式会社大都技研
遊技台
1か月前
株式会社大都技研
遊技台
1か月前
株式会社大都技研
遊技台
1か月前
株式会社大都技研
遊技台
2か月前
株式会社大都技研
遊技台
2か月前
株式会社大都技研
遊技台
2か月前
株式会社大都技研
遊技台
2か月前
株式会社大都技研
遊技台
2か月前
株式会社大都技研
遊技台
1か月前
株式会社大都技研
遊技台
1か月前
株式会社大都技研
遊技台
1か月前
株式会社大都技研
遊技台
1か月前
株式会社大都技研
遊技台
1日前
株式会社大都技研
遊技台
1日前
続きを見る
他の特許を見る