TOP
|
特許
|
意匠
|
商標
特許ウォッチ
Twitter
他の特許を見る
公開番号
2025153968
公報種別
公開特許公報(A)
公開日
2025-10-10
出願番号
2024056712
出願日
2024-03-29
発明の名称
遊技台
出願人
株式会社大都技研
代理人
個人
,
個人
主分類
A63F
5/04 20060101AFI20251002BHJP(スポーツ;ゲーム;娯楽)
要約
【課題】遊技性が改良された遊技台を提供する。
【解決手段】内部当選結果決定手段と、遊技状態設定手段と、を備え、遊技状態設定手段は、第一の状態、第二の状態、第三の状態を設定可能な手段であり、第一の図柄を含んだ第一の停止表示態様となることで遊技者に有利になる場合があり、第一の状態は、第一の停止表示態様が表示される場合がある状態であり、第二の状態は、第一の状態よりも高い頻度で第一の停止表示態様が表示される場合がある状態であり、第一の状態は、第三の状態から移行する状態であり、第一の状態が終了すると第三の状態へ移行し、第二の状態は、第三の状態から移行する状態であり、第二の状態が終了すると第三の状態へ移行し、第一の停止表示態様は、遊技価値を用いずに遊技が可能となる再遊技当選結果に対応する停止表示態様ではない、ことを特徴とする遊技台。
【選択図】図51
特許請求の範囲
【請求項1】
内部当選結果を決定する内部当選結果決定手段と、
遊技の状態を設定する遊技状態設定手段と、
を備えた遊技台であって、
前記遊技状態設定手段は、第一の状態、第二の状態、第三の状態を設定可能な手段であり、
第一の図柄を含んだ第一の停止表示態様となることで遊技者に有利になる場合があり、
前記第一の状態は、前記第一の停止表示態様が表示される場合がある状態であり、
前記第二の状態は、前記第一の状態よりも高い頻度で前記第一の停止表示態様が表示される場合がある状態であり、
前記第一の状態は、前記第三の状態から移行する状態であり、
前記第一の状態が終了すると前記第三の状態へ移行し、
前記第二の状態は、前記第三の状態から移行する状態であり、
前記第二の状態が終了すると前記第三の状態へ移行し、
前記第一の停止表示態様は、遊技価値を用いずに遊技が可能となる再遊技当選結果に対応する停止表示態様ではない、
ことを特徴とする遊技台。
続きを表示(約 730 文字)
【請求項2】
請求項1に記載の遊技台であって、
前記第三の状態において第一の条件が成立すると前記第一の状態へ移行し、
前記第三の状態において第二の条件が成立すると前記第二の状態へ移行し、
前記第一の条件が成立した場合も、前記第二の条件が成立した場合も、いずれの条件が成立したかはリールの停止表示態様からは判別困難となるよう構成される、
ことを特徴とする遊技台。
【請求項3】
請求項1または2に記載の遊技台であって、
前記第一の停止表示態様は、複数種類の停止表示態様があるよう構成され、
前記第一の状態において前記複数種類のうち特定種類の第一の停止表示態様となることで前記第三の状態へ移行し、
前記第二の状態において前記複数種類のうち所定種類の第一の停止表示態様となることで有利な状態に関する抽選が行われる、
ことを特徴とする遊技台。
【請求項4】
請求項1または2に記載の遊技台であって、
前記内部当選結果決定手段は、内部当選結果として決定された状態を以降の遊技に持ち越し可能な第一の特定当選結果を決定可能に構成され、
前記内部当選結果決定手段は、内部当選結果として決定された状態を以降の遊技に持ち越し可能な第二の特定当選結果を決定可能に構成され、
前記第一の状態は、前記第一の特定当選結果を持ち越している状態であり、
前記第二の状態は、前記第二の特定当選結果を持ち越している状態であり、
前記特定種類の第一の停止表示態様は、前記第一の特定当選結果に対応する停止表示態様である、
ことを特徴とする遊技台。
発明の詳細な説明
【技術分野】
【0001】
本発明は、回胴遊技機(スロットマシン)や弾球遊技機(パチンコ機)に代表される遊技台に関する。
続きを表示(約 4,800 文字)
【背景技術】
【0002】
従来、遊技台は、遊技の興趣を向上させるために様々な遊技状態を設けたものがあり、例えば、特許文献1では操作態様を報知するAT状態やAT状態へ導くCZ状態を備え、特許文献2では操作態様を報知することでリプレイ確率が異なる遊技状態へ誘導していく遊技性が提案されている。
【先行技術文献】
【特許文献】
【0003】
特開2021-49146号公報
特開2011-156165号公報
【発明の概要】
【発明が解決しようとする課題】
【0004】
しかしながら従来の遊技台には、その遊技性において未だ改良の余地がある。
【0005】
本件はこのような事情に鑑み、遊技性が改良された遊技台を提供することを目的とする。
【課題を解決するための手段】
【0006】
上記課題を解決するため、本発明の遊技台は、
内部当選結果を決定する内部当選結果決定手段と、
遊技の状態を設定する遊技状態設定手段と、
を備えた遊技台であって、
前記遊技状態設定手段は、第一の状態、第二の状態、第三の状態を設定可能な手段であり、
第一の図柄を含んだ第一の停止表示態様となることで遊技者に有利になる場合があり、
前記第一の状態は、前記第一の停止表示態様が表示される場合がある状態であり、
前記第二の状態は、前記第一の状態よりも高い頻度で前記第一の停止表示態様が表示される場合がある状態であり、
前記第一の状態は、前記第三の状態から移行する状態であり、
前記第一の状態が終了すると前記第三の状態へ移行し、
前記第二の状態は、前記第三の状態から移行する状態であり、
前記第二の状態が終了すると前記第三の状態へ移行し、
前記第一の停止表示態様は、遊技価値を用いずに遊技が可能となる再遊技当選結果に対応する停止表示態様ではない、
ことを特徴とする。
【発明の効果】
【0007】
本発明によれば、遊技性が改良された遊技台を提供することができる。
【図面の簡単な説明】
【0008】
スロットマシン100を正面側(遊技者側)から見た外観斜視図である。
入賞ラインの一例を示す図である。
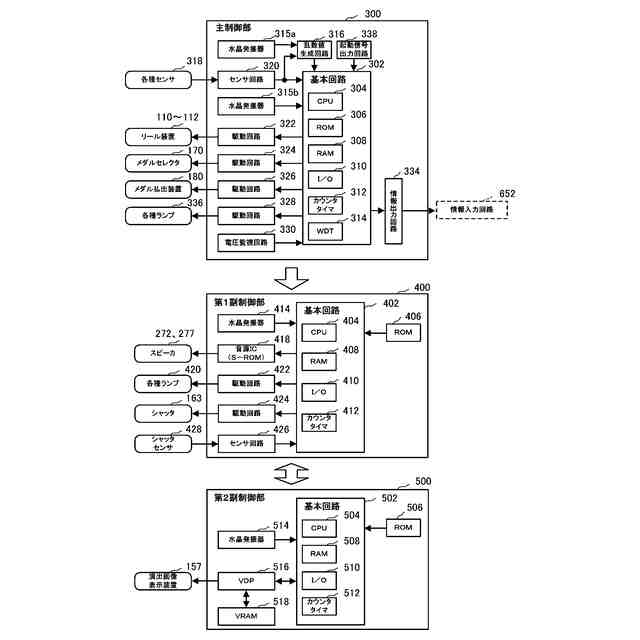
制御部の回路ブロック図である。
各リールに施された図柄の配列を平面的に展開して示す図である。
主制御部メイン処理の流れを示すフローチャートである。
主制御部タイマ割込処理の流れを示すフローチャートである。
(a)は、第1副制御部400のCPU404が実行するメイン処理のフローチャートであり、(b)は、第1副制御部400のコマンド受信割込処理のフローチャートであり、(c)は、第1副制御部400のタイマ割込処理のフローチャートである。
(a)は、第2副制御部500のCPU504が実行するメイン処理のフローチャートであり、(b)は、第2副制御部500のコマンド受信割込処理のフローチャートであり、(c)は、第2副制御部500のタイマ割込処理のフローチャートであり、(d)は、第2副制御部500の画像制御処理のフローチャートである。
疑似ボーナスの内容を示す図である。
疑似ボーナス中の動作の一例を示す図である。
左第一停止操作において番号10のBAR図柄を狙った場合の停止態様を示す図である。
左第一停止操作において番号15の青7図柄を狙った場合の停止態様を示す図である。
左第一停止操作において番号4の桃7図柄を狙った場合の停止態様を示す図である。
内部当選役に応じた小役示唆演出の一例を示す図である。
図7のステップS309において遊技開始時(スタートレバー135操作時)に実行される処理の一例を示すフローチャートである。
小役示唆演出の規制の一例を示す図である。
スロットマシン100を正面側(遊技者側)から見た外観斜視図である。
入賞ラインの一例を示す図である。
制御部の回路ブロック図である。
各リールに施された図柄の配列を平面的に展開して示す図である。
内部当選役の一例を示す図である。
図17に示すスロットマシン100の遊技状態の遷移図である。
主制御部メイン処理の流れを示すフローチャートである。
主制御部タイマ割込処理の流れを示すフローチャートである。
(a)は、第1副制御部400のCPU404が実行するメイン処理のフローチャートであり、(b)は、第1副制御部400のコマンド受信割込処理のフローチャートであり、(c)は、第1副制御部400のタイマ割込処理のフローチャートである。
(a)は、第2副制御部500のCPU504が実行するメイン処理のフローチャートであり、(b)は、第2副制御部500のコマンド受信割込処理のフローチャートであり、(c)は、第2副制御部500のタイマ割込処理のフローチャートであり、(d)は、第2副制御部500の画像制御処理のフローチャートである。
(a)~(d)は、遊技の流れの一例を示す図である。
(a)、(b)は操作ナビについての動作例を示す図であり、(c)は指示モニタの表示内容の一例を示す図である。
リプレイおよび小役の一例を示す図である。
ボーナス役の一例を示す図である。
(a)は内部当選役の一例を示す図であり、(b)(c)はボーナス役と重複するか否かを示す図である。
図22とは異なる遊技状態の遷移図を示す図である。
図32の一部(規定数2の遷移)を具体的に示す図である。
(a)は規定数を変更する条件を示す図であり、(b)は図32を簡略化した遷移図である。
規定数3の遊技におけるボーナス表示の演出の一例を示す図である。
規定数2の遊技におけるボーナス表示の演出の一例を示す図である。
特別報知の期間の一例を示す図である。
ボーナス状態を経由して規定数を変更する一例を示す図である。
ボーナス状態を経由して規定数を変更する一例を示す図である。
ボーナス状態を経由して規定数を変更する一例を示す図である。
(a)は図34におけるBB1、およびMB3に関する動作を異ならせた一例を示す図であり、(b)は(a)において内部当選する役の一部を示す図である。
(a)は図38におけるBB3に関する動作を異ならせた一例を示す図であり、(b)は(a)において内部当選する役の一部を示す図である。
各リールに施された図柄の配列を平面的に展開して示す図である
入賞役(ボーナス役)の名称、役の図柄組み合わせを示す図である。
JAC揃いに関連する条件装置を示す図である。
チャンス役のJAC揃いのパターンおよび構成する条件装置を示す図である。
内部当選役と遊技状態に応じた遊技結果の一例を示す図である。
内部当選役と遊技状態に応じた遊技結果の一例を示す図である。
内部当選役と遊技状態に応じた遊技結果の一例を示す図である。
内部当選役と遊技状態に応じた遊技結果の一例を示す図である。
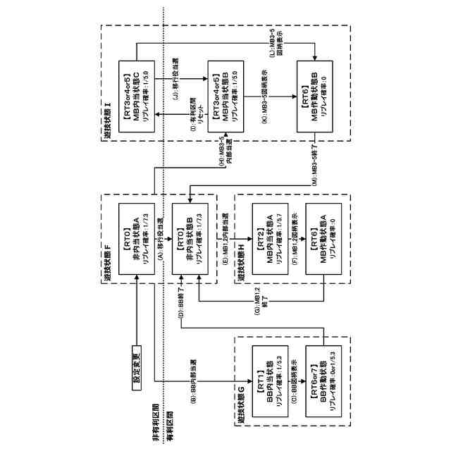
遊技状態の遷移の一例を示す図である。
図51の非内当状態Aからの移行の例を示すタイミングチャートである。
図51の一部(遊技状態GのBB作動状態)を具体的に示す図である。
図51の一部(遊技状態Iの遷移)を具体的に示す図である。
3択役B_C1に内部当選した場合の停止操作に応じた停止態様を示す図である。
図23のステップS117の状態更新処理において実行される非有利区間処理の流れを示すフローチャートである。
図54のMB内当状態Cからの移行の例を示すタイミングチャートである。
図53の変形例を示す図である。
MB表示契機成立確率、MB表示確率、JAC揃い表示確率を示す図である。
本発明の一実施形態2に係るスロットマシンの外観を示す斜視図である。
実施形態2に係るスロットマシンの内部構成を示す図である。
メダルレススロットマシンが備える前面扉1102の一部を正面側(遊技者側)から見た外観図である。
(a)下皿1200を構成する部材を分解して示す分解斜視図である。(b)下皿ベース1202の係止ツメ1208b2を上方から見た部分拡大図である。(c)下皿カバー1208の底面1208aと背面立壁1208bの断面を示した断面図である。
(a)証紙取付ユニット1250を前方から見た外観斜視図である。(b)証紙取付ユニット1250を後方から見た外観斜視図である。
前面扉1102の下部を背面から見た外観斜視図である。
(a)証紙取付ユニット1250を前面扉1102に取り付ける前の状態を示した外観斜視図と模式図である。(b)証紙取付ユニット1250を前面扉1101に取り付けた後の状態を示した外観斜視図と模式図である。
(a)メダルレススロットマシンの扉中継基板1300の一部を示す正面図である。(b)扉中継基板1300におけるクリアスイッチ1304とリセットスイッチ1306の周辺を拡大して示す部分拡大図である。
(a)図67(a)におけるX-X線に沿う断面図である。(b)図67(a)におけるY-Y線に沿う断面図である。(c)本発明に係る「隆起部」の変形例を示した図である。
本発明に係る「隆起部」の変形例を示した図である。
扉中継基板1300を模式的に示した平面図である。
一つのリールに対して二つのストップボタンを設けたスロットマシン100を示す図である。
小ストップボタン137b~139bおよび大ストップボタン137a~139aを示す図である。
スロットマシン100の前面側に向かって設けられた小ストップボタン137b~139bと大ストップボタン137a~139aを示す図である。
小ストップボタン137b~139bと大ストップボタン137a~139aを一体化した例を示す図である。
小ストップボタン137b~139bを矩形にした例を示す図である。
【発明を実施するための形態】
【0009】
以下、図面を用いて、本発明の遊技台の実施形態に係るスロットマシンについて説明する。
【0010】
以下説明する本実施形態のスロットマシンは、所定数の遊技媒体が投入され、且つ、複数種類の図柄がそれぞれ施された複数のリールが所定の回転開始指示操作を受け付けたことで回転を開始するとともに、その回転開始指示操作を受け付けたことに基づいて複数種類の役の内部当選の当否を抽選により判定し、その複数のリールそれぞれが、所定の回転停止指示操作を受け付けることで回転を個別に停止し、その抽選の結果に基づく役およびその複数のリールが停止したときの図柄組み合わせによって決まる条件が所定の払出し条件に、合致していれば遊技媒体を払い出して終了となり、合致していなければ遊技媒体を払い出さずに終了となる一連の遊技を進行する遊技台である。
(【0011】以降は省略されています)
この特許をJ-PlatPat(特許庁公式サイト)で参照する
関連特許
株式会社大都技研
遊技台
今日
株式会社大都技研
遊技台
1か月前
株式会社大都技研
遊技台
1か月前
株式会社大都技研
遊技台
1か月前
株式会社大都技研
遊技台
1か月前
株式会社大都技研
遊技台
今日
株式会社大都技研
遊技台
1か月前
株式会社大都技研
遊技台
1か月前
株式会社大都技研
遊技台
1か月前
株式会社大都技研
遊技台
1か月前
株式会社大都技研
遊技台
1か月前
株式会社大都技研
遊技台
1か月前
株式会社大都技研
遊技台
1か月前
株式会社大都技研
遊技台
1か月前
株式会社大都技研
遊技台
1か月前
株式会社大都技研
遊技台
1か月前
株式会社大都技研
遊技台
1か月前
株式会社大都技研
遊技台
1か月前
株式会社大都技研
遊技台
2か月前
株式会社大都技研
遊技台
3か月前
株式会社大都技研
遊技台
3か月前
株式会社大都技研
遊技台
3か月前
株式会社大都技研
遊技台
3か月前
株式会社大都技研
遊技台
3か月前
株式会社大都技研
遊技台
3か月前
株式会社大都技研
遊技台
2か月前
株式会社大都技研
遊技台
1か月前
株式会社大都技研
遊技台
2か月前
株式会社大都技研
遊技台
2か月前
株式会社大都技研
遊技台
2か月前
株式会社大都技研
遊技台
2か月前
株式会社大都技研
遊技台
1か月前
株式会社大都技研
遊技台
1か月前
株式会社大都技研
遊技台
1か月前
株式会社大都技研
遊技台
1か月前
株式会社大都技研
遊技台
1か月前
続きを見る
他の特許を見る