TOP
|
特許
|
意匠
|
商標
特許ウォッチ
Twitter
他の特許を見る
10個以上の画像は省略されています。
公開番号
2025150918
公報種別
公開特許公報(A)
公開日
2025-10-09
出願番号
2024052081
出願日
2024-03-27
発明の名称
遊技台
出願人
株式会社大都技研
代理人
弁理士法人大塚国際特許事務所
主分類
A63F
5/04 20060101AFI20251002BHJP(スポーツ;ゲーム;娯楽)
要約
【課題】基板に特徴のある遊技台を提供すること。
【解決手段】或る基板を備えた遊技台であって、前記或る基板は、第一の面と、該第一の面とは反対の第二の面とを有し、前記第一の面には第一の回路構成部品が実装され、前記第二の面には第二の回路構成部品が実装され、前記第一の面には前記第二の回路構成部品の第二のリードが突出しており、前記第一の面から前記第一の回路構成部品の先端までの高さは、第一の長さであり、前記第一の面から前記第二のリードの先端までの高さは、第二の長さであり、前記第二の長さは、前記第一の長さよりも長い。
【選択図】図343
特許請求の範囲
【請求項1】
或る基板を備えた遊技台であって、
前記或る基板は、第一の面と、該第一の面とは反対の第二の面とを有し、
前記第一の面には第一の回路構成部品が実装され、
前記第二の面には第二の回路構成部品が実装され、
前記第一の面には前記第二の回路構成部品の第二のリードが突出しており、
前記第一の面から前記第一の回路構成部品の先端までの高さは、第一の長さであり、
前記第一の面から前記第二のリードの先端までの高さは、第二の長さであり、
前記第二の長さは、前記第一の長さよりも長い、
ことを特徴とする遊技台。
続きを表示(約 540 文字)
【請求項2】
請求項1に記載の遊技台であって、
底板を備え、
前記或る基板を取り外して前記第一の面を下にして前記底板の平面に置いた場合に、前記第一の回路構成部品が該底板に接触しないように構成されている、
ことを特徴とする遊技台。
【請求項3】
請求項2に記載の遊技台であって、
前記底板は、少なくとも一部が非金属製であり、
前記或る基板は、前記第一の面を下にして前記底板の前記非金属製の部分に置くことが可能な基板である、
ことを特徴とする遊技台。
【請求項4】
請求項1乃至3の何れか一項に記載の遊技台であって、
前記第二の面には第三の回路構成部品が実装され、
前記第一の面には前記第三の回路構成部品の第三のリードが突出しており、
前記第一の面から前記第三のリードの先端までの高さは、第三の長さであり、
前記第三の長さは、前記第一の長さよりも長く、
前記第三のリードは、或る方向で前記第二のリードから離間しており、
前記第一の回路構成部品の前記或る方向の位置は、前記第二のリードと前記第三のリードとの間の位置である、
ことを特徴とする遊技台。
発明の詳細な説明
【技術分野】
【0001】
本発明は、弾球遊技機(パチンコ機)、回胴遊技機(スロットマシン)、封入式遊技機あるいはメダルレススロットマシンに代表される遊技台に関する。
続きを表示(約 6,600 文字)
【背景技術】
【0002】
遊技台の一つとして、例えば、スロットマシンが知られている(例えば、特許文献1参照)。
【先行技術文献】
【特許文献】
【0003】
特開2005-296354号公報
【発明の概要】
【発明が解決しようとする課題】
【0004】
スロットマシンに代表される遊技台では、回路構成部品が実行された基板が用いられている。従来の遊技台では基板に改善の余地がある。
【0005】
本発明の目的は、基板に特徴のある遊技台を提供することにある。
【課題を解決するための手段】
【0006】
本発明によれば、
或る基板を備えた遊技台であって、
前記或る基板は、第一の面と、該第一の面とは反対の第二の面とを有し、
前記第一の面には第一の回路構成部品が実装され、
前記第二の面には第二の回路構成部品が実装され、
前記第一の面には前記第二の回路構成部品の第二のリードが突出しており、
前記第一の面から前記第一の回路構成部品の先端までの高さは、第一の長さであり、
前記第一の面から前記第二のリードの先端までの高さは、第二の長さであり、
前記第二の長さは、前記第一の長さよりも長い、
ことを特徴とする遊技台が提供される。
【発明の効果】
【0007】
本発明によれば、基板に特徴のある遊技台を提供することができる。
【図面の簡単な説明】
【0008】
スロットマシン100を正面側(遊技者側)から見た外観斜視図である。
入賞ラインの一例を示す図である。
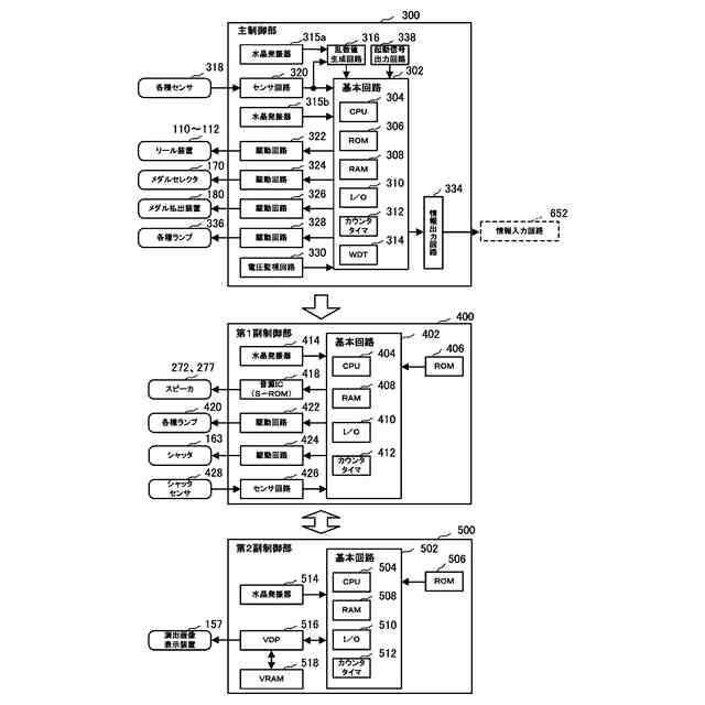
制御部の回路ブロック図である。
各リールに施された図柄の配列を平面的に展開して示す図である。
入賞役(作動役を含む)の種類、各入賞役に対応する図柄組み合わせ、各入賞役の払出を示す図である。
スロットマシン100の遊技の状態(RT)の遷移図である。
スロットマシン100の有利区間、非有利区間に関する遊技の状態の遷移を示す図である。
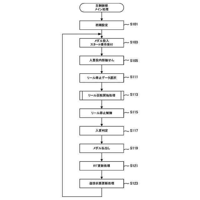
主制御部メイン処理の流れを示すフローチャートである。
主制御部タイマ割込処理の流れを示すフローチャートである。
(a)は、第1副制御部400のCPU404が実行するメイン処理のフローチャートであり、(b)は、第1副制御部400のコマンド受信割込処理のフローチャートであり、(c)は、第1副制御部400のタイマ割込処理のフローチャートである。
(a)は、第2副制御部500のCPU504が実行するメイン処理のフローチャートであり、(b)は、第2副制御部500のコマンド受信割込処理のフローチャートであり、(c)は、第2副制御部500のタイマ割込処理のフローチャートであり、(d)は、第2副制御部500の画像制御処理のフローチャートである。
或る遊技において第一の操作指示報知を行った場合の報知例を時系列で示した図である。
或る遊技において第二の操作指示報知を行った場合の報知例を時系列で示した図である。
(a)電源がOFFの状態において設定キーをオフからオンにした状態のスロットマシン100の正面図である。(b)第一の状態において第一の報知を実行した例を示した正面図である。(c)第二の状態において第二の報知を実行した例を示した正面図である。
(a)設定変更操作の例1を時系列で示した図である。(b)設定変更操作の例2を時系列で示した図である。
(a)設定変更操作の例3を時系列で示した図である。(b)設定変更操作の例4を時系列で示した図である。
スロットマシン100を正面側(遊技者側)から見た外観斜視図である。
ラインの一例を示す図である。
スロットマシン100の内部構成を示す図である。
リールユニット700の構成を示す斜視図である。
(a)はバックライトモジュール740の構造を示す斜視図であり、(b)はバックライトモジュール740の正面図である。
図19に示す第1選択スイッチ190等を示す図である。
第1選択スイッチ190および第2選択スイッチ194を用いた設定値の選択例を示す図である。
制御部の回路ブロック図を示したものである。
各基板と各ユニットの接続例を示す図である。
電断状態のスロットマシン100の前面扉102を開けて、左リール110を手動で回転させている様子を示す図である。
(a)は図19に示すホッパーユニット180を斜め上から見た斜視図であり、(b)はホッパーディスク182を手動で回転させている様子を示す図である。
図25に示す主制御基板300Bと、同じく図25に示すホッパーユニット180およびリールユニット700との間に中継基板が設けられた例を示す図である。
(a)は第2実施形態のスロットマシンの内部構成を示す図であり、(b)は立った姿勢の人H1の視野範囲を模式的に示す側面図であり、(c)は座った姿勢の人H2の視野範囲を模式的に示す側面図である。
第2実施形態のスロットマシンを内部がわかるように示した平面図である。
図25に示す、各基板と各ユニットの接続例の変形例を示す図である。
リールモータ駆動IC322iと24V電源ラインの間に設けられた保護回路の具体例を示した図である。
スロットマシン100を正面側(遊技者側)から見た外観斜視図である。
ラインの一例を示す図である。
スロットマシン100の内部構成を示す図である。
メダルセレクタ170を説明するための図である。
(a)は設定値表示器293に表示される設定値の表示順を示す表であり、(b)は設定値ごとの性能の違いをまとめた表であり、(c)~(f)は設定関連報知(設定示唆報知、設定確定報知)の一例を示す図である。
制御部の回路ブロック図である。
主制御部メイン処理の流れを示すフローチャートである。
主制御部タイマ割込処理の流れを示すフローチャートである。
図39における主制御部初期設定処理(ステップS101)の流れを示すフローチャートである。
図41における設定変更処理(ステップS1013)の流れを示すフローチャートである。
(a)は第1副制御部400のCPU404が実行するメイン処理のフローチャートであり、(b)は第1副制御部400のコマンド受信割込処理のフローチャートであり、(c)は第1副制御部400のタイマ割込処理のフローチャートである。
(a)は第2副制御部500のCPU504が実行するメイン処理のフローチャートであり、(b)は第2副制御部500のコマンド受信割込処理のフローチャートであり、(c)は第2副制御部500のタイマ割込処理のフローチャートであり、(d)は第2副制御部500の画像制御処理のフローチャートである。
設定変更によって設定bに設定する手順と関係する構成要素の状態をまとめた表である。
図45における(ア)から(シ)までの各段階における構成要素の様子を模式的に示す図である。
(a)は設定値が設定bに設定されている状態で前面扉102の開閉を繰り返した場合の関係する構成要素の状態をまとめた表であり、(b)は設定値が設定bに設定されている状態で第三停止後すぐに精算操作が行われた場合の関係する構成要素の状態をまとめた表である。
図47の各段階における構成要素の様子を模式的に示した図である。
(a)はデフォルトの設定値である設定1に設定されている状態で設定確認を行う場合の関係する構成要素の状態をまとめた表であり、(b)は設定1に設定されている状態で省電力モードにおいて設定確認を行う場合の関係する構成要素の状態をまとめた表である。
図49の各段階における構成要素の様子を模式的に示した図である。
(a)は設定bに設定されている状態で設定確認を行う場合の関係する構成要素の状態をまとめた表であり、(b)は設定bに設定されている状態で省電力モードにおいて設定確認を行う場合の関係する構成要素の状態をまとめた表である。
図51の各段階における構成要素の様子を模式的に示した図である。
(a)はこの変形例におけるスロットマシンにおける遊技状態の遷移について説明するための図であり、(b)はRT1において役抽選の対象となる役の一部および当選確率の高低について説明するための図であり、(c)はRT2において役抽選の対象となる役の一部および当選確率の高低について説明するための図である。
RT1およびRT2の払出率の一例を示した図である。
設定変更後の前面扉102の閉鎖で第一の音声が出力される場合の関係する構成要素の状態をまとめた表である。
設定変更後に前面扉102を閉鎖する前にリールを回転させ、そのリールの回転中における前面扉102の閉鎖で第一の音声が出力される場合の関係する構成要素の状態をまとめた表である。
設定変更後に前面扉102を閉鎖する前にリールを回転させ、そのリールの回転中に電断復電が生じ、復電後のリール回転中に前面扉102を閉鎖した場合の関係する構成要素の状態をまとめた表である。
設定変更後に前面扉102を閉鎖する前に、投入したメダルを精算し払出中に前面扉102を閉鎖した場合の関係する構成要素の状態をまとめた表である。
設定変更後に前面扉102を閉鎖する前に、投入したメダルを精算し払出中に電断復電が生じ、復電後の払出中に前面扉102を閉鎖した場合の関係する構成要素の状態をまとめた表である。
設定変更後の設定確認中に前面扉102を閉鎖した場合の関係する構成要素の状態をまとめた表である。
設定変更後に第二の遊技状態に移行させた後に前面扉102を閉鎖した場合の関係する構成要素の状態をまとめた表である。
設定確認が一回行われた後、前面扉102の疑似閉鎖状態で設定キースイッチ281がオン状態にされ、投入したメダルの精算が行われた場合の関係する構成要素の状態をまとめた表である。
設定確認が一回行われた後、前面扉102の疑似閉鎖状態で設定キースイッチ281がオン状態にされ、遊技が1回行われた場合の関係する構成要素の状態をまとめた表である。
設定キースイッチ281がオフ状態でも設定値表示器293に設定値が表示される場合の関係する構成要素の状態をまとめた表である。
設定確認が一回行われた後、前面扉102の疑似閉鎖状態でメダル投入が行われてから設定キースイッチ281がオン状態にされ、投入したメダルの精算が行われた場合の関係する構成要素の状態をまとめた表である。
設定確認が一回行われた後、前面扉102の疑似閉鎖状態でメダル投入が行われてから設定キースイッチ281がオン状態にされ、遊技が行われた場合の関係する構成要素の状態をまとめた表である。
本発明を適用することができるパチンコ機を裏側から見た背面図である。
スロットマシン100と貸出機700を正面側(遊技者側)から見た外観斜視図である。
制御部の回路ブロック図である。
各基板と各ユニットの接続例を示す図である。
図70に示す主制御基板300Bと、同じく図70に示すリールユニット109との間に中継基板が設けられた例を示す図である。
図68に示すスロットマシン100および貸出機700を含む遊技システムの構成図である。
遊技機状態情報、遊技機性能情報や、および遊技機設置情報をまとめた表である。
遊技制御部302からメダル数制御部350に遊技制御状態コマンドが送信された場合の通信シーケンスを示す図である。
メダル数制御部350と貸出機700の間で行われる通信についての詳細を示す図である。
(a)は、ホールコン・不正監視情報の詳細を示す図であり、(b)は、エラーコードの一覧表である。
遊技制御状態コマンドを示す表である。
メダル数制御状態コマンドを示す表である。
遊技制御部302からメダル数制御部350に遊技制御優先コマンドが送信された場合の通信シーケンスを示す図である。
(a)は、遊技制御優先コマンドの詳細を示す図であり、(b)は、メダル数制御部350から遊技制御部302に返信される応答コマンドの詳細を示す図である。
遊技制御部302からメダル数制御部350に遊技制御優先コマンド2が送信された場合の通信シーケンスを示す図である。
遊技制御部メイン処理の流れを示すフローチャートである。
図82におけるメダル投入・スタートレバー受付処理(ステップS102)のフローチャートである。
図83におけるメダル投入中処理(ステップS1011)のフローチャートである。
図84における精算ボタン処理(ステップS1102)のフローチャートである。
図84、図85、図89におけるメダル数制御部宛変動情報送信処理(ステップS1111、ステップS1205、ステップS1605)のフローチャートである。
図86における三連コマンド送信処理(ステップS1307)のフローチャートである。
図83、図87におけるメダル数制御部宛優先コマンド送信処理(ステップS1014、S1403、S1406、ステップS1409)のフローチャートである。
図82におけるメダル付与処理(ステップS109)のフローチャートである。
遊技制御部タイマ割込処理の流れを示すフローチャートである。
図90におけるエラー監視処理(ステップS203)の一つである断線判定処理のフローチャートである。
図90におけるメダル数制御コマンド受信処理(ステップS206)のフローチャートである。
図90における遊技制御コマンド送信処理(ステップS207)のフローチャートである。
メダル数制御部メイン処理の流れを示すフローチャートである。
図94におけるRAM異常判定処理(ステップS302)のフローチャートである。
RAMクリア処理の対象範囲を示す表である。
図95等におけるエラー要求設定処理(ステップS3022)のフローチャートである。
図94における準備処理(ステップS303)のフローチャートである。
図94における遊技機情報通知送信処理(ステップS304)のフローチャートである。
図99における遊技機情報種別取得処理(ステップS3305)のフローチャートである。
【発明を実施するための形態】
【0009】
以下、図面を用いて、本発明の実施形態について説明する。以下の実施形態は、実施形態A~実施形態Cの3つの実施形態に大別されるが、各実施形態及び各実施形態に含まれる実施例、変形例等は、相互に適宜組み合わせ可能である。なお、各構成を示す符号は、その実施形態A、B、又はCにおいてのみ統一的に用いられている。したがって、例えば、実施形態Aの符号と同じ符号が実施形態Bでは他の構成を示す符号として用いられている場合がある。
【0010】
<<実施形態A>>
以下、本発明の遊技台の実施形態に係るスロットマシンについて説明する。なお、本明細書中の各実施例の構成については、矛盾しない限り自由に組み合わせることができる。
(【0011】以降は省略されています)
この特許をJ-PlatPat(特許庁公式サイト)で参照する
関連特許
株式会社大都技研
遊技台
1か月前
株式会社大都技研
遊技台
1か月前
株式会社大都技研
遊技台
1か月前
株式会社大都技研
遊技台
1か月前
株式会社大都技研
遊技台
1か月前
株式会社大都技研
遊技台
1か月前
株式会社大都技研
遊技台
1か月前
株式会社大都技研
遊技台
1か月前
株式会社大都技研
遊技台
1か月前
株式会社大都技研
遊技台
1か月前
株式会社大都技研
遊技台
1か月前
株式会社大都技研
遊技台
1か月前
株式会社大都技研
遊技台
1か月前
株式会社大都技研
遊技台
1か月前
株式会社大都技研
遊技台
1か月前
株式会社大都技研
遊技台
1か月前
株式会社大都技研
遊技台
1か月前
株式会社大都技研
遊技台
1か月前
株式会社大都技研
遊技台
1か月前
株式会社大都技研
遊技台
1か月前
株式会社大都技研
遊技台
1日前
株式会社大都技研
遊技台
1か月前
株式会社大都技研
遊技台
1か月前
株式会社大都技研
遊技台
29日前
株式会社大都技研
遊技台
1日前
株式会社大都技研
遊技台
1日前
株式会社大都技研
遊技台
1日前
株式会社大都技研
遊技台
21日前
株式会社大都技研
遊技台
21日前
株式会社大都技研
遊技台
1か月前
株式会社大都技研
遊技台
29日前
株式会社大都技研
遊技台
21日前
株式会社大都技研
遊技台
1か月前
株式会社大都技研
遊技台
1か月前
株式会社大都技研
遊技台
1か月前
株式会社大都技研
遊技台
1か月前
続きを見る
他の特許を見る