TOP
|
特許
|
意匠
|
商標
特許ウォッチ
Twitter
他の特許を見る
10個以上の画像は省略されています。
公開番号
2025146345
公報種別
公開特許公報(A)
公開日
2025-10-03
出願番号
2024047068
出願日
2024-03-22
発明の名称
遊技台
出願人
株式会社大都技研
代理人
個人
,
個人
主分類
A63F
5/04 20060101AFI20250926BHJP(スポーツ;ゲーム;娯楽)
要約
【課題】計数に特徴を有する遊技台を提供する
【解決手段】第一の操作手段の操作に応じて遊技価値数の計数処理を実行可能な遊技価値数制御手段を備え、第一の操作手段に対する操作時間が所定の時間よりも短い第一の操作が行われた場合に第一の数の遊技価値数の計数を実行し、第一の操作手段に対する操作時間が所定の時間以上の第二の操作が行われた場合に第一の数よりも多い第二の数の遊技価値数の計数を実行可能に構成されており、第一の操作に応じた計数処理によって遊技価値数記憶手段に記憶されている遊技価値数が或る値となった場合に第一の計数音を出力し、第二の操作に応じた計数処理によって遊技価値数記憶手段に記憶されている遊技価値数が或る値となった場合に第一の計数音を出力可能な音出力手段を備えた。
【選択図】図104
特許請求の範囲
【請求項1】
第一の操作手段と、
遊技の進行に関する制御を実行可能な遊技制御手段と、
遊技に利用される遊技価値に関する遊技価値数を管理可能な遊技価値数制御手段と、
音出力手段と、
を備えた遊技台であって、
前記遊技価値数制御手段は、遊技価値数を記憶可能な遊技価値数記憶手段を有する手段であり、
前記遊技価値数制御手段は、前記第一の操作手段の操作に応じて遊技価値数の計数処理を実行可能な手段であり、
前記第一の操作手段に対する第一の操作が行われた場合に、前記計数処理によって第一の数の遊技価値数の計数が実行可能に構成されており、
前記第一の操作手段に対する第二の操作が行われた場合に、前記計数処理によって前記第一の数よりも多い第二の数の遊技価値数の計数が実行可能に構成されており、
前記第一の操作は、前記第一の操作手段の操作時間が所定の時間よりも短い操作であり、
前記第二の操作は、前記第一の操作手段の操作時間が前記所定の時間以上の操作であり、
前記音出力手段は、前記第一の操作手段に対する前記第一の操作に応じた前記計数処理によって前記遊技価値数記憶手段に記憶されている遊技価値数が或る値となった場合に、第一の計数音を出力可能な手段であり、
前記音出力手段は、前記第一の操作手段に対する前記第二の操作に応じた前記計数処理によって前記遊技価値数記憶手段に記憶されている遊技価値数が前記或る値となった場合に、前記第一の計数音を出力可能な手段である、
ことを特徴とする遊技台。
続きを表示(約 1,000 文字)
【請求項2】
請求項1に記載の遊技台であって、
前記或る値は0であり、
前記音出力手段は、前記第一の操作手段に対する操作に応じた前記計数処理によって前記遊技価値数記憶手段に記憶されている遊技価値数が前記或る値となった場合に、前記第一の計数音の出力を開始した後で第二の計数音を出力可能に構成されている、
ことを特徴とする遊技台。
【請求項3】
請求項1または2に記載の遊技台であって、
前記音出力手段は、前記第一の操作手段に対する前記第一の操作に応じた前記計数処理によって前記遊技価値数記憶手段に記憶されている遊技価値数が前記或る値とならなかった場合に、前記第一の計数音とは異なる第三の計数音を出力可能な手段であり、
前記音出力手段は、前記第一の操作手段に対する前記第二の操作に応じた前記計数処理によって前記遊技価値数記憶手段に記憶されている遊技価値数が前記或る値とならなかった場合に、前記第一の計数音とは異なる第四の計数音を出力可能な手段である、
ことを特徴とする遊技台。
【請求項4】
請求項1または2に記載の遊技台であって、
前記音出力手段は、前記第一の操作手段に対する前記第一の操作に応じた前記計数処理によって前記遊技価値数記憶手段に記憶されている遊技価値数が前記或る値とならなかった場合に、第三の計数音を出力可能な手段であり、
前記音出力手段は、前記第一の操作手段に対する前記第二の操作に応じた前記計数処理によって前記遊技価値数記憶手段に記憶されている遊技価値数が前記或る値とならなかった場合に、第四の計数音を出力可能な手段であり、
前記第一の計数音は、前記第三の計数音または前記第四の計数音のいずれか一方の少なくとも一部と同じ音である、
ことを特徴とする遊技台。
【請求項5】
請求項2に記載の遊技台であって、
第二の操作手段を備え、
前記遊技価値数制御手段は、前記第二の操作手段に対する操作に応じて全ての遊技価値数を外部装置に送信する計数処理を可能な手段であり、
前記音出力手段は、前記第二の操作手段に対する操作によって前記計数処理を実行する際に、前記第一の計数音の出力を開始した後で前記第二の計数音を出力することが可能な手段である、
ことを特徴とする遊技台。
発明の詳細な説明
【技術分野】
【0001】
本発明は、弾球遊技機(パチンコ機)や回胴遊技機(スロットマシン)に代表される遊技台に関する。
続きを表示(約 6,500 文字)
【背景技術】
【0002】
従来、遊技台は、遊技を行うにあたって実際のメダルを必要としないもの(メダルレス)がある(例えば、特許文献1)。
【先行技術文献】
【特許文献】
【0003】
特開2023-58762号公報
【発明の概要】
【発明が解決しようとする課題】
【0004】
上記のような遊技台においては、所謂計数の制御に改良の余地がある。
【0005】
本発明は、計数に特徴を有する遊技台を提供することを目的とする。
【課題を解決するための手段】
【0006】
上記課題を解決するため、本発明の遊技台は、
第一の操作手段と、
遊技の進行に関する制御を実行可能な遊技制御手段と、
遊技に利用される遊技価値に関する遊技価値数を管理可能な遊技価値数制御手段と、
音出力手段と、
を備えた遊技台であって、
前記遊技価値数制御手段は、遊技価値数を記憶可能な遊技価値数記憶手段を有する手段であり、
前記遊技価値数制御手段は、前記第一の操作手段の操作に応じて遊技価値数の計数処理を実行可能な手段であり、
前記第一の操作手段に対する第一の操作が行われた場合に、前記計数処理によって第一の数の遊技価値数の計数が実行可能に構成されており、
前記第一の操作手段に対する第二の操作が行われた場合に、前記計数処理によって前記第一の数よりも多い第二の数の遊技価値数の計数が実行可能に構成されており、
前記第一の操作は、前記第一の操作手段の操作時間が所定の時間よりも短い操作であり、
前記第二の操作は、前記第一の操作手段の操作時間が前記所定の時間以上の操作であり、
前記音出力手段は、前記第一の操作手段に対する前記第一の操作に応じた前記計数処理によって前記遊技価値数記憶手段に記憶されている遊技価値数が或る値となった場合に、第一の計数音を出力可能な手段であり、
前記音出力手段は、前記第一の操作手段に対する前記第二の操作に応じた前記計数処理によって前記遊技価値数記憶手段に記憶されている遊技価値数が前記或る値となった場合に、前記第一の計数音を出力可能な手段である、
ことを特徴とする。
【発明の効果】
【0007】
本発明によれば、計数に特徴を有する遊技台を提供することができる。
【図面の簡単な説明】
【0008】
スロットマシン100と貸出機700を正面側(遊技者側)から見た外観斜視図である。
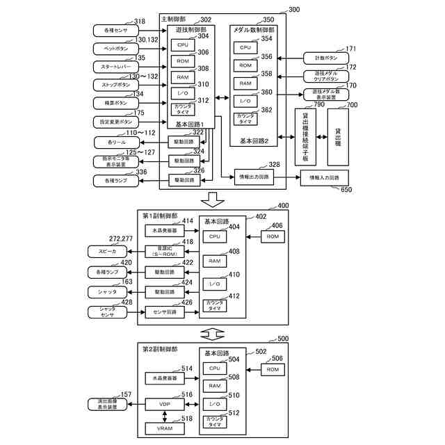
制御部の回路ブロック図である。
各基板と各ユニットの接続例を示す図である。
図3に示す主制御基板300Bと、同じく図3に示すリールユニット109との間に中継基板が設けられた例を示す図である。
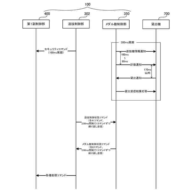
図1に示すスロットマシン100および貸出機700を含む遊技システムの構成図である。
遊技機状態情報、遊技機性能情報や、および遊技機設置情報をまとめた表である。
遊技制御部302からメダル数制御部350に遊技制御状態コマンドが送信された場合の通信シーケンスを示す図である。
メダル数制御部350と貸出機700の間で行われる通信についての詳細を示す図である。
(a)は、ホールコン・不正監視情報の詳細を示す図であり、(b)は、エラーコードの一覧表である。
遊技制御状態コマンドを示す表である。
メダル数制御状態コマンドを示す表である。
遊技制御部302からメダル数制御部350に遊技制御優先コマンドが送信された場合の通信シーケンスを示す図である。
(a)は、遊技制御優先コマンドの詳細を示す図であり、(b)は、メダル数制御部350から遊技制御部302に返信される応答コマンドの詳細を示す図である。
遊技制御部302からメダル数制御部350に遊技制御優先コマンド2が送信された場合の通信シーケンスを示す図である。
遊技制御部メイン処理の流れを示すフローチャートである。
図15におけるメダル投入・スタートレバー受付処理(ステップS102)のフローチャートである。
図16におけるメダル投入中処理(ステップS1011)のフローチャートである。
図17における精算ボタン処理(ステップS1102)のフローチャートである。
図17、図18、図22におけるメダル数制御部宛変動情報送信処理(ステップS1111、ステップS1205、ステップS1605)のフローチャートである。
図19における三連コマンド送信処理(ステップS1307)のフローチャートである。
図16、図20におけるメダル数制御部宛優先コマンド送信処理(ステップS1014、S1403、S1406、ステップS1409)のフローチャートである。
図15におけるメダル付与処理(ステップS109)のフローチャートである。
遊技制御部タイマ割込処理の流れを示すフローチャートである。
図23におけるエラー監視処理(ステップS203)の一つである断線判定処理のフローチャートである。
図23におけるメダル数制御コマンド受信処理(ステップS206)のフローチャートである。
図23における遊技制御コマンド送信処理(ステップS207)のフローチャートである。
メダル数制御部メイン処理の流れを示すフローチャートである。
図27におけるRAM異常判定処理(ステップS302)のフローチャートである。
RAMクリア処理の対象範囲を示す表である。
図28等におけるエラー要求設定処理(ステップS3022)のフローチャートである。
図27における準備処理(ステップS303)のフローチャートである。
図27における遊技機情報通知送信処理(ステップS304)のフローチャートである。
図32における遊技機情報種別取得処理(ステップS3305)のフローチャートである。
図27における計数通知送信処理(ステップS305)のフローチャートである。
図27における貸出通知受信確認処理(ステップS306)のフローチャートである。
図27における貸出受領結果応答送信処理(ステップS308)のフローチャートである。
メダル数制御部タイマ割込処理の流れを示すフローチャートである。
図37における貸出通知受信処理(ステップS404)のフローチャートである。
図38における貸出枚数判定処理(ステップS4004))のフローチャートである。
図37における計数予定枚数更新処理(ステップS405)のフローチャートである。
図37における遊技制御部コマンド受信処理(ステップS406)のフローチャートである。
図41における遊技制御状態コマンド受信処理(ステップS4304)のフローチャートである。
図41における遊技制御優先コマンド受信処理(ステップS4305)のフローチャート(前半)である。
図41における遊技制御優先コマンド受信処理(ステップS4305)のフローチャート(後半)である。
図44における投入コマンド受信処理(ステップS4517)のフローチャートである。
図44における精算コマンド受信処理(ステップS4519)のフローチャートである。
図44におけるスタートレバー受付コマンド受信処理(ステップS4521)のフローチャートである。
図47、図49における遊技情報設定処理(ステップS4806、S4A19)のフローチャートである。
図44における払出コマンド受信処理(ステップS4523)のフローチャートである。
図49における遊技メダル数オーバーフロー確認処理(ステップS4A11)のフローチャートである。
図44におけるエラー発生コマンド受信処理(ステップS4524)のフローチャートである。
図37におけるエラー監視処理(ステップS407)のフローチャートである。
図37における遊技制御部宛メダル数制御コマンド送信処理(ステップS408)のフローチャートである。
図37における表示器表示処理(ステップS409)のフローチャートである。
図17のメダル投入中処理の変形例を示すフローチャートである。
図20の三連コマンド送信処理の変形例を示すフローチャートである。
図45の投入コマンド受信処理の変形例を示すフローチャートである。
図40の計数予定枚数更新処理の変形例を示すフローチャートである。
図40の計数予定枚数更新処理の変形例を示すフローチャートである。
(a)は、第1副制御部400のCPU404が実行するメイン処理のフローチャートであり、(b)は、第1副制御部400のコマンド受信割込処理のフローチャートであり、(c)は、第1副制御部400のタイマ割込処理のフローチャートであり、(d)は、(a)におけるコマンド処理(ステップS307)のフローチャートである。
(a)は、第2副制御部500のCPU504が実行するメイン処理のフローチャートであり、(b)は、第2副制御部500のコマンド受信割込処理のフローチャートであり、(c)は、第2副制御部500のタイマ割込処理のフローチャートであり、(d)は、第2副制御部500の画像制御処理のフローチャートである。
計数ボタン171が操作された第1の例を示す図である。
計数が行われている際の演出の第1の例を示すタイミングチャートである。
計数ボタン171を操作する前にベット操作を行っていて賭数が0でなかった例を示すタイミングチャートである。
計数終了演出の例を示すタイミングチャートである。
精算ボタン134が操作された場合の一例を示すタイミングチャートである。
計数ボタン171の操作時間が長くなるにつれて計数される枚数が増加する場合がある例を示す図である。
(a)は、図67(c)に示す例の続きの一例を示すタイミングチャートであり、(b)は、図67(c)に示す例において、計数予定枚数に30枚が設定された状態で電断が生じ、その後、復電した場合の一例を示すタイミングチャートである。
図59の計数予定枚数更新処理を採用した一例を示すタイミングチャートである。
(a)は、RAM358に記憶されている「遊技メダル数」の値が或る値になったら自動計数が終了する例を示すタイミングチャートであり、(b)は、自動計数中に電断が生じ、復電した場合の例を示すタイミングチャートである。
自動計数中であることを表す表示例を示す図である。
自動計数中であることを表す音出力例を示す図である。
計数ボタン171の操作を開始してから、長押し操作の判定時間である0.5秒を経過する前に電断が生じた場合の一例を示すタイミングチャートである。
図73に示す例の変形例を示すタイミングチャートである。
図73に示す例の他の変形例を示すタイミングチャートである。
(a)は、遊技メダル数表示装置170における変化表示(減算)の一例を示す図であり、(b)は、遊技メダル数表示装置170における変化表示(加算)の一例を示す図である。
遊技メダル数表示装置170における他の変化表示の例を示す図である。
遊技メダル数表示装置170の他に、演出画像表示装置157でも、RAM358に記憶されている「遊技メダル数」の表示を行う例を示す図である。
図78に示す例の変形例を示す図である。
図78に示す例とは全く異なる別例を示す図である。
(a)は、払出用閾値を超えて払い出しが行われようとした場合のタイミングチャートであり、(b)は、上限越えエラー報知の他の一例を示す図である。
(a)は、払出用第2閾値を超えて払出が行われようとした場合のタイミングチャートであり、(b)は、上限間近報知の他の一例を示す図である。
計数を促す報知に緊急性の高いエラー報知が重なった場合の例を示す図である。
(a)は、デモンストレーション表示に移行しても計数を促す報知が継続する例を示す図であり、(b)は、デモ中に計数ボタン171が操作された後の報知例を示す図である。
(a)は、「遊技メダル数」が払出用閾値や払出用第2閾値といった或る規定数を一旦超えてからその規定数を下回った場合の報知例を示す図であり、(b)は、複数ゲームにわたって「遊技メダル数」が払出用第2閾値を超えている場合の計数を促す報知の例を示す図である。
(a)は、「遊技メダル数」が所定枚数増えるごとに計数を促す報知を行う例を示す図であり、(b)は、遊技者に有利な状態で計数ボタン171が操作された場合の例を示す図であり、(c)は、反対に遊技者に不利な状態で計数ボタン171が操作された場合の例を示す図である。
(a)は、図86(b)に示す例の変形例を示す図であり、(b)は、一旦強制的に終了させた計数が再び開始された例を示す図であり、(c)は、(a)及び(b)を用いて説明した変形例の、遊技者に不利な状態(例えば、通常状態)であったときの例である。
貸出機700からのVL信号がオフになった場合の例について示すタイミングチャートである。
「遊技メダル数」が、或る閾値未満であるか否かで動作が異なる第2変形例を示す図である。
貸出機700からのVL信号がオフになった場合の別例について示すタイミングチャートである。
計数ボタン171を長押ししたときの遊技メダル数の変化を示す図である。
遊技メダル数に応じて実行される演出の一例を示す図である。
AT状態における獲得メダル数に応じて実行される演出の一例を示す図である。
遊技メダル数のオーバーフローが生じた場合の動作の一例を示す図である。
メダル数制御断線エラー(エラーコードE0)が生じた場合の動作の一例を示す図である。
遊技メダル数の上限超えエラーとメダル数制御断線エラー(エラーコードE0)が重複して生じた場合の動作の一例を示す図である。
メダル数制御部断線エラーが生じた場合の動作の一例を示す図である。
計数処理に対する計数音の出力にあたって、当該音声の出力許可期間を設けた場合の動作の一例を示す図である。
図98(a)の動作におけるスロットマシン100の様子を示す図である。
図98(b)の動作におけるスロットマシン100の様子を示す図である。
【発明を実施するための形態】
【0009】
以下、図面を用いて、本発明の遊技台の実施形態に係るスロットマシンについて説明する。
【0010】
〈基本実施形態〉
以下、図面を用いて、本発明の遊技台の実施形態に係るスロットマシンについて説明する。なお、本実施形態は実際のメダルを用いずに、実メダルの枚数に相当する情報(仮想メダル数)を用いる、所謂メダルレスの構成を採用しているが、以下の説明ではこの情報について「メダル数」との記載を用いることとする。
(【0011】以降は省略されています)
この特許をJ-PlatPat(特許庁公式サイト)で参照する
関連特許
株式会社大都技研
遊技台
1か月前
株式会社大都技研
遊技台
22日前
株式会社大都技研
遊技台
1か月前
株式会社大都技研
遊技台
1か月前
株式会社大都技研
遊技台
1か月前
株式会社大都技研
遊技台
1か月前
株式会社大都技研
遊技台
22日前
株式会社大都技研
遊技台
22日前
株式会社大都技研
遊技台
22日前
株式会社大都技研
遊技台
22日前
株式会社大都技研
遊技台
22日前
株式会社大都技研
遊技台
22日前
株式会社大都技研
遊技台
22日前
株式会社大都技研
遊技台
16日前
株式会社大都技研
遊技台
22日前
株式会社大都技研
遊技台
22日前
株式会社大都技研
遊技台
22日前
株式会社大都技研
遊技台
22日前
株式会社大都技研
遊技台
22日前
株式会社大都技研
遊技台
22日前
株式会社大都技研
遊技台
22日前
株式会社大都技研
遊技台
22日前
株式会社大都技研
遊技台
22日前
株式会社大都技研
遊技台
1か月前
株式会社大都技研
遊技台
16日前
株式会社大都技研
遊技台
16日前
株式会社大都技研
遊技台
9日前
株式会社大都技研
遊技台
16日前
株式会社大都技研
遊技台
9日前
株式会社大都技研
遊技台
9日前
株式会社大都技研
遊技台
9日前
株式会社大都技研
遊技台
9日前
株式会社大都技研
遊技台
9日前
株式会社大都技研
遊技台
9日前
株式会社大都技研
遊技台
9日前
株式会社大都技研
遊技台
9日前
続きを見る
他の特許を見る