TOP
|
特許
|
意匠
|
商標
特許ウォッチ
Twitter
他の特許を見る
10個以上の画像は省略されています。
公開番号
2025163724
公報種別
公開特許公報(A)
公開日
2025-10-30
出願番号
2024067194
出願日
2024-04-18
発明の名称
遊技台
出願人
株式会社大都技研
代理人
個人
,
個人
主分類
A63F
5/04 20060101AFI20251023BHJP(スポーツ;ゲーム;娯楽)
要約
【課題】演出に特徴を持った遊技台を提供する。
【解決手段】遊技台は、複数のリールと、操作手段と、を備え、前記操作手段が操作されると前記リールが回転開始可能な第二の期間を有する。また、前記第二の期間が開始されてから第一の時間が経過した後に前記操作手段の操作を促す第一の報知が開始される第一の遊技が実行される場合があり、前記第二の期間が開始されてから第二の時間が経過した後に前記操作手段の操作を促す第二の報知が開始される第二の遊技が実行される場合がある。
【選択図】図6
特許請求の範囲
【請求項1】
複数のリールと、
操作手段と、
を備えた遊技台であって、
前記操作手段が操作されると前記リールが回転開始可能な期間(以下、「第二の期間」という。)を有し、
前記第二の期間が開始されてから第一の時間が経過した後に前記操作手段の操作を促す報知(以下、「第一の報知」という。)が開始される第一の遊技が実行される場合があり、
前記第二の期間が開始されてから第二の時間が経過した後に前記操作手段の操作を促す報知(以下、「第二の報知」という。)が開始される第二の遊技が実行される場合がある、
ことを特徴とする遊技台。
続きを表示(約 1,200 文字)
【請求項2】
請求項1に記載の遊技台であって、
前記操作手段は、スタートレバーを含み、
前記スタートレバーが操作されて遊技が開始してから前記操作手段の操作が無効となる期間(以下、「第一の期間」という。)を有し、
前記第二の期間は、前記第一の期間の後に開始される期間である、
ことを特徴とする遊技台。
【請求項3】
請求項2に記載の遊技台であって、
演出手段を備え、
前記演出手段は、第一の演出を実行可能であり、
前記第一の演出は、前記スタートレバーが操作されて遊技が開始してから第四の時間が経過するまでに結果を示す報知が実行される演出であり、
前記第一の期間は、第三の時間であり、
前記第四の時間は、前記第三の時間と前記第一の時間を加算した時間よりも短い時間である、
ことを特徴とする遊技台。
【請求項4】
請求項1または2に記載の遊技台であって、
前記第一の遊技において、前記第二の期間が開始されてから該第二の期間よりも長い期間が経過すると、前記第一の報知が開始された後に前記操作手段が操作されなくても前記リールが回転開始され、
前記第二の遊技において、前記第二の期間が開始されてから該第二の期間よりも長い期間が経過すると、前記第二の報知が開始された後に前記操作手段が操作されなくても前記リールが回転開始される、
ことを特徴とする遊技台。
【請求項5】
請求項1または2に記載の遊技台であって、
前記操作手段は、ベットボタンを含み、
前記第一の報知および前記第二の報知は、前記ベットボタンの態様が第一の態様から第二の態様に変化する報知を含む報知である、
ことを特徴とする遊技台。
【請求項6】
請求項3に記載の遊技台であって、
前記演出手段は、第二の演出を実行可能であり、
前記第二の演出は、前記スタートレバーが操作されて遊技が開始してから第五の時間が経過するまでに結果を示す報知が実行される演出であり、
前記第五の時間は、前記第三の時間と前記第二の時間を加算した時間よりも短い時間であり、
前記演出手段は、表示手段を含み、
前記第一の遊技において開始された前記第一の演出は、一連のアニメーション表示を含み、該アニメーション表示が終了した後に前記表示手段において少なくとも前記第一の報知が表示されるように構成されており、
前記第二の遊技において開始された前記第二の演出は、一連のアニメーション表示を含み、該アニメーション表示が終了した後に前記表示手段において少なくとも前記第二の報知が表示されるように構成されている、
ことを特徴とする遊技台。
発明の詳細な説明
【技術分野】
【0001】
本発明は、回胴遊技機(スロットマシン)、封入式遊技機あるいはメダルレススロットマシンに代表される遊技台に関する。
続きを表示(約 7,100 文字)
【背景技術】
【0002】
従来、遊技台の一つとして、例えば、スロットマシンが知られている。このようなスロットマシンには、各種の演出を実行するものがある(例えば、特許文献1参照)。
【先行技術文献】
【特許文献】
【0003】
特開2016-73461号公報
【発明の概要】
【発明が解決しようとする課題】
【0004】
しかしながら、従来の遊技台には、演出に改良の余地がある。
【0005】
本発明の目的は、演出に特徴を持った遊技台を提供することにある。
【課題を解決するための手段】
【0006】
本発明に係る遊技台は、複数のリールと、操作手段と、を備えた遊技台であって、前記操作手段が操作されると前記リールが回転開始可能な期間(以下、「第二の期間」という。)を有し、前記第二の期間が開始されてから第一の時間が経過した後に前記操作手段の操作を促す報知(以下、「第一の報知」という。)が開始される第一の遊技が実行される場合があり、前記第二の期間が開始されてから第二の時間が経過した後に前記操作手段の操作を促す報知(以下、「第二の報知」という。)が開始される第二の遊技が実行される場合がある、ことを特徴とする遊技台である。
【発明の効果】
【0007】
本発明に係る遊技台によれば、演出に特徴を持った遊技台を提供することができる。
【図面の簡単な説明】
【0008】
スロットマシン100を正面側(遊技者側)から見た外観斜視図である。
スロットマシン100の入賞ラインの一例を示す図である。
(a)前面扉102を開けた状態のスロットマシン100を示す正面図である。(b)スロットマシン100の側断面図である。
(a)バックライトモジュール630の正面図である。(b)バックライトモジュール630の側面図である。(c)バックライトモジュール630を構成する部材を分解して正面側から見た外観斜視図である。
制御部の回路ブロック図を示したものである。
複数種類の演出の大まかな流れを時系列で示した図である。
(a)演出Aの流れの一例を時系列で示したタイムチャートである。(b)演出A´の流れの一例を時系列で示したタイムチャートである。
演出Aの具体例1を時系列で示した図である。
演出Aの具体例1の続きを時系列で示した図である。
演出Aの具体例2を時系列で示した図である。
演出Aの具体例2の続きを時系列で示した図である。
演出A´の具体例を時系列で示した図である。
演出Bの流れの一例を時系列で示したタイムチャートである。
演出Bの具体例1を時系列で示した図である。
演出Bの具体例1の続きを時系列で示した図である。
演出Bの具体例2を時系列で示した図である。
演出Cの流れの一例を時系列で示したタイムチャートである。
演出Cの具体例1を時系列で示した図である。
演出Cの具体例1の続きを時系列で示した図である。
演出Cの具体例2を時系列で示した図である。
スロットマシン100を正面側(遊技者側)から見た外観斜視図である。
前面扉102を開けた状態のスロットマシン100を示す正面図である。
制御部の回路ブロック図を示したものである。
(a)各リール(左リール110、中リール111、右リール112)に施される図柄の配列を平面的に展開して示した図である。(b)入賞役(作動役を含む)の種類、各入賞役に対応する図柄組合せ、各入賞役の作動または払出を示した図である。
(a)リール中継基板ユニット700を電源中継基板ユニット600に取り付けた状態を示した平面図である。(b)リール中継基板ユニット700を電源中継基板ユニット600に取り付けた状態を示した側面図である。(c)リール中継基板ユニット700を電源中継基板ユニット600から取り外した状態を示した側面図である。
(a)電源中継基板ユニット600の正面図である。(b)電源中継基板ユニット600の背面図である。
電源中継基板ユニット600を構成する部材を分解して正面から見た分解図である。
電源中継基板ユニット600を構成する部材を分解して背面から見た分解図である。
基板支持体610のメイン側基板収容部612を拡大して示した部分拡大図である。
(a)メイン側電源中継基板640を基板支持体610のメイン側基板収容部612に収容した状態を示す正面図である。(b)メイン側電源中継基板640をメイン基板収容部612において正面視左方向に移動させた状態を示す平面図である。(c)メイン側電源中継基板640をメイン基板収容部612において正面視下方向に移動させた状態を示す平面図である。
(a)メイン側電源中継基板640を基板支持体610のメイン側基板収容部612に収容して取付ネジ646を取り付けた状態を示す正面図である。(b)(a)における符号Aの方向から見た図であって、取付ネジ646の近傍を拡大して示した拡大図である。
(a)リール中継基板ユニット700を正面側から見た正面図である。(b)リール中継基板ユニット700を右側面から見た側面図である。(c)リール中継基板ユニット700を構成する部材を分解して右側面から見た分解側面図である。
(a)メイン側リール中継基板742を正面側から見た正面図である。(b)メイン側リール中継基板742を上方から見た平面図である。(c)メイン側リール中継基板742を底面側から見た底面である。
(a)メイン側収容体744を正面側から見た正面図である。(b)メイン側収容体744を上方から見た平面図である。(c)メイン側収容体744を正面斜め上方から見た正面斜視図である。
(a)メイン側蓋体746を正面側から見た正面図である。(b)メイン側蓋体746を上方から見た平面図である。(c)メイン側蓋体746を正面斜め上方から見た正面斜視図である。
(a)板金部材710を正面側から見た正面図である。(b)板金部材710を上方から見た平面図である。(c)板金部材710を背面側から見た背面図である。
(a)板金部材710にメイン側収容体744を嵌め込んだ状態を正面側から見た正面図である。(b)板金部材710にメイン側収容体744を嵌め込んだ状態を背面側から見た背面図である。(c)板金部材710にメイン側収容体744を取り付ける様子を示した側面図である。
(a)板金部材710にメイン側収容体744とメイン側リール側中継基板742を取り付ける手順を示した側面図である。(b)メイン側収容体744とメイン側リール側中継基板742が取り付けられた板金部材710にメイン側蓋体746を取り付ける手順を示した側面図である。
メイン側リール中継基板742とサブ側リール中継基板772を並べて示した平面図である。
本体101の内部を示す正面図であって、リール中継基板ユニット700とリール110~112の接続関係を示した図である。
主制御部メイン処理の流れを示すフローチャートである。
(a)AT中抽選処理の流れを示すフローチャートである。(b)BB抽選テーブルの一例である。(c)BB当選時有利区間リセット抽選テーブルの一例である。
(a)AT中BB等抽選処理の流れを示すフローチャートである。(b)AT終了時処理の流れを示すフローチャートである。
或る遊技期間における差枚数の推移の一例を示したグラフである。
或る遊技期間における演出の一例を示した図である。
或る遊技期間における演出の一例(続き)を示した図である。
或る遊技期間における演出の一例(続き)を示した図である。
小役グループの一例を示した図である。
(a)AT中次回ナビ決定処理の流れを示すフローチャートである。(b)AT中ナビコマンド出力処理の流れを示すフローチャートである。
入賞判定時特典抽選処理の流れを示すフローチャートである。
(a)上乗せ抽選テーブルの一例を示した図である。(b)書き換え抽選テーブルの一例を示した図である。
或る遊技期間における遊技価値の純増数の変化の一例を示したグラフである。
或る遊技期間における獲得累計Pや累計払出の変化の一例を示した図である。
或る遊技期間における各種演出や操作ナビの一例を時系列で示した図である。
或る遊技期間における各種演出や操作ナビの一例を時系列で示した図である。
或る遊技期間における各種演出や操作ナビの一例を時系列で示した図である。
各リール(左リール110、中リール111、右リール112)に施される図柄の配列を平面的に展開して示した図である。
(a)小役グループの一例を示した図である。(b)指示モニタの表示例を示した図である。
(a)AT処理の流れを示すフローチャートである。(b)ジャッジ処理の流れを示すフローチャートである。
ポイント抽選テーブルの一例を示した図である。
AT中の各種演出の一例を時系列で示した図である。
(a)~(d)AT中の各種演出の一例を時系列で示した図である。(e)~(h)演出モード選択画面の一例を示した図である。(i)~(j)継続ジャッジ中の演出モード1における各種演出の一例を時系列で示した図である。
継続ジャッジ中の演出モード1における各種演出の一例を時系列で示した図である。
継続ジャッジ中の演出モード1における各種演出の一例を時系列で示した図である。
(a)~(b)演出モード選択画面の一例を示した図である。(c)~(i)継続ジャッジ中の演出モード2における各種演出の一例を時系列で示した図である。
継続ジャッジ中の演出モード2における各種演出の一例を時系列で示した図である。
(a)~(b)演出モード選択画面の一例を示した図である。(c)~(j)継続ジャッジ中の演出モード3における各種演出の一例を時系列で示した図である。
(a)~(b)継続ジャッジ中の演出モード3における各種演出の一例を時系列で示した図である。(c)~(e)継続ジャッジ中の操作ナビの変形例を示した図である。
スロットマシン100を正面側(遊技者側)から見た外観斜視図である。
スロットマシン100の入賞ラインの一例を示す図である。
状態表示LED280の正面図である。
状態表示LED280を構成する部材を分解して示す分解斜視図である。
リフレクタ284の熱カシメ部284dを含む、状態表示LED280の断面図である。
(a)前面扉102を開けた状態のスロットマシン100を示す正面図である。(b)スロットマシン100の側断面図である。
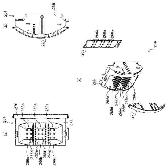
リールバックライト264の正面図である。(b)リールバックライト264の側面図である。(c)リールバックライト264を構成する部材を分解して正面側から見た外観斜視図である。
(a)状態表示LED280のLED基板288の正面図である。(b)リールバックライト264の照明基板268の正面図である。
制御部の回路ブロック図を示したものである。
(a)識別基板610を切り離す前の主制御基板600の平面図である。(b)識別基板610を切り離した後の主制御基板600の平面図である。
副制御基板650の平面図である。
主基板収納ケース640と主制御基板600を示した分解斜視図である。
(a)主制御基板600を収容した状態の主基板収納ケース640を基板収容体642側から見た平面図である。(b)(a)におけるA-A線に沿う断面図である。(c)(b)に対応する従来の基板の構造を示した断面図である。
(a),(b)変形例1に係る主制御基板670の平面図である。
(a)変形例2に係る主制御基板690の平面図である。(b)変形例3に係る主制御基板696の平面図である。
(a)本例に係る基板700を電源層710側から見た平面図であり。(b)(a)におけるX-X線に沿う、基板700の部分断面図である。
(a)LEDドライバIC714の端子配置図である。(b)モータドライバIC716の端子配置図である。
(a)基板700の電源層710の電源配線パターンの一例を示すパターン図である。(b)基板700のGND層706のGND配線パターン706aを示すパターン図である。
(a)図86(a)において符号Aで示す部分を拡大して示す、電源層710の部分拡大図である。(b)図86(b)において符号Bで示す部分を拡大して示す、GND層706の部分拡大図である。(c)(a)に示す電源層710と(b)に示すGND層706を重ね合わせて示すパターン図である。
(a)GND層706のパターン抜き706bと、電源層710に実装されるLEDドライバIC714およびモータドライバ716との位置関係を示した平面図である。(b)(a)に拡大して示すLEDドライバ714におけるY-Y線に沿う断面図である。(c)(a)に拡大して示すモータドライバ716におけるZ-Z線に沿う断面図である。
(a)従来の遊技台の基板における問題点を模式的に示した概念図である。(b)本願発明の基板の概念を模式的に示した図である。
(a)実施例1に係る非重畳領域NOEと、炭化導電路の想定最大領域CEを示した平面図である。(b)(a)におけるA-A線に沿う断面図である。(c)基板700の非重畳領域NOEが、炭化導電路の想定最大領域CEを含んでいない場合の例を示した平面図である。(d),(d´)(c)におけるB-B線に沿う断面図である。
(a)実施例2に係る非重畳領域NOE2を示した平面図である。(b)実施例3に係る非重畳領域NOE3を示した平面図である。(c)実施例4に係る非重畳領域NOE4を示した平面図である。
(a)実施例5に係る非重畳領域NOE5を示した平面図である。(b)(a)における電源配線ラインのパターンを変更した例を示した平面図である。
部品を実装する前の主制御基板600の平面図である。
図93から符号を削除した平面図である。
部品を実装した後の主制御基板600の平面図である。
図95から符号を削除した平面図である。
(a)部品と位置表示の位置関係(実施例1)を説明するための平面図である。(b)部品と位置表示の位置関係(実施例1の変形例1)を説明するための平面図である。(c)部品と位置表示の位置関係(実施例1の変形例2)を説明するための平面図である。(d)部品と位置表示の位置関係(実施例1の変形例3)を説明するための平面図である。
(a)部品と位置表示の位置関係(実施例2)を説明するための平面図である。(b)部品と位置表示の位置関係(実施例2の変形例1)を説明するための平面図である。(c)部品と位置表示の位置関係(実施例2の変形例2)を説明するための平面図である。(d)部品と位置表示の位置関係(実施例2の変形例3)を説明するための平面図である。
(a)部品と位置表示の位置関係(実施例3)を説明するための平面図である。(b)部品と位置表示の位置関係(実施例3の変形例1)を説明するための平面図である。(c)部品と位置表示の位置関係(実施例3の変形例2)を説明するための平面図である。(d)部品と位置表示の位置関係(実施例3の変形例3)を説明するための平面図である。
(a)部品と位置表示の位置関係(実施例4)を説明するための平面図である。(b)部品と位置表示の位置関係(実施例4の変形例1)を説明するための平面図である。(c)部品と位置表示の位置関係(実施例4の変形例2)を説明するための平面図である。(d)部品と位置表示の位置関係(実施例4の変形例3)を説明するための平面図である。
【発明を実施するための形態】
【0009】
<<実施形態1>>
以下、図面を用いて、本発明の実施形態1に係る遊技台(スロットマシン)について説明する。
【0010】
<全体構成>
まず、図1を用いてスロットマシン100の全体構成について説明する。図1は、スロットマシン100を正面側(遊技者側)から見た外観斜視図である。
(【0011】以降は省略されています)
この特許をJ-PlatPat(特許庁公式サイト)で参照する
関連特許
株式会社大都技研
遊技台
今日
株式会社大都技研
遊技台
1か月前
株式会社大都技研
遊技台
1か月前
株式会社大都技研
遊技台
今日
株式会社大都技研
遊技台
1か月前
株式会社大都技研
遊技台
1か月前
株式会社大都技研
遊技台
1か月前
株式会社大都技研
遊技台
1か月前
株式会社大都技研
遊技台
1か月前
株式会社大都技研
遊技台
1か月前
株式会社大都技研
遊技台
1か月前
株式会社大都技研
遊技台
1か月前
株式会社大都技研
遊技台
1か月前
株式会社大都技研
遊技台
1か月前
株式会社大都技研
遊技台
1か月前
株式会社大都技研
遊技台
1か月前
株式会社大都技研
遊技台
1か月前
株式会社大都技研
遊技台
1か月前
株式会社大都技研
遊技台
1か月前
株式会社大都技研
遊技台
1か月前
株式会社大都技研
遊技台
1か月前
株式会社大都技研
遊技台
1か月前
株式会社大都技研
遊技台
1か月前
株式会社大都技研
遊技台
1か月前
株式会社大都技研
遊技台
2か月前
株式会社大都技研
遊技台
2か月前
株式会社大都技研
遊技台
2か月前
株式会社大都技研
遊技台
2か月前
株式会社大都技研
遊技台
2か月前
株式会社大都技研
遊技台
2か月前
株式会社大都技研
遊技台
1か月前
株式会社大都技研
遊技台
1か月前
株式会社大都技研
遊技台
1か月前
株式会社大都技研
遊技台
1か月前
株式会社大都技研
遊技台
今日
株式会社大都技研
遊技台
今日
続きを見る
他の特許を見る