TOP
|
特許
|
意匠
|
商標
特許ウォッチ
Twitter
他の特許を見る
公開番号
2025149505
公報種別
公開特許公報(A)
公開日
2025-10-08
出願番号
2024050209
出願日
2024-03-26
発明の名称
インクジェットインク組成物及び記録方法
出願人
セイコーエプソン株式会社
代理人
個人
,
個人
,
個人
主分類
C09D
11/326 20140101AFI20251001BHJP(染料;ペイント;つや出し剤;天然樹脂;接着剤;他に分類されない組成物;他に分類されない材料の応用)
要約
【課題】得られる記録物のカールを抑制することができ、かつ、保存安定性性に優れるインクジェットインク組成物を提供する。
【解決手段】顔料と、式(1)で表され炭素数4以上を有する有機溶剤Aと、ベタインと、水と、を含有し、水の含有量が、インクジェットインク組成物の総質量に対して55質量%以下であり、有機溶剤Aとベタインの合計量が、インク組成物の総質量に対して35~75質量%である、インクジェットインク組成物。
HO-R
1
-O-R
2
(1)
(式中、R
1
は1,2-エタンジイル基、1,3-プロパンジイル基、1,4-ブタンジイル基、若しくは2,2’-オキシジエチル基で表される直鎖基、又は、これらの基の水素原子がアルキル基で置換された分岐鎖基であり、R
2
は直鎖アルキル基、分岐鎖アルキル基、環状アルキル基、又は水素原子であり、R
1
が分岐鎖基であること及びR
2
が分岐鎖アルキル基であることの少なくとも一方を満たす。)
【選択図】なし
特許請求の範囲
【請求項1】
顔料と、下記式(1)で表され炭素数4以上を有する有機溶剤Aと、ベタインと、水と、を含有し、
HO-R
1
-O-R
2
(1)
(式中、R
1
は1,2-エタンジイル基、1,3-プロパンジイル基、1,4-ブタンジイル基、若しくは2,2’-オキシジエチル基で表される直鎖基、又は、これらの基の水素原子がアルキル基で置換された分岐鎖基であり、R
2
は直鎖アルキル基、分岐鎖アルキル基、環状アルキル基、又は水素原子であり、R
1
が前記分岐鎖基であること及びR
2
が前記分岐鎖アルキル基であることの少なくとも一方を満たす。)
前記水の含有量が、インクジェットインク組成物の総質量に対して55質量%以下であり、
前記有機溶剤Aと前記ベタインの合計の含有量が、インクジェットインク組成物の総質量に対して35~75質量%である、
インクジェットインク組成物。
続きを表示(約 550 文字)
【請求項2】
前記ベタインの含有量が、前記インクジェットインク組成物の総質量に対して5~10質量%である、
請求項1に記載のインクジェットインク組成物。
【請求項3】
前記有機溶剤Aの含有量が、前記インクジェットインク組成物の総質量に対して35~70質量%である、
請求項1に記載のインクジェットインク組成物。
【請求項4】
シリコーン系界面活性剤をさらに含有する、
請求項1に記載のインクジェットインク組成物。
【請求項5】
吸収性記録媒体へ記録するための、
請求項1に記載のインクジェットインク組成物。
【請求項6】
前記顔料は、自己分散顔料である、
請求項1に記載のインクジェットインク組成物。
【請求項7】
前記水の含有量が、インクジェットインク組成物の総質量に対して20質量%以上55質量%以下である、
請求項1に記載のインクジェットインク組成物。
【請求項8】
請求項1~7のいずれか1項に記載のインクジェットインク組成物をインクジェットヘッドから吐出して記録媒体に付着させる、付着工程を有する、
インクジェット記録方法。
発明の詳細な説明
【技術分野】
【0001】
本発明は、インクジェットインク組成物及び記録方法に関する。
続きを表示(約 2,200 文字)
【背景技術】
【0002】
インクジェット記録方法は、比較的単純な装置で、高精細な画像の記録が可能であり、各方面で急速な発展を遂げている。その中で、発色性及び吐出安定性等について種々の検討がなされている。例えば、特許文献1には、優れた発色性を得ながら、印刷物の濡れ摩擦性等に優れるインク組成物を提供することを目的として、顔料粒子と、所定量の無機酸化物粒子と、ラクタム系溶剤とを含有し、顔料粒子と無機酸化物粒子の体積平均粒子径を所定の範囲に特定したインク組成物が開示されている。
【先行技術文献】
【特許文献】
【0003】
特開2020-176235号公報
【発明の概要】
【発明が解決しようとする課題】
【0004】
ところで、特許文献1のように無機酸化物粒子を含むインク組成物はノズルプレートにより撥水されにくくノズル周囲にインクが付着し、カール防止や吐出安定性に劣ることが分かってきた。
【課題を解決するための手段】
【0005】
本発明のインクジェットインク組成物は、顔料と、下記式(1)で表され炭素数4以上を有する有機溶剤Aと、ベタインと、水と、を含有し、上記水の含有量が、インクジェットインク組成物の総質量に対して55質量%以下であり、上記有機溶剤Aと上記ベタインの合計の含有量が、インクジェットインク組成物の総質量に対して35~75質量%である。
HO-R
1
-O-R
2
(1)
(式中、R
1
は1,2-エタンジイル基、1,3-プロパンジイル基、1,4-ブタンジイル基、若しくは2,2’-オキシジエチル基で表される直鎖基、又は、これらの基の水素原子がアルキル基で置換された分岐鎖基であり、R
2
は直鎖アルキル基、分岐鎖アルキル基、環状アルキル基、又は水素原子であり、R
1
が上記分岐鎖基であること及びR
2
が上記分岐鎖アルキル基であることの少なくとも一方を満たす。)
【0006】
本発明の記録方法は、上述のインクジェットインク組成物を、インクジェットヘッドから吐出して記録媒体に付着させる、付着工程を有する。
【図面の簡単な説明】
【0007】
実施例において用いるインク組成物の組成及びその評価結果を示す表1である。
実施例において用いるインク組成物の組成及びその評価結果を示す表2である。
実施例において用いるインク組成物の組成及びその評価結果を示す表3である。
実施例において用いるインク組成物の組成及びその評価結果を示す表4である。
実施例において用いるインク組成物の組成及びその評価結果を示す表5である。
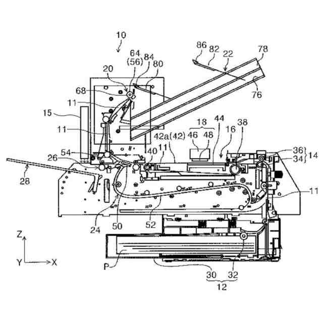
インクジェット記録方法に用いる記録装置の一例を示す図である。
【発明を実施するための形態】
【0008】
以下、必要に応じて図面を参照しつつ、本発明の実施の形態(以下、「本実施形態」という。)について詳細に説明するが、本発明はこれに限定されるものではなく、その要旨を逸脱しない範囲で様々な変形が可能である。なお、図面中、同一要素には同一符号を付すこととし、重複する説明は省略する。また、上下左右などの位置関係は、特に断らない限り、図面に示す位置関係に基づくものとする。さらに、図面の寸法比率は図示の比率に限られるものではない。
【0009】
1.インクジェットインク組成物
本実施形態に係るインクジェットインク組成物は、顔料と、下記式(1)で表され炭素数4以上を有する有機溶剤Aと、ベタインと、水と、を含有し、上記水の含有量が、インクジェットインク組成物の総質量に対して55質量%以下であり、上記有機溶剤Aと上記ベタインの合計の含有量が、インクジェットインク組成物の総質量に対して35~75質量%である。また、下記式中、R
1
は1,2-エタンジイル基、1,3-プロパンジイル基、1,4-ブタンジイル基、若しくは2,2’-オキシジエチル基で表される直鎖基、又は、これらの基の水素原子がアルキル基で置換された分岐鎖基であり、R
2
は直鎖アルキル基、分岐鎖アルキル基、環状アルキル基、又は水素原子であり、R
1
が上記分岐鎖基であること及びR
2
が上記分岐鎖アルキル基であることの少なくとも一方を満たす。
HO-R
1
-O-R
2
(1)
【0010】
従来、普通紙などにおいて水系インク組成物を用いて記録を行う場合は、記録物にカールが発生するため、カールの抑制という課題がある。カールの発生は、インクジェットインク組成物に含まれる水が、記録媒体に浸透することにより生じる。そのため、カールを低減するためには組成物中の水の含有量を減らす必要がある。しかしながら、水の含有量を減らすと、顔料の分散安定性が低下し、保存安定性の低下や吐出不良が発生する別の課題が生じるため、カールを抑制しつつ、保存安定性を良好にすることは難しかった。
(【0011】以降は省略されています)
この特許をJ-PlatPat(特許庁公式サイト)で参照する
関連特許
セイコーエプソン株式会社
印刷装置
1日前
セイコーエプソン株式会社
複写装置
1日前
セイコーエプソン株式会社
電子時計
1日前
セイコーエプソン株式会社
検査装置
1日前
セイコーエプソン株式会社
システム
1日前
セイコーエプソン株式会社
記録装置
1日前
セイコーエプソン株式会社
成形用材料
1日前
セイコーエプソン株式会社
成形用材料
1日前
セイコーエプソン株式会社
成形用材料
1日前
セイコーエプソン株式会社
液体収容体
1日前
セイコーエプソン株式会社
遠隔監視装置
1日前
セイコーエプソン株式会社
液体吐出装置
1日前
セイコーエプソン株式会社
液体吐出装置
1日前
セイコーエプソン株式会社
液体吐出装置
1日前
セイコーエプソン株式会社
液体吐出装置
1日前
セイコーエプソン株式会社
投射型表示装置
1日前
セイコーエプソン株式会社
ヘッドユニット
1日前
セイコーエプソン株式会社
成形品素材判別機
1日前
セイコーエプソン株式会社
水性粘着剤組成物
1日前
セイコーエプソン株式会社
水性粘着剤組成物
1日前
セイコーエプソン株式会社
転写媒体の製造方法
1日前
セイコーエプソン株式会社
成形用材料及び成形品
1日前
セイコーエプソン株式会社
表示装置及び電子機器
1日前
セイコーエプソン株式会社
記録方法及び記録装置
1日前
セイコーエプソン株式会社
生体流体情報取得装置
1日前
セイコーエプソン株式会社
液晶装置および電子機器
1日前
セイコーエプソン株式会社
投射方法、及び投射装置
1日前
セイコーエプソン株式会社
三次元造形物の製造方法
1日前
セイコーエプソン株式会社
インクジェット記録装置
1日前
セイコーエプソン株式会社
制御装置および制御方法
1日前
セイコーエプソン株式会社
液体吐出装置、液体収容部
1日前
セイコーエプソン株式会社
媒体搬送装置及び記録装置
1日前
セイコーエプソン株式会社
緩衝材、梱包材及び梱包品
1日前
セイコーエプソン株式会社
緩衝材、梱包材及び梱包品
1日前
セイコーエプソン株式会社
機械学習モデルの解析装置
1日前
セイコーエプソン株式会社
分散剤含有液および分散液
1日前
続きを見る
他の特許を見る