TOP
|
特許
|
意匠
|
商標
特許ウォッチ
Twitter
他の特許を見る
10個以上の画像は省略されています。
公開番号
2025142069
公報種別
公開特許公報(A)
公開日
2025-09-29
出願番号
2025120168,2021059649
出願日
2025-07-17,2021-03-31
発明の名称
コンテンツ配信システム及びプログラム
出願人
株式会社バンダイナムコエンターテインメント
代理人
個人
,
個人
,
個人
,
個人
主分類
A63F
13/86 20140101AFI20250919BHJP(スポーツ;ゲーム;娯楽)
要約
【課題】配信者のゲーム行動を視聴者が能動的に確認できるコンテンツ配信システム等の提供。
【解決手段】コンテンツ配信システムは、配信者端末において配信者がプレイしたゲームのゲーム配信コンテンツを、視聴者端末の視聴者が視聴するための配信処理を行う配信処理部と、ゲーム配信コンテンツの情報と、配信者がゲームにおいて行ったゲーム行動の情報を記憶する記憶部と、視聴者がゲーム行動の表示要請を行った場合に、表示要請を受け付ける受け付け部と、表示要請が受け付けられた場合に、ゲーム配信コンテンツの情報に基づくゲーム配信画像と、ゲーム行動の情報に基づくゲーム行動画像とが合成された表示画像を、視聴者端末に表示する処理を行う表示処理部を含む。
【選択図】図9
特許請求の範囲
【請求項1】
配信者端末において配信者がプレイしたゲームのゲーム配信コンテンツを、視聴者端末の視聴者が視聴するための配信処理を行う配信処理部と、
前記ゲーム配信コンテンツの情報と、前記配信者がゲームにおいて行ったゲーム行動の情報を記憶する記憶部と、
前記視聴者が前記ゲーム行動の表示要請を行った場合に、前記表示要請を受け付ける受け付け部と、
前記表示要請が受け付けられた場合に、前記ゲーム配信コンテンツの情報に基づくゲーム配信画像と、前記ゲーム行動の情報に基づくゲーム行動画像とが合成された表示画像を、前記視聴者端末に表示する処理を行う表示処理部と、
を含むことを特徴とするコンテンツ配信システム。
続きを表示(約 1,100 文字)
【請求項2】
請求項1において、
前記ゲーム行動画像は、前記配信者端末におけるゲーム画像又はゲーム動画から抽出された画像であることを特徴とするコンテンツ配信システム。
【請求項3】
請求項1において、
前記ゲーム行動画像は、前記配信者端末での前記配信者のゲームプレイ情報に基づき生成された画像であること特徴とするコンテンツ配信システム。
【請求項4】
請求項3において、
前記ゲーム行動画像は、前記配信者端末における前記配信者のゲームプレイの際に、ゲーム画像とは別個に、前記ゲームプレイ情報に基づき生成された画像であること特徴とするコンテンツ配信システム。
【請求項5】
請求項1乃至4のいずれかにおいて、
前記表示要請に基づき前記ゲーム配信画像に前記ゲーム行動画像が合成された前記表示画像が表示されているときに、配信されているゲームのゲーム配信音を前記視聴者端末において出力する処理を行う音処理部を含むことを特徴とするコンテンツ配信システム。
【請求項6】
請求項1乃至5のいずれかにおいて、
前記受け付け部は、
前記視聴者の情報に基づいて、前記表示要請の受け入れ度合いを変化させることを特徴とするコンテンツ配信システム。
【請求項7】
請求項1乃至6のいずれかにおいて、
前記配信処理部は、
前記視聴者により前記表示要請があったことを前記配信者に通知する処理を行うことを特徴とするコンテンツ配信システム。
【請求項8】
請求項1乃至7のいずれかにおいて、
前記受け付け部は、
前記ゲーム行動に対応するコマンド入力を前記視聴者端末において前記視聴者が行った場合に、前記コマンド入力を前記ゲーム行動の前記表示要請として受け付けることを特徴とするコンテンツ配信システム。
【請求項9】
請求項1乃至7のいずれかにおいて、
前記表示処理部は、
前記配信者のゲーム行動履歴を前記視聴者端末に表示する処理を行い、
前記受け付け部は、
前記ゲーム行動履歴における前記視聴者の前記ゲーム行動の指定操作を、前記ゲーム行動の前記表示要請として受け付けることを特徴とするコンテンツ配信システム。
【請求項10】
請求項1乃至9のいずれかにおいて、
前記ゲーム行動は、ゲームのマップを表示する行動、ゲームのコマンドを入力する行動、又はゲームのアイテムを使用する行動であることを特徴とするコンテンツ配信システム。
(【請求項11】以降は省略されています)
発明の詳細な説明
【技術分野】
【0001】
本発明は、コンテンツ配信システム及びプログラム等に関する。
続きを表示(約 1,400 文字)
【背景技術】
【0002】
近年、インターネット等のネットワークを介してコンテンツの配信を行うコンテンツ配信システムが人気を集めている。このようなコンテンツ配信システムとして、配信者のゲームプレイの様子を視聴者が視聴するゲーム配信のコンテンツ配信システムが知られている。例えば特許文献1にはeスポーツのライブ配信を行うコンテンツ配信システムが開示されている。
【先行技術文献】
【特許文献】
【0003】
特開2018-171282号公報
【発明の概要】
【発明が解決しようとする課題】
【0004】
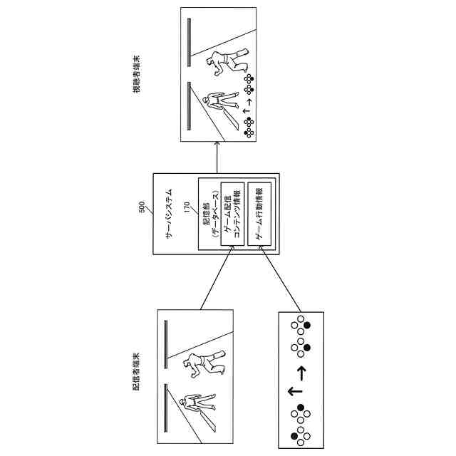
しかしながら、これまでのゲーム配信では、視聴者は、配信者のゲームプレイの様子が表示された表示画像を視聴するだけであった。例えば配信者が一瞬だけ表示させた後、非表示にしたマップ画面やアイテム選択画面等を、視聴者がもっと見たかったとしても、視聴者は何もすることができず、視聴者は配信者のゲーム行動を能動的に確認することはできなかった。
【0005】
本実施形態の幾つかの態様によれば、配信者のゲーム行動を視聴者が能動的に確認できるコンテンツ配信システム及びプログラム等を提供できる。
【課題を解決するための手段】
【0006】
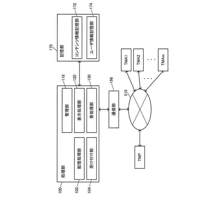
本開示の一態様は、配信者端末において配信者がプレイしたゲームのゲーム配信コンテンツを、視聴者端末の視聴者が視聴するための配信処理を行う配信処理部と、前記ゲーム配信コンテンツの情報と、前記配信者がゲームにおいて行ったゲーム行動の情報を記憶する記憶部と、前記視聴者が前記ゲーム行動の表示要請を行った場合に、前記表示要請を受け付ける受け付け部と、前記表示要請が受け付けられた場合に、前記ゲーム配信コンテンツの情報に基づくゲーム配信画像と、前記ゲーム行動の情報に基づくゲーム行動画像とが合成された表示画像を、前記視聴者端末に表示する処理を行う表示処理部と、を含むコンテンツ配信システムに関係する。また本開示の一態様は、上記各部としてコンピュータを機能させるプログラム、又は該プログラムを記憶したコンピュータ読み取り可能な情報記憶媒体に関係する。
【0007】
本開示の一態様によれば、ゲーム配信コンテンツを視聴する視聴者が、配信者のゲーム行動の表示要請を行い、この表示要請が受け付けられると、表示要請を行ったゲーム行動の画像がゲーム配信画像に合成された表示画像が、視聴者端末に表示されるようになる。これにより、視聴者は、自身の能動的な表示要請により配信者のゲーム行動画像を表示して、配信者のゲーム行動を確認できるようになる。従って、配信者のゲーム行動を視聴者が能動的に確認できるコンテンツ配信システム等の提供が可能になる。
【0008】
また本開示の一態様では、ゲーム行動画像は、配信者端末におけるゲーム画像又はゲーム動画から抽出された画像であってもよい。
【0009】
このようにすれば、配信者端末におけるゲーム画像又はゲーム動画から抽出するという簡素な処理で、ゲーム行動画像を生成できるようになる。
【0010】
また本開示の一態様では、前記ゲーム行動画像は、前記配信者端末での前記配信者のゲームプレイ情報に基づき生成された画像であってもよい。
(【0011】以降は省略されています)
この特許をJ-PlatPat(特許庁公式サイト)で参照する
関連特許
個人
玩具
3か月前
個人
玩具
23日前
個人
自走玩具
16日前
個人
ゲーム玩具
4か月前
個人
フィギュア
8か月前
個人
玩具
8か月前
個人
運動補助具
2か月前
個人
盤上遊戯具
8か月前
株式会社三共
遊技機
3か月前
株式会社三共
遊技機
3か月前
株式会社三共
遊技機
1か月前
株式会社三共
遊技機
1か月前
株式会社三共
遊技機
1か月前
株式会社三共
遊技機
1か月前
株式会社三共
遊技機
1か月前
株式会社三共
遊技機
1か月前
株式会社三共
遊技機
1か月前
株式会社三共
遊技機
3か月前
株式会社三共
遊技機
3か月前
株式会社三共
遊技機
3か月前
株式会社三共
遊技機
3か月前
株式会社三共
遊技機
3か月前
株式会社三共
遊技機
3か月前
株式会社三共
遊技機
3か月前
株式会社三共
遊技機
3か月前
株式会社三共
遊技機
3か月前
株式会社三共
遊技機
3か月前
株式会社三共
遊技機
3か月前
株式会社三共
遊技機
3か月前
株式会社三共
遊技機
1か月前
株式会社三共
遊技機
1か月前
株式会社三共
遊技機
1か月前
株式会社三共
遊技機
1か月前
株式会社三共
遊技機
1か月前
株式会社三共
遊技機
1か月前
株式会社三共
遊技機
1か月前
続きを見る
他の特許を見る