TOP
|
特許
|
意匠
|
商標
意匠ウォッチ
Twitter
他の意匠を見る
発行日
2025-10-24
公報種別
意匠公報(S)
登録番号
1811440
登録日
2025-10-16
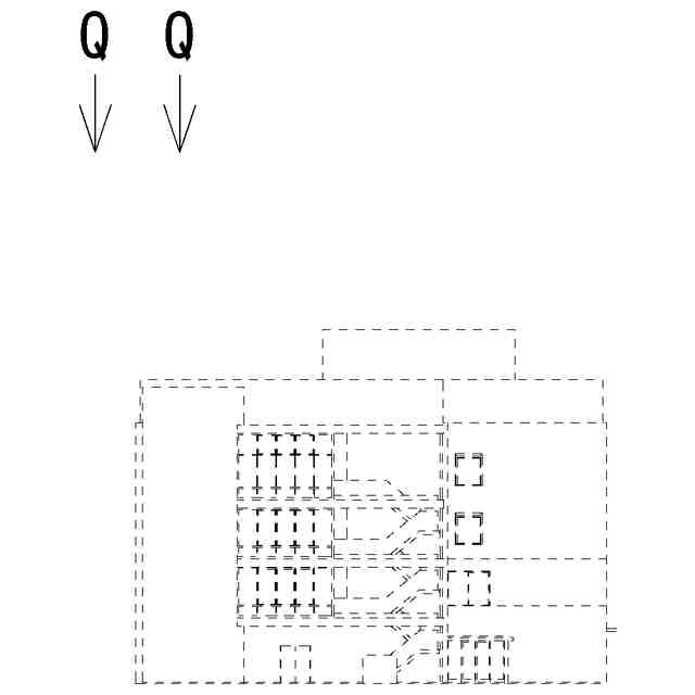
意匠に係る物品
複合建築物
意匠分類
L3
-2000(組立て家屋、屋外装備品等)
出願番号
2024021110
出願日
2024-10-10
意匠権者
株式会社大林組
代理人
個人
,
個人
,
個人
意匠に係る物品の説明
本件建築物は、病院エリアやオフィスエリア、店舗エリア等を備える複合建築物である。
意匠の説明
意匠登録を受けようとする部分は、構造柱、構造梁及び外壁の一部に係る。実線で表した部分が、意匠登録を受けようとする部分である。一点鎖線は、意匠登録を受けようとする部分とその他の部分との境界のみを示す線である。「透明部分を示す参考図」において網点部は透明材質を示す。「請求部分を示す参考図1」及び「請求部分を示す参考図2」において、網点部は意匠登録を受けようとする部分を示す。土地の定着物につき「底面図」を省略する。「背面図」は、意匠登録を受けようとする部分が表われないため省略する。
意匠ウォッチbot のツイートを見る
この意匠をJ-PlatPat(特許庁公式サイト)で参照する
関連意匠
株式会社大林組
ベンチ
5か月前
株式会社大林組
ベンチ
5か月前
株式会社大林組
ベンチ
6か月前
株式会社大林組
自動走行装置
10か月前
株式会社大林組
テーブル
5か月前
株式会社大林組
テーブル
5か月前
株式会社大林組
自動走行装置本体
10か月前
株式会社大林組
自動走行装置本体
10か月前
株式会社大林組
連結具
2か月前
株式会社大林組
吊元装置
1か月前
株式会社大林組
吊元装置
1か月前
株式会社大林組
柱
3か月前
株式会社大林組
柱
28日前
株式会社大林組
柱
28日前
株式会社大林組
家具用ユニット材
5か月前
株式会社大林組
仮囲いパネル
6か月前
株式会社大林組
温度調整機能付ベンチ
5か月前
株式会社大林組
温度調整機能付ベンチ
5か月前
株式会社大林組
温度調整機能付ベンチ
5か月前
株式会社大林組
仮囲いパネル
6か月前
株式会社大林組
梁材
12か月前
株式会社大林組
柱材
28日前
株式会社大林組
仮囲いパネル
9か月前
株式会社大林組
鋼管の篏合位置監視用画像
6か月前
株式会社大林組
建築用格子
4か月前
株式会社大林組
墜落防止器具
11か月前
株式会社大林組
照明具
8か月前
株式会社大林組
建築用ルーバー
10か月前
株式会社大林組
建築物用構造体
5か月前
株式会社大林組
建築用ルーバー材
6か月前
株式会社大林組
銘板
5か月前
株式会社大林組
藻場礁
7か月前
株式会社大林組
植栽帯
2か月前
株式会社大林組
藻場礁
7か月前
株式会社大林組
建築用ルーバー材
6か月前
株式会社大林組
照明用パネル
11か月前
続きを見る
他の意匠を見る