TOP
|
特許
|
意匠
|
商標
意匠ウォッチ
Twitter
他の意匠を見る
発行日
2025-08-14
公報種別
意匠公報(S)
登録番号
1806135
登録日
2025-08-05
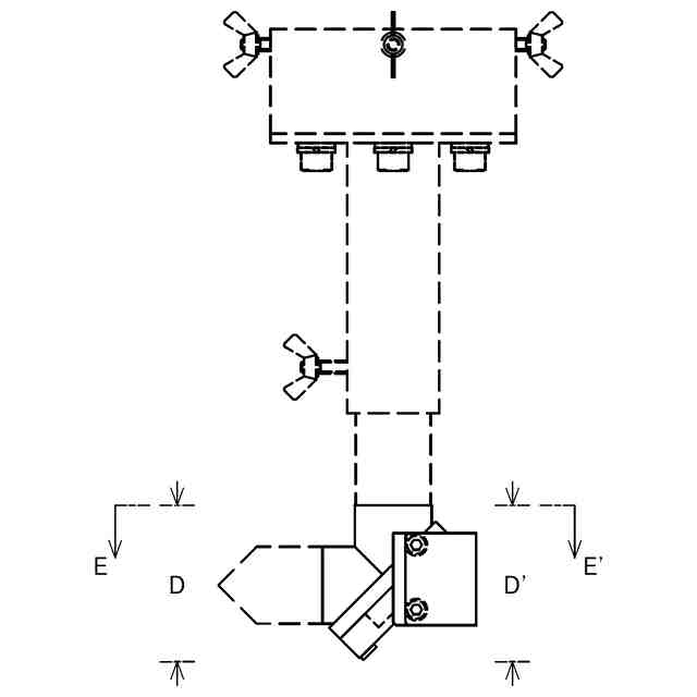
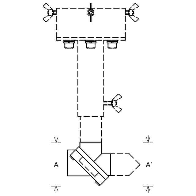
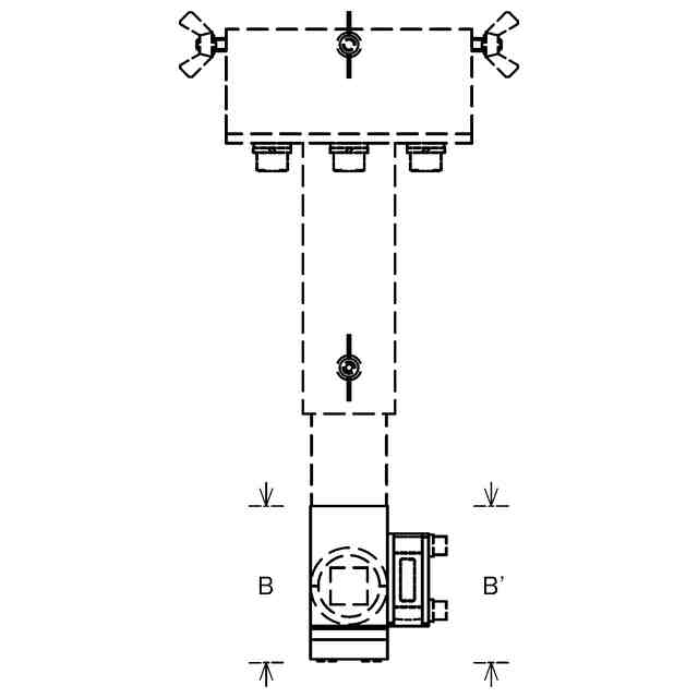
意匠に係る物品
レーザー照射器用ノズル
意匠分類
K7
-1900(金属加工機械、木材加工機械等)
出願番号
2025003527
出願日
2025-02-25
意匠権者
日鉄テックスエンジ株式会社
代理人
弁理士法人ブライタス
意匠に係る物品の説明
本物品は、レーザー照射器用ノズルであり、レーザー光を照射するレーザー照射器に装着される。本物品は、レーザー光の向きを90度変更してレーザー光を例えば水平方向に射出する。本物品は、レーザー照射器に対して着脱可能に構成されている。
意匠の説明
実線で示された部分が、部分意匠として意匠登録を受けようとする部分である。図面においては、拡大図を含めて部分意匠として意匠登録を受けようとする部分を特定している。
この意匠をJ-PlatPat(特許庁公式サイト)で参照する
関連意匠
日鉄テックスエンジ株式会社
自律走行装置
2日前
日鉄テックスエンジ株式会社
自律走行装置
2日前
日鉄テックスエンジ株式会社
保護部材付きレール
6か月前
日鉄テックスエンジ株式会社
レーザー照射器用ノズル
3か月前
日鉄テックスエンジ株式会社
レール締結用支持部材
6か月前
株式会社塩
ノズル
9か月前
サーモ エレクトロン (カールスルーエ) ゲーエムベーハー
押出機
4か月前
株式会社塩
ノズル
5か月前
デンヨー株式会社
溶接機
9か月前
株式会社高野鉄工所
切断機
1か月前
サーモ エレクトロン (カールスルーエ) ゲーエムベーハー
押出機
4か月前
サーモ エレクトロン (カールスルーエ) ゲーエムベーハー
押出機
4か月前
三井金属鉱業株式会社
インペラ
9か月前
株式会社駿河生産プラットフォーム
コレット
3か月前
高津伝動精機株式会社
工作機械
8か月前
三井金属鉱業株式会社
インペラ
10か月前
三井金属鉱業株式会社
インペラ
10か月前
株式会社三和プレス工業所
ジャバラ
8か月前
ファナック株式会社
切削加工機
3か月前
西部電機株式会社
放電加工機
8か月前
アサダ株式会社
バンドソー
9か月前
新東工業株式会社
ブラスト機
8か月前
三和テクノ株式会社
シール部材
9か月前
三和テクノ株式会社
シール部材
9か月前
保定明昇はん業科技有限公司
溶接ワイヤ
7か月前
三和テクノ株式会社
シール部材
3か月前
ファナック株式会社
切削加工機
3か月前
株式会社ナベヤ
クランプ装置
4か月前
三協オイルレス工業株式会社
カムユニット
7か月前
株式会社SCREENホールディングス
真空チャック
8か月前
三協オイルレス工業株式会社
カムユニット
7か月前
蘇州達牛新能源科技有限公司
半自動溶接機
9か月前
株式会社ムラタ溶研
溶接用トーチ
3か月前
聖杰國際股ふん有限公司
工具ホルダー
9か月前
三協オイルレス工業株式会社
カムユニット
9か月前
三協オイルレス工業株式会社
カムユニット
9か月前
続きを見る
他の意匠を見る