TOP
|
特許
|
意匠
|
商標
意匠ウォッチ
Twitter
他の意匠を見る
発行日
2025-02-17
公報種別
意匠公報(S)
登録番号
1791277
登録日
2025-02-06
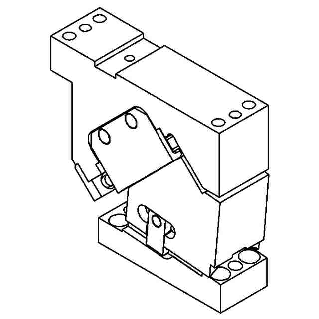
意匠に係る物品
カムユニット
意匠分類
K7
-19100(金属加工機械、木材加工機械等)
出願番号
2024015313
出願日
2024-07-24
意匠権者
三協オイルレス工業株式会社
代理人
意匠に係る物品の説明
本物品は、例えば、自動車用のボディフレームに穴を開けるために使用されるカムユニットである。本物品は、移動金型(上側)と固定金型(下側)とからなるプレス金型において、移動金型に固定された取付ベースと、この取付ベースに支持され弾性部材で戻り方向に付勢されて所定のストロークで所定方向に往復移動されるカムスライダーと、このカムスライダーを当接面で作用方向に移動させるもので固定金型に固定されるカムドライバーとからなるものである。このカムスライダーの先端部に孔開け用のパンチ工具(リテーナ)を取り付けて、移動金型を上下方向に往復移動させることで、カムスライダーのパンチでボディフレームに穴を開けるものである。
意匠の説明
この意匠をJ-PlatPat(特許庁公式サイト)で参照する
関連意匠
三協オイルレス工業株式会社
コイルサポート
6か月前
三協オイルレス工業株式会社
コイルサポート
6か月前
三協オイルレス工業株式会社
カムユニット
6か月前
三協オイルレス工業株式会社
カムユニット
6か月前
三協オイルレス工業株式会社
カムユニット
9か月前
三協オイルレス工業株式会社
カムユニット
9か月前
三協オイルレス工業株式会社
カムユニット
9か月前
株式会社塩
ノズル
5か月前
サーモ エレクトロン (カールスルーエ) ゲーエムベーハー
押出機
3か月前
株式会社高野鉄工所
切断機
1か月前
サーモ エレクトロン (カールスルーエ) ゲーエムベーハー
押出機
3か月前
デンヨー株式会社
溶接機
8か月前
株式会社塩
ノズル
8か月前
サーモ エレクトロン (カールスルーエ) ゲーエムベーハー
押出機
3か月前
深せん市東瑞はん接設備股分有限公司
溶接機
8か月前
株式会社駿河生産プラットフォーム
コレット
3か月前
株式会社三和プレス工業所
ジャバラ
7か月前
高津伝動精機株式会社
工作機械
7か月前
三井金属鉱業株式会社
インペラ
9か月前
三井金属鉱業株式会社
インペラ
9か月前
三井金属鉱業株式会社
インペラ
8か月前
西部電機株式会社
放電加工機
8か月前
ファナック株式会社
切削加工機
3か月前
ファナック株式会社
切削加工機
3か月前
新東工業株式会社
ブラスト機
8か月前
三和テクノ株式会社
シール部材
3か月前
個人
切削用治具
11か月前
三和テクノ株式会社
シール部材
9か月前
三和テクノ株式会社
シール部材
9か月前
アサダ株式会社
バンドソー
9か月前
保定明昇はん業科技有限公司
溶接ワイヤ
6か月前
三協オイルレス工業株式会社
カムユニット
6か月前
三協オイルレス工業株式会社
カムユニット
6か月前
株式会社SCREENホールディングス
真空チャック
7か月前
住友金属鉱山株式会社
吊り上げ器具
1か月前
三協オイルレス工業株式会社
カムユニット
9か月前
続きを見る
他の意匠を見る