TOP
|
特許
|
意匠
|
商標
特許ウォッチ
Twitter
他の特許を見る
10個以上の画像は省略されています。
公開番号
2025178334
公報種別
公開特許公報(A)
公開日
2025-12-05
出願番号
2025153925,2024042535
出願日
2025-09-17,2023-01-25
発明の名称
ゲームシステム、プログラム、学習装置及びゲーム提供方法
出願人
株式会社バンダイナムコエンターテインメント
代理人
個人
,
個人
,
個人
,
個人
,
個人
主分類
A63F
13/67 20140101AFI20251128BHJP(スポーツ;ゲーム;娯楽)
要約
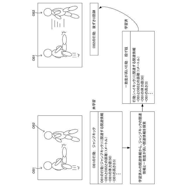
【課題】第1のキャラクタの行動と当該行動に関連する関連情報とを学習した学習データを用いて、第2のキャラクタの行動を制御する対戦ゲームにおいて、過去に学習した行動とは異なる新しい第1のキャラクタの行動を検出した場合でも、第2のキャラクタの行動を適切に制御可能なゲームシステム等を提供すること。
【解決手段】未学習の第1のキャラクタの行動及び当該行動の関連情報を検出した場合に、学習済みの第1のキャラクタの行動に関連する関連情報の中から、検出された未学習の当該第1のキャラクタの行動に関連する関連情報と一致度が高い関連情報を探索する。探索された関連情報に基づいて、第2のキャラクタの行動を制御する。
【選択図】図3
特許請求の範囲
【請求項1】
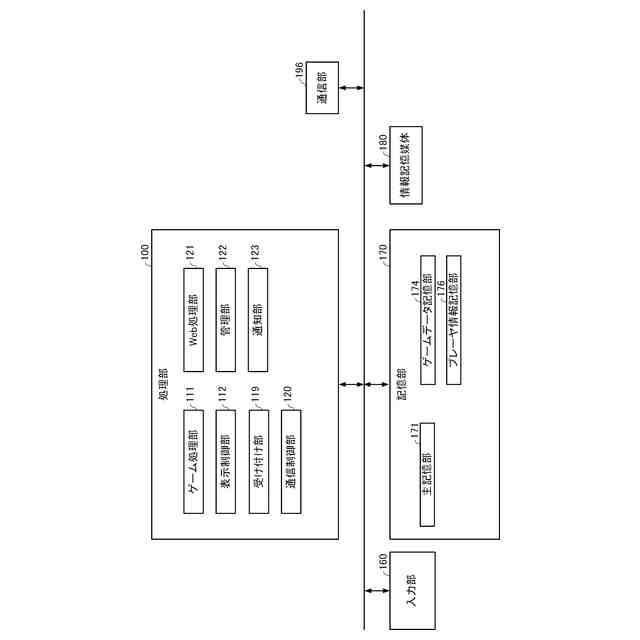
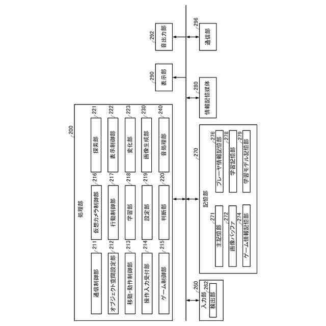
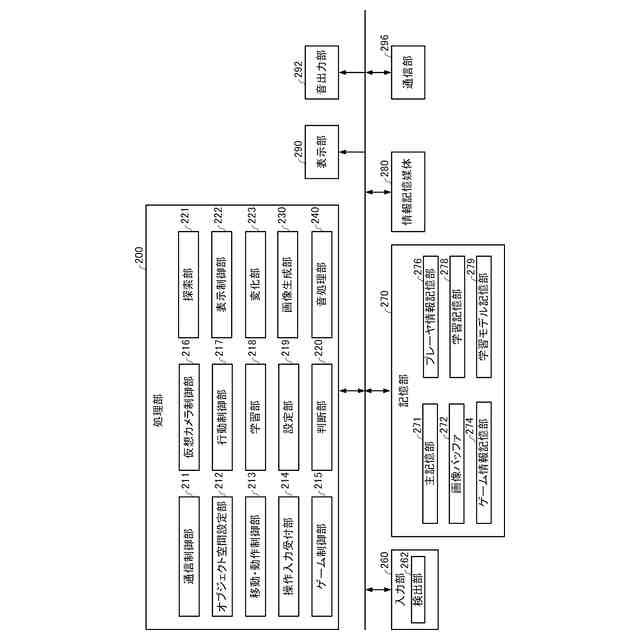
プレーヤの操作入力に基づいて行動を制御する第1のキャラクタと、コンピュータによって制御される第2のキャラクタとが対戦する対戦ゲームにおいて、第2のキャラクタの行動を制御するゲームシステムであって、
第1のキャラクタの行動と当該行動に関連する関連情報とを学習する学習部と、
前記学習部において学習された学習データを用いて、第2のキャラクタの行動を制御する行動制御部と、
未学習の第1のキャラクタの行動及び当該行動の関連情報を検出したか否かを判断する判断部と、
未学習の第1のキャラクタの行動及び当該行動の関連情報を検出した場合に、学習済みの第1のキャラクタの行動に関連する関連情報の中から、検出された未学習の当該第1のキャラクタの行動に関連する関連情報と一致度が高い関連情報を探索する探索部と、を含み、
前記行動制御部は、
探索された関連情報に基づいて、第2のキャラクタの行動を制御することを特徴とするゲームシステム。
続きを表示(約 1,300 文字)
【請求項2】
請求項1において、
ゲーム期間において、学習を行う頻度が高い期間として、所定期間を設ける設定部を更に含むことを特徴とするゲームシステム。
【請求項3】
請求項2において、
前記設定部は、
ゲーム期間の開始期間において、前記所定期間を設けることを特徴とするゲームシステム。
【請求項4】
請求項2において、
前記設定部は、
前記プレーヤの操作入力に基づいて、前記所定期間を設定可能とすることを特徴とするゲームシステム。
【請求項5】
請求項1又は2において、
前記行動は、継続条件を満たす複数の行動に基づく連続行動を含み、
前記探索部は、
未学習の第1のキャラクタの連続行動及び当該連続行動の関連情報を検出した場合に、学習済みの第1のキャラクタの連続行動に関連する関連情報の中から、検出された未学習の当該第1のキャラクタの連続行動に関連する関連情報と一致度が高い関連情報を探索することを特徴とするゲームシステム。
【請求項6】
請求項1又は2において、
前記関連情報を構成する複数の項目の組み合わせを設定する、又は、前記プレーヤの情報、前記第1のキャラクタの情報、ゲーム情報の少なくとも1つに応じて、前記関連情報を構成する各項目の重みを設定する設定部を更に含むことを特徴とするゲームシステム。
【請求項7】
請求項1又は2において、
プレーヤの情報又は第1のキャラクタの情報に基づいて、重みづけを行う期間を変化させる変化部を、更に含むことを特徴とするゲームシステム。
【請求項8】
請求項1又は2において、
前記行動制御部は、
予め第1のキャラクタの行動の種類毎に、当該行動に対応する第2のキャラクタの行動を定義し、
前記第2のキャラクタの行動を定義したデータ、及び、学習データの少なくとも一方を用いて、第2のキャラクタの行動を制御することを特徴とするゲームシステム。
【請求項9】
請求項1又は2において、
前記行動制御部は、
予め第1のキャラクタの行動の種類毎に、当該行動に対応する第2のキャラクタの行動を定義し、
探索された関連情報の一致度が所定値以上でない場合に、検出された未学習の当該第1のキャラクタの行動に対応する予め定義された行動を、第2のキャラクタに行わせることを特徴とするゲームシステム。
【請求項10】
請求項1又は2において、
前記行動制御部は、
予め第1のキャラクタの行動の種類毎に、当該行動に対応する第2のキャラクタの複数の行動を定義し、
探索された関連情報の一致度が所定値以上でない場合に、検出された未学習の当該第1のキャラクタの行動に対応する複数の予め定義された行動の中から、1つの行動を所定の条件で選択し、選択された行動を第2のキャラクタに行わせることを特徴とするゲームシステム。
(【請求項11】以降は省略されています)
発明の詳細な説明
【技術分野】
【0001】
本発明は、ゲームシステム、プログラム、学習装置及びゲーム提供方法
に関する。
続きを表示(約 1,700 文字)
【背景技術】
【0002】
従来から、仮想的な3次元空間内において、第1キャラクタと第2のキャラクタとに攻撃又は防御の動作を行わせ対戦格闘を行うゲームが知られている。
【0003】
近年、データを分析及び学習することで生成された学習モデルを利用するゲームシステムが存在する。
【0004】
例えば、特許文献1に示す従来技術では、所定タイミング毎に、入力操作部の操作に応じてキャラクタの繰り出す技に関連する操作データと、画面表示に関連する画面状態データとを収集して学習データ記憶部に書き込み、当該操作データと当該画面状態データとに基づいて深層学習の計算処理を行うことによって、学習結果の重みを最適化する。そして、プレーヤの操作対象の第1のキャラクタと、コンピュータの制御対象の第2のキャラクタとが対戦する場合、第2のキャラクタに対して、推論結果のキーデータを取得して、キー履歴に追加し、キー履歴とコマンド表を参照して動作(又は技)を決定する(特許文献1の0061~0062、0077~0079段落、図9参照)。
【先行技術文献】
【特許文献】
【0005】
特開2019-195512号公報
【発明の概要】
【発明が解決しようとする課題】
【0006】
複数のキャラクタが対戦ゲームを行う場合、プレーヤの操作対象の第1のキャラクタの行動と当該行動に関連する関連情報とを学習し、学習された学習データを用いて、第2のキャラクタの行動を推論する場合がある。かかる場合、第1のキャラクタの行動が、過去に学習した行動とは異なる新しい行動である場合に、推論した第2のキャラクタの行動が決められない、或いは、行動が適切でないという問題があった。
【0007】
また、対戦ゲームでは、プレーヤの癖(例えば、第1のキャラクタに繰り出す技として右パンチが多い等)を考慮して第2のキャラクタの行動を推論できれば、プレーヤにとって最適な対戦相手となりゲームに対するモチベーションも向上できる。
【0008】
本発明は、上記課題に鑑みたものであり、第1のキャラクタの行動と当該行動に関連する関連情報とを学習した学習データを用いて、第2のキャラクタの行動を制御する対戦ゲームにおいて、過去に学習した行動とは異なる新しい第1のキャラクタの行動を検出した場合でも、第2のキャラクタの行動を適切に制御可能なゲームシステム等を提供することを目的とする。
【課題を解決するための手段】
【0009】
(1)本発明は、
プレーヤの操作入力に基づいて行動を制御する第1のキャラクタと、コンピュータによって制御される第2のキャラクタとが対戦する対戦ゲームにおいて、第2のキャラクタの行動を制御するゲームシステムであって、
第1のキャラクタの行動と当該行動に関連する関連情報とを学習する学習部と、
前記学習部において学習された学習データを用いて、第2のキャラクタの行動を制御する行動制御部と、
未学習の第1のキャラクタの行動及び当該行動の関連情報を検出したか否かを判断する判断部と、
未学習の第1のキャラクタの行動及び当該行動の関連情報を検出した場合に、学習済みの第1のキャラクタの行動に関連する関連情報の中から、検出された未学習の当該第1のキャラクタの行動に関連する関連情報と一致度が高い関連情報を探索する探索部と、を含み、
前記行動制御部は、
探索された関連情報に基づいて、第2のキャラクタの行動を制御することを特徴とするゲームシステムに関する。
【0010】
また、本発明は、上記各部を含む学習装置(端末装置、ゲーム装置)に関する。本発明は、上記各部を含むサーバ装置に関する。本発明は、上記各部としてコンピュータを機能させるプログラムに関する。また、本発明は、コンピュータが読み取り可能な情報記憶媒体であって、上記各部としてコンピュータを機能させるプログラムを記憶する情報記憶媒体に関する。
(【0011】以降は省略されています)
この特許をJ-PlatPat(特許庁公式サイト)で参照する
関連特許
個人
玩具
2か月前
個人
玩具
5か月前
個人
自走玩具
2か月前
個人
小型卓球台
1か月前
個人
ゲーム玩具
6か月前
個人
運動補助具
4か月前
個人
パズル
1か月前
個人
打撃練習用具
1か月前
株式会社三共
遊技機
5か月前
株式会社三共
遊技機
5か月前
株式会社三共
遊技機
5か月前
株式会社三共
遊技機
5か月前
株式会社三共
遊技機
5か月前
株式会社三共
遊技機
5か月前
株式会社三共
遊技機
5か月前
株式会社三共
遊技機
5か月前
株式会社三共
遊技機
5か月前
株式会社三共
遊技機
5か月前
株式会社三共
遊技機
5か月前
株式会社三共
遊技機
5か月前
株式会社三共
遊技機
2か月前
株式会社三共
遊技機
5か月前
株式会社三共
遊技機
5か月前
株式会社三共
遊技機
5か月前
株式会社三共
遊技機
5か月前
株式会社三共
遊技機
2か月前
株式会社三共
遊技機
2か月前
株式会社三共
遊技機
2か月前
株式会社三共
遊技機
2か月前
株式会社三共
遊技機
2か月前
株式会社三共
遊技機
5か月前
株式会社三共
遊技機
2か月前
株式会社三共
遊技機
2か月前
株式会社三共
遊技機
2か月前
株式会社三共
遊技機
2か月前
株式会社三共
遊技機
2か月前
続きを見る
他の特許を見る