TOP
|
特許
|
意匠
|
商標
特許ウォッチ
Twitter
他の特許を見る
10個以上の画像は省略されています。
公開番号
2025178306
公報種別
公開特許公報(A)
公開日
2025-12-05
出願番号
2025152518,2022080057
出願日
2025-09-12,2021-06-18
発明の名称
コンピュータプログラム、それに用いるゲームシステム、及び制御方法
出願人
株式会社コナミデジタルエンタテインメント
代理人
主分類
A63F
13/55 20140101AFI20251128BHJP(スポーツ;ゲーム;娯楽)
要約
【課題】自動制御によるキャラクタの動作にユーザの技量差を反映することができるコンピュータプログラムを提供する。
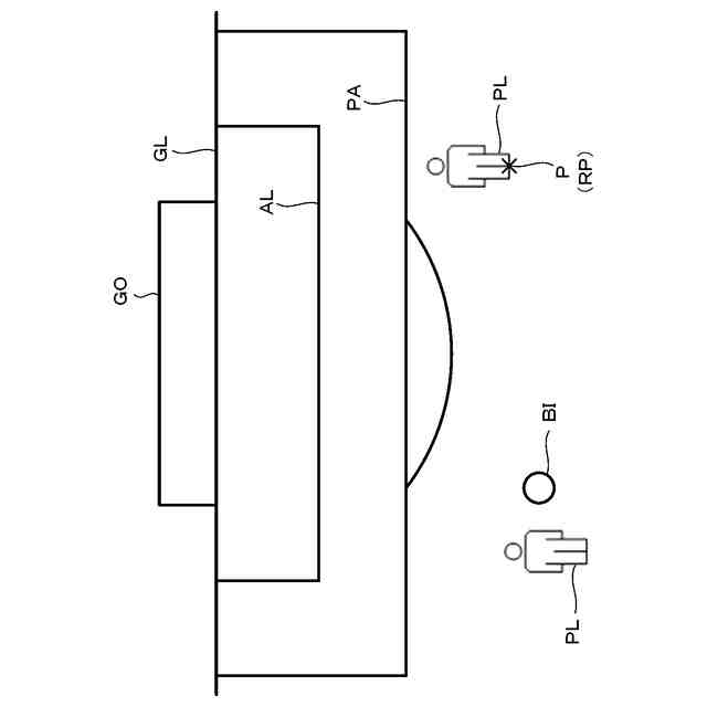
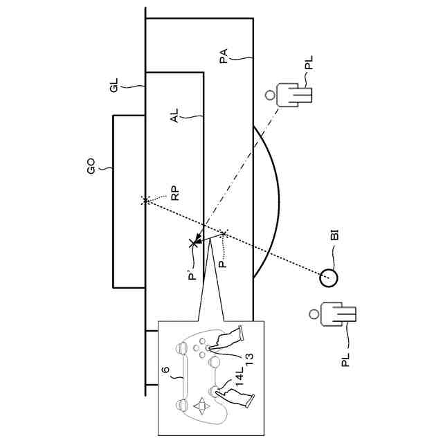
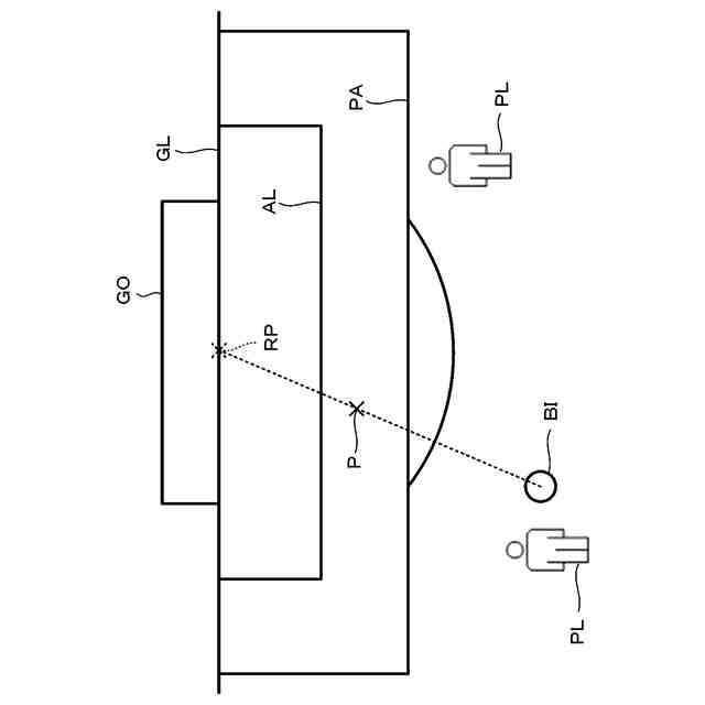
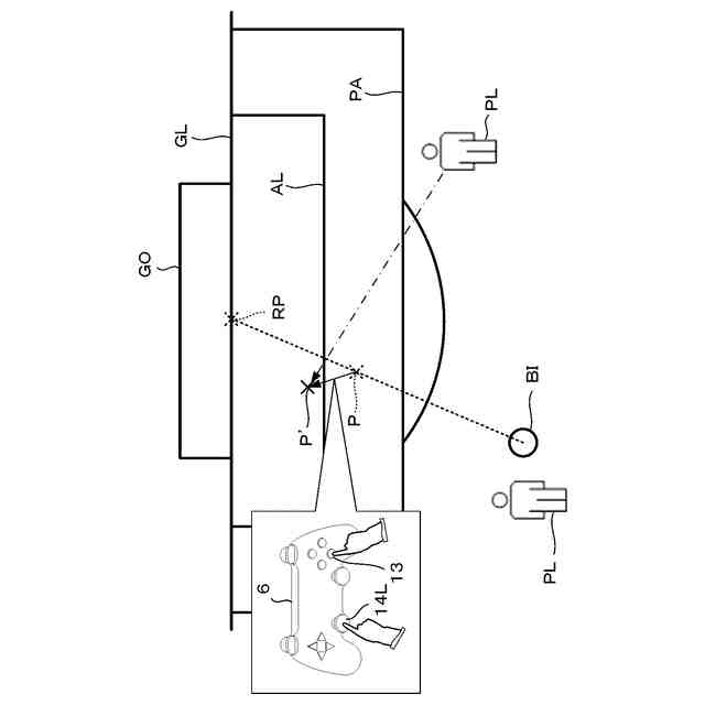
【解決手段】コンピュータプログラムPGは、選手PL、ボールBI、及びフィールドFDを含むマッチアップ画面60を表示するモニタ7と、コントローラ6とに接続され、サッカーゲームを提供するゲーム装置2の制御ユニット21を次のような手段として機能させる。すなわち、コンピュータプログラムPGは、選手PLの移動先の目標とされるべき目標位置の初期位置Pを、フィールドFDに設定されるゴールGOの位置としての基準位置RPに基づいて算出するとともに、その選手PLの移動を指示する操作がコントローラ6を介して実行された場合には、その操作に基づいて初期位置Pを修正後の位置P’に修正し、その修正後の位置P’に向かって自動制御にて移動するように、選手PLの動作を制御する手段として制御ユニット21を機能させる。
【選択図】図6
特許請求の範囲
【請求項1】
ユーザのプレイ行為を入力するための入力装置と、前記ユーザに関連付けられるキャラクタとしてのユーザキャラクタ、及び当該ユーザキャラクタが動作する領域としてのフィールドを含むゲーム画面を表示する表示装置とに接続され、所定の規則に従った自動制御の動作を含む前記ユーザキャラクタの動作を通じて進行するゲームを提供するゲームシステムに組み込まれるコンピュータを、
前記自動制御にて前記ユーザキャラクタが移動する場合に、当該ユーザキャラクタの移動先の目標とされるべき目標位置の初期位置を、前記フィールドに設定される基準位置に基づいて算出する目標算出手段、
前記自動制御における前記ユーザキャラクタの移動を指示する移動指示行為が前記プレイ行為として実行された場合に、当該移動指示行為に基づいて前記初期位置を修正後位置に修正する目標修正手段、及び
前記目標位置として前記修正後位置に向かって前記自動制御にて移動するように、前記ユーザキャラクタの動作を制御するキャラクタ制御手段、
として機能させる、コンピュータプログラム。
発明の詳細な説明
【技術分野】
【0001】
本発明は、ユーザのプレイ行為を入力するための入力装置と、ユーザに関連付けられるキャラクタとしてのユーザキャラクタ、及びそのユーザキャラクタが動作する領域としてのフィールドを含むゲーム画面を表示する表示装置とに接続され、所定の規則に従った自動制御の動作を含むユーザキャラクタの動作を通じて進行するゲームを提供するゲームシステムに組み込まれるコンピュータに適用されるコンピュータプログラム等に関する。
続きを表示(約 2,800 文字)
【背景技術】
【0002】
ユーザのプレイ行為を入力するための入力装置と、ユーザに関連付けられるキャラクタとしてのユーザキャラクタ、及びそのユーザキャラクタが動作する領域としてのフィールドを含むゲーム画面を表示する表示装置とに接続され、所定の規則に従った自動制御の動作を含むユーザキャラクタの動作を通じて進行するゲームを提供するゲームシステムが存在する。例えば、このようなユーザキャラクタとしての選手を含むサッカーゲームを提供するビデオゲーム機が知られている(例えば特許文献1参照)。
【先行技術文献】
【特許文献】
【0003】
特許第3145064号公報
【発明の概要】
【発明が解決しようとする課題】
【0004】
特許文献1のサッカーゲームでは、タックルを指示する操作が実行されると、攻守にそれぞれ対応する二体のキャラクタ間の位置関係に応じて守備側のキャラクタにタックル動作が自動制御にて実行される。このタックル動作のために守備側のキャラクタは自動制御にて移動するが、その移動先(タックル先)は位置関係に応じて自動で設定される。このため、タックル動作の精度にユーザの技量が反映される余地は少なく、精度が高くなり過ぎてしまう可能性がある。また、タックル動作の精度が一定に抑えられるとしても、結果の予測性が高くなる傾向にある。これらはいずれも興趣性の低下を招く可能性がある。
【0005】
サッカーゲームでは、タックル動作等のボールを積極的に奪いに行くプレイだけでなく、一定の距離を保ちつつ攻撃側のキャラクタの移動に合わせて守備側のキャラクタを移動させることにより攻撃側のキャラクタにプレッシャーを与え続けるプレイが求められる場合がある。このようなプレイが仮に完全な自動制御にて実現されると、やはりユーザの技量が反映される余地が少なくなってしまい、同様に興趣性の低下を招いてしまう可能性がある。
【0006】
そこで、本発明は、自動制御によるキャラクタの動作にユーザの技量差を反映することができるコンピュータプログラム等を提供することを目的とする。
【課題を解決するための手段】
【0007】
本発明のコンピュータプログラムは、ユーザのプレイ行為を入力するための入力装置と、前記ユーザに関連付けられるキャラクタとしてのユーザキャラクタ、及び当該ユーザキャラクタが動作する領域としてのフィールドを含むゲーム画面を表示する表示装置とに接続され、所定の規則に従った自動制御の動作を含む前記ユーザキャラクタの動作を通じて進行するゲームを提供するゲームシステムに組み込まれるコンピュータを、前記自動制御にて前記ユーザキャラクタが移動する場合に、当該ユーザキャラクタの移動先の目標とされるべき目標位置の初期位置を、前記フィールドに設定される基準位置に基づいて算出する目標算出手段、前記自動制御における前記ユーザキャラクタの移動を指示する移動指示行為が前記プレイ行為として実行された場合に、当該移動指示行為に基づいて前記初期位置を修正後位置に修正する目標修正手段、及び前記目標位置として前記修正後位置に向かって前記自動制御にて移動するように、前記ユーザキャラクタの動作を制御するキャラクタ制御手段、として機能させるものである。
【0008】
一方、本発明のゲームシステムは、ユーザのプレイ行為を入力するための入力装置と、前記ユーザに関連付けられるキャラクタとしてのユーザキャラクタ、及び当該ユーザキャラクタが動作する領域としてのフィールドを含むゲーム画面を表示する表示装置とに接続され、所定の規則に従った自動制御の動作を含む前記ユーザキャラクタの動作を通じて進行するゲームを提供するゲームシステムであって、前記自動制御にて前記ユーザキャラクタが移動する場合に、当該ユーザキャラクタの移動先の目標とされるべき目標位置の初期位置を、前記フィールドに設定される基準位置に基づいて算出する目標算出手段と、前記自動制御における前記ユーザキャラクタの移動を指示する移動指示行為が前記プレイ行為として実行された場合に、当該移動指示行為に基づいて前記初期位置を修正後位置に修正する目標修正手段と、前記目標位置として前記修正後位置に向かって前記自動制御にて移動するように、前記ユーザキャラクタの動作を制御するキャラクタ制御手段と、を備えるものである。
【0009】
また、本発明の制御方法は、ユーザのプレイ行為を入力するための入力装置と、前記ユーザに関連付けられるキャラクタとしてのユーザキャラクタ、及び当該ユーザキャラクタが動作する領域としてのフィールドを含むゲーム画面を表示する表示装置とに接続され、所定の規則に従った自動制御の動作を含む前記ユーザキャラクタの動作を通じて進行するゲームを提供するゲームシステムに組み込まれるコンピュータに、前記自動制御にて前記ユーザキャラクタが移動する場合に、当該ユーザキャラクタの移動先の目標とされるべき目標位置の初期位置を、前記フィールドに設定される基準位置に基づいて算出する目標算出手順と、前記自動制御における前記ユーザキャラクタの移動を指示する移動指示行為が前記プレイ行為として実行された場合に、当該移動指示行為に基づいて前記初期位置を修正後位置に修正する目標修正手順と、前記目標位置として前記修正後位置に向かって前記自動制御にて移動するように、前記ユーザキャラクタの動作を制御するキャラクタ制御手順と、を実行させる、ものである。
【図面の簡単な説明】
【0010】
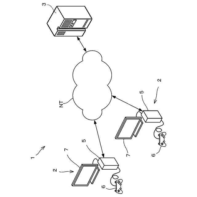
本発明の一形態に係るゲームシステムの全体構成の一例を示す図。
コントローラの具体的な構成の一例を示す図。
全体画面の一例を模式的に示す図。
マッチアップ画面の一例を模式的に示す図。
基準位置、及びその基準位置に基づく初期目標位置の一例を説明するための 説明図。
ユーザの操作に基づく初期目標位置の修正の一例を説明するための説明図。
ユーザの操作の操作方向及び操作量と初期目標位置の修正との関係の一例を 説明するための説明図。
ユーザの操作が実行されない場合に設定される目標位置の一例を説明するた めの説明図。
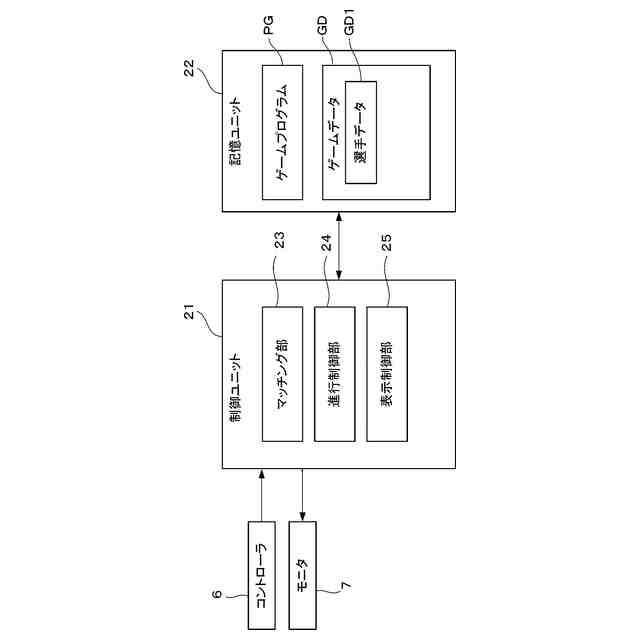
ゲーム装置の制御系の要部を示す機能ブロック図。
モード切替処理の手順の一例を示すフローチャート。
マッチアップ処理の手順の一例を示すフローチャート。
【発明を実施するための形態】
(【0011】以降は省略されています)
この特許をJ-PlatPat(特許庁公式サイト)で参照する
関連特許
個人
玩具
2か月前
個人
玩具
5か月前
個人
自走玩具
2か月前
個人
小型卓球台
1か月前
個人
運動補助具
4か月前
個人
ゲーム玩具
6か月前
個人
パズル
1か月前
個人
打撃練習用具
1か月前
株式会社三共
遊技機
8か月前
株式会社三共
遊技機
8か月前
株式会社三共
遊技機
8か月前
株式会社三共
遊技機
8か月前
株式会社三共
遊技機
8か月前
株式会社三共
遊技機
8か月前
株式会社三共
遊技機
8か月前
株式会社三共
遊技機
8か月前
株式会社三共
遊技機
8か月前
株式会社三共
遊技機
8か月前
株式会社三共
遊技機
8か月前
株式会社三共
遊技機
8か月前
株式会社三共
遊技機
8か月前
株式会社三共
遊技機
8か月前
株式会社三共
遊技機
2か月前
株式会社三共
遊技機
8か月前
株式会社三共
遊技機
8か月前
株式会社三共
遊技機
8か月前
株式会社三共
遊技機
8か月前
株式会社三共
遊技機
8か月前
株式会社三共
遊技機
8か月前
株式会社三共
遊技機
8か月前
株式会社三共
遊技機
8か月前
株式会社三共
遊技機
2か月前
株式会社三共
遊技機
8か月前
株式会社三共
遊技機
8か月前
株式会社三共
遊技機
8か月前
株式会社三共
遊技機
9か月前
続きを見る
他の特許を見る