TOP
|
特許
|
意匠
|
商標
特許ウォッチ
Twitter
他の特許を見る
10個以上の画像は省略されています。
公開番号
2025172870
公報種別
公開特許公報(A)
公開日
2025-11-26
出願番号
2025141910,2023571326
出願日
2025-08-28,2022-08-03
発明の名称
仮想キャラクタの制御方法並びに、その装置、電子装置及びコンピュータプログラム
出願人
テンセント・テクノロジー・(シェンジェン)・カンパニー・リミテッド
,
TENCENT TECHNOLOGY (SHENZHEN) COMPANY LIMITED
代理人
弁理士法人ITOH
主分類
A63F
13/56 20140101AFI20251118BHJP(スポーツ;ゲーム;娯楽)
要約
【課題】仮想キャラクタの制御方法並びにその、装置、記憶媒体及び電子装置を提供する。
【解決手段】方法は、仮想シーンにおける仮想キャラクタ及び仮想コントローラを表示するステップであって、仮想コントローラは、前記仮想キャラクタを制御するために使用されるステップと、仮想コントローラに対して実行する操作に応答して、仮想キャラクタが仮想シーン内に移動するように制御するステップと、仮想キャラクタの移動過程では、仮想コントローラが前記仮想シーン内の第1領域にドラッグされ、且つ仮想キャラクタの周りの一定範囲内にターゲットのオブジェクトがある場合、仮想キャラクタが前記ターゲットのオブジェクトに関連付けられた所定の動作を実行するように制御するステップとを含む。
【選択図】図2
特許請求の範囲
【請求項1】
電子装置が実行する仮想キャラクタの制御方法であって、
仮想シーンにおける仮想キャラクタ及び仮想コントローラを表示するステップであって、前記仮想コントローラは、前記仮想キャラクタを制御するために使用されるステップと、
前記仮想コントローラに対して実行する操作に応答して、前記仮想キャラクタが前記仮想シーン内に移動するように制御するステップと、
前記仮想キャラクタの移動過程では、前記仮想コントローラが前記仮想シーン内の第1領域にドラッグされ、且つ前記仮想キャラクタの周りの一定範囲内にターゲットのオブジェクトがあることに応答して、前記仮想キャラクタが前記ターゲットのオブジェクトに関連付けられた所定の動作を実行するように制御するステップとを含む、仮想キャラクタの制御方法。
発明の詳細な説明
【技術分野】
【0001】
本願は、2021年9月9日に中国特許庁に出願された第2021110583571号の中国特許出願の「仮想キャラクタの制御方法、装置、記憶媒体及び電子装置」の優先権を主張し、その内容全体は、参照により本願に組み込まれる。
続きを表示(約 1,800 文字)
【0002】
本願は、コンピュータの分野に関し、具体的には、仮想キャラクタの制御方法、装置、記憶媒体及び電子装置に関するものである。
【背景技術】
【0003】
関連アプリケーションでは、ユーザは、常に仮想キャラクタが異なる動作を実行するように制御する。例えば、仮想シーン内には、多数の掩体や建物などの障害物があり、仮想シーンでは、ユーザは、仮想キャラクタが様々なタイプの障害物を乗り越えるように制御する必要があり、例えば、仮想キャラクタが低い柵を乗り越え、又は直接乗り越えて窓から建物に侵入するように制御することができる。障害物を乗り越えるこのような操作は、仮想シーンでは非常に一般的である。
【0004】
現在、ユーザは、仮想キャラクタを制御する場合、それぞれ異なるコントローラによって仮想キャラクタの移動方向及びジャンプなどの動作の実行を制御する必要があり、例えば、左手は、ジョイスティックによって仮想キャラクタの移動方向を制御し、右手は、仮想ボタンをタッチ制御することによって仮想キャラクタがジャンプ動作を実行して障害物を乗り越えるように制御する必要がある。
【発明の概要】
【0005】
本願の実施例は、少なくとも仮想キャラクタへの操作の実行効率が低いという技術的問題を解決し、端末装置の処理リソースの浪費を回避し、端末装置の処理効率を向上させるために、仮想キャラクタの制御方法、装置、記憶媒体及び電子装置を提供する。
【0006】
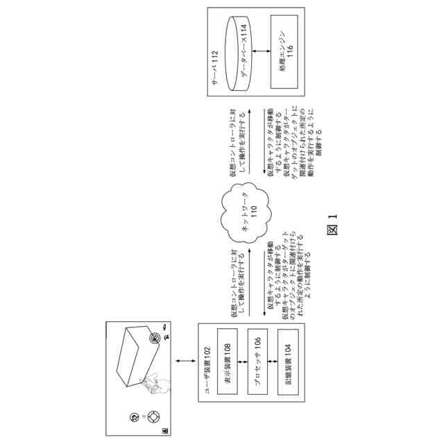
本願の実施例の一態様によれば、仮想キャラクタの制御方法を提供し、電子装置が実行する該方法は、仮想シーンにおける仮想キャラクタ及び仮想コントローラを表示するステップであって、前記仮想コントローラは、前記仮想キャラクタを制御するために使用されるステップと、前記仮想コントローラに対して実行する操作に応答して、前記仮想キャラクタが前記仮想シーン内に移動するように制御するステップと、前記仮想キャラクタの移動過程では、前記仮想コントローラが前記仮想シーン内の第1領域にドラッグされ、且つ前記仮想キャラクタの周りの一定範囲内にターゲットのオブジェクトがある場合、前記仮想キャラクタが前記ターゲットのオブジェクトに関連付けられた所定の動作を実行するように制御するステップとを含む。
【0007】
本願の実施例の他の態様によれば、仮想キャラクタの制御装置を更に提供し、該装置は、仮想シーンにおける仮想キャラクタ及び仮想コントローラを表示するための表示モジュールであって、前記仮想コントローラは、前記仮想キャラクタを制御するために使用される表示モジュールと、前記仮想コントローラに対して実行する操作に応答して、前記仮想キャラクタが前記仮想シーン内に移動するように制御するための第1制御モジュールと、前記仮想キャラクタの移動過程では、前記仮想コントローラが前記仮想シーン内の第1領域にドラッグされ、且つ前記仮想キャラクタの一定範囲内にターゲットのオブジェクトがある場合、前記仮想キャラクタが前記ターゲットのオブジェクトに関連付けられた所定の動作を実行するように制御するための第2制御モジュールとを含む。
【0008】
本願の実施例の別の態様によれば、コンピュータ読み取り可能な記憶媒体を更に提供し、該コンピュータ読み取り可能な記憶媒体には、コンピュータプログラムが記憶され、ここで、該コンピュータプログラムは、実行の場合に上記の仮想キャラクタの制御方法を実施するように構成される。
【0009】
本願の実施例の別の態様によれば、記憶装置と、プロセッサとを含む、電子装置を更に提供し、上記の記憶装置には、コンピュータプログラムが記憶され、上記のプロセッサは、前記コンピュータプログラムによって上記の仮想キャラクタの制御方法を実施するように構成される。
【0010】
本願の実施例は、コンピュータプログラム製品を更に提供し、前記コンピュータプログラム製品は、コンピュータ命令を含み、前記コンピュータ命令は、コンピュータ読み取り可能な記憶媒体内に記憶され、前記コンピュータ命令は実行時に、上記の仮想キャラクタの制御方法を実施する。
【図面の簡単な説明】
(【0011】以降は省略されています)
この特許をJ-PlatPat(特許庁公式サイト)で参照する
関連特許
個人
玩具
5か月前
個人
玩具
2か月前
個人
自走玩具
2か月前
個人
小型卓球台
1か月前
個人
ゲーム玩具
6か月前
個人
運動補助具
4か月前
個人
パズル
1か月前
個人
打撃練習用具
1か月前
株式会社三共
遊技機
8か月前
株式会社三共
遊技機
2か月前
株式会社三共
遊技機
2か月前
株式会社三共
遊技機
2か月前
株式会社三共
遊技機
2か月前
株式会社三共
遊技機
2か月前
株式会社三共
遊技機
2か月前
株式会社三共
遊技機
2か月前
株式会社三共
遊技機
2か月前
株式会社三共
遊技機
2か月前
株式会社三共
遊技機
2か月前
株式会社三共
遊技機
2か月前
株式会社三共
遊技機
2か月前
株式会社三共
遊技機
2か月前
株式会社三共
遊技機
2か月前
株式会社三共
遊技機
2か月前
株式会社三共
遊技機
2か月前
株式会社三共
遊技機
2か月前
株式会社三共
遊技機
2か月前
株式会社三共
遊技機
2か月前
株式会社三共
遊技機
2か月前
株式会社三共
遊技機
2か月前
株式会社三共
遊技機
2か月前
株式会社三共
遊技機
2か月前
株式会社三共
遊技機
2か月前
株式会社三共
遊技機
2か月前
株式会社三共
遊技機
2か月前
株式会社三共
遊技機
2か月前
続きを見る
他の特許を見る