TOP
|
特許
|
意匠
|
商標
特許ウォッチ
Twitter
他の特許を見る
10個以上の画像は省略されています。
公開番号
2025172867
公報種別
公開特許公報(A)
公開日
2025-11-26
出願番号
2025141858,2024067299
出願日
2025-08-28,2024-04-18
発明の名称
遊技台
出願人
株式会社大都技研
代理人
個人
,
個人
主分類
A63F
5/04 20060101AFI20251118BHJP(スポーツ;ゲーム;娯楽)
要約
【課題】演出用機器に特徴を持った遊技台を提供する。
【解決手段】第一の可動体と第二の可動体は部材によって少なくとも一部が繋がっており、第一の位置における第一の可動体の第一の部位と第三の位置における第二の可動体の第二の部位の最短距離は、第二の位置における第一の可動体の第一の部位と第四の位置における第二の可動体の第二の部位の最短距離と同じであり、第一の位置の第一の可動体と第三の位置の第二の可動体は、表示手段に第一の大きさで重なり、第二の位置の第一の可動体と第四の位置の第二の可動体は、表示手段に第二の大きさで重なり、第一の大きさと第二の大きさは同じ大きさである。部材は、第一の可動体が第一の位置にあるときと、第一の可動体が第二の位置にあるときとで表示手段との位置関係が同じであり、部材は、第二の可動体が第三の位置にあるときと、第二の可動体が第四の位置にあるときとで表示手段との位置関係が同じである。
【選択図】図101
特許請求の範囲
【請求項1】
第一の可動体と、
第二の可動体と、
第一の駆動部と、
第二の駆動部と、
表示手段と、を備えた遊技台であって、
前記第一の駆動部の駆動によって前記第一の可動体が移動可能に構成されており、
前記第二の駆動部の駆動によって前記第二の可動体が移動可能に構成されており、
前記第一の可動体と前記第二の可動体は部材によって少なくとも一部が繋がっており、
前記部材も移動可能に構成されており、
前記第一の可動体は、第一の位置から第二の位置へ移動可能なものであり、
前記第二の可動体は、第三の位置から第四の位置へ移動可能なものであり、
前記第一の可動体は、前記第二の可動体に対向する第一の部位を有するものであり、
前記第二の可動体は、前記第一の可動体に対向する第二の部位を有するものであり、
前記第一の位置における前記第一の可動体の前記第一の部位と前記第三の位置における前記第二の可動体の前記第二の部位の最短距離は、前記第二の位置における該第一の可動体の該第一の部位と前記第四の位置における該第二の可動体の該第二の部位の最短距離と同じであり、
前記第一の位置の前記第一の可動体と前記第三の位置の前記第二の可動体は、前記表示手段に第一の大きさで重なり、
前記第二の位置の前記第一の可動体と前記第四の位置の前記第二の可動体は、前記表示手段に第二の大きさで重なり、
前記第一の大きさと前記第二の大きさは同じ大きさであり、
前記部材は、前記第一の可動体が前記第一の位置にあるときと、該第一の可動体が前記第二の位置にあるときとで前記表示手段との位置関係が同じであり、
前記部材は、前記第二の可動体が前記第三の位置にあるときと、該第二の可動体が前記第四の位置にあるときとで前記表示手段との位置関係が同じである、
ことを特徴とする遊技台。
続きを表示(約 180 文字)
【請求項2】
請求項1に記載の遊技台であって、
前記位置関係とは、前記部材と前記表示手段とが平行となっている位置関係である、
ことを特徴とする遊技台。
【請求項3】
請求項1または2に記載の遊技台であって、
前記部材は、該部材を介して前記表示手段を視認可能に構成されている、
ことを特徴とする遊技台。
発明の詳細な説明
【技術分野】
【0001】
本発明は、弾球遊技機(パチンコ機)、回胴遊技機(スロットマシン)、封入式遊技機あるいはメダルレススロットマシンに代表される遊技台に関する。
続きを表示(約 8,000 文字)
【背景技術】
【0002】
従来、遊技台の一つとして、例えば、スロットマシンが知られている。このようなスロットマシンには、演出用機器を備えたものがある(例えば、特許文献1参照)。
【先行技術文献】
【特許文献】
【0003】
特開2016-73461号公報
【発明の概要】
【発明が解決しようとする課題】
【0004】
しかしながら、従来の遊技台には、演出用機器に改良の余地がある。
【0005】
本発明の目的は、演出用機器に特徴を持った遊技台を提供することにある。
【課題を解決するための手段】
【0006】
本発明に係る遊技台は、第一の可動体と、第二の可動体と、第一の駆動部と、第二の駆動部と、表示手段と、を備えた遊技台であって、前記第一の駆動部の駆動によって前記第一の可動体が移動可能に構成されており、前記第二の駆動部の駆動によって前記第二の可動体が移動可能に構成されており、前記第一の可動体と前記第二の可動体は部材によって少なくとも一部が繋がっており、前記部材も移動可能に構成されており、前記第一の可動体は、第一の位置から第二の位置へ移動可能なものであり、前記第二の可動体は、第三の位置から第四の位置へ移動可能なものであり、前記第一の可動体は、前記第二の可動体に対向する第一の部位を有するものであり、前記第二の可動体は、前記第一の可動体に対向する第二の部位を有するものであり、前記第一の位置における前記第一の可動体の前記第一の部位と前記第三の位置における前記第二の可動体の前記第二の部位の最短距離は、前記第二の位置における該第一の可動体の該第一の部位と前記第四の位置における該第二の可動体の該第二の部位の最短距離と同じであり、前記第一の位置の前記第一の可動体と前記第三の位置の前記第二の可動体は、前記表示手段に第一の大きさで重なり、前記第二の位置の前記第一の可動体と前記第四の位置の前記第二の可動体は、前記表示手段に第二の大きさで重なり、前記第一の大きさと前記第二の大きさは同じ大きさであり、前記部材は、前記第一の可動体が前記第一の位置にあるときと、該第一の可動体が前記第二の位置にあるときとで前記表示手段との位置関係が同じであり、前記部材は、前記第二の可動体が前記第三の位置にあるときと、該第二の可動体が前記第四の位置にあるときとで前記表示手段との位置関係が同じである、ことを特徴とする遊技台である。
【発明の効果】
【0007】
本発明に係る遊技台によれば、演出用機器に特徴を持った遊技台を提供することができる。
【図面の簡単な説明】
【0008】
スロットマシン100を正面側(遊技者側)から見た外観斜視図である。
スロットマシン100の入賞ラインの一例を示す図である。
状態表示LED280の正面図である。
状態表示LED280を構成する部材を分解して示す分解斜視図である。
リフレクタ284の熱カシメ部284dを含む、状態表示LED280の断面図である。
(a)変形例1に係る状態表示LED750の断面図である。(b)(a)において符号Aで示す方向から見た状態表示LEDの底面図である。(c)変形例2に係る状態表示LED760の断面図である。
(a)前面扉102を開けた状態のスロットマシン100を示す正面図である。(b)スロットマシン100の側断面図である。
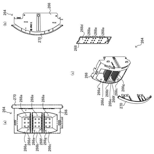
リールバックライト264の正面図である。(b)リールバックライト264の側面図である。(c)リールバックライト264を構成する部材を分解して正面側から見た外観斜視図である。
(a)状態表示LED280のLED基板288の正面図である。(b)リールバックライト264の照明基板268の正面図である。
制御部の回路ブロック図を示したものである。
(a)識別基板610を切り離す前の主制御基板600の平面図である。(b)識別基板610を切り離した後の主制御基板600の平面図である。
副制御基板650の平面図である。
主基板収納ケース640と主制御基板600を示した分解斜視図である。
(a)主制御基板600を収容した状態の主基板収納ケース640を基板収容体642側から見た平面図である。(b)(a)におけるA-A線に沿う断面図である。(c)(b)に対応する従来の基板の構造を示した断面図である。
(a),(b)変形例1に係る主制御基板670の平面図である。
(a)変形例2に係る主制御基板690の平面図である。(b)変形例3に係る主制御基板696の平面図である。
変形例4に係る主制御基板700の平面図である。
主基板収納ケース740と主制御基板700を示した分解斜視図である。
(a)主制御基板700を収容した状態の主基板収納ケース740を蓋体744側から見た平面図である。(b)(a)における符号A-A線に沿う断面図である。(c)変形例に係る主基板収納ケース840の断面図である。
(a―1)主制御基板700を収容した状態の主基板収納ケース740を蓋体744側から見た平面図であって、作業者の第一の方向の視線を示した図である。(a-2)(a-1)の符号B-B線に沿う断面図であって、基板収容体742の側の第一の方向から主制御基板700の部品面702aに実装された部品706を視認した状態を示した図である。(b―1)主制御基板700を収容した状態の主基板収納ケース740を蓋体744側から見た平面図であって、作業者の第二の方向の視線を示した図である。(b-2)(b-1)の符号C-C線に沿う断面図であって、基板収容体742の側の第二の方向から主制御基板700の部品面702aに実装された部品706を視認した状態を示した図である。
(a)図20(a-2)に対応する図面であって、基板収容体742の側の第一の方向から主制御基板700の部品706を視認可能な範囲を示した図である。(b)図20(b-2)に対応する図面であって、基板収容体742の側の第二の方向から主制御基板700の部品706を視認可能な範囲を示した図である。
(a)前面扉102の背面を示した背面図である。(b)(a)における主基板収納ケース740を抜き出して拡大して示した部分拡大図である。
前面扉102を開けた状態のスロットマシン100の本体101を示す正面図である。
図20(b-1)の符号C-C線に沿う断面図であって、3つの方向から主制御基板700に実装された部品を視認した状態を示した図である。
(a)本例に係る基板700を電源層710側から見た平面図であり。(b)(a)におけるX-X線に沿う、基板700の部分断面図である。
(a)LEDドライバIC714の端子配置図である。(b)モータドライバIC716の端子配置図である。
(a)基板700の電源層710の電源配線パターンの一例を示すパターン図である。(b)基板700のGND層706のGND配線パターン706aを示すパターン図である。
(a)図25(a)において符号Aで示す部分を拡大して示す、電源層710の部分拡大図である。(b)図25(b)において符号Bで示す部分を拡大して示す、GND層706の部分拡大図である。(c)(a)に示す電源層710と(b)に示すGND層706を重ね合わせて示すパターン図である。
(a)GND層706のパターン抜き706bと、電源層710に実装されるLEDドライバIC714およびモータドライバ716との位置関係を示した平面図である。(b)(a)に拡大して示すLEDドライバ714におけるY-Y線に沿う断面図である。(c)(a)に拡大して示すモータドライバ716におけるZ-Z線に沿う断面図である。
(a)従来の遊技台の基板における問題点を模式的に示した概念図である。(b)本願発明の基板の概念を模式的に示した図である。
(a)実施例1に係る非重畳領域NOEと、炭化導電路の想定最大領域CEを示した平面図である。(b)(a)におけるA-A線に沿う断面図である。(c)基板700の非重畳領域NOEが、炭化導電路の想定最大領域CEを含んでいない場合の例を示した平面図である。(d),(d´)(c)におけるB-B線に沿う断面図である。
(a)実施例2に係る非重畳領域NOE2を示した平面図である。(b)実施例3に係る非重畳領域NOE3を示した平面図である。(c)実施例4に係る非重畳領域NOE4を示した平面図である。
(a)実施例5に係る非重畳領域NOE5を示した平面図である。(b)(a)における電源配線ラインのパターンを変更した例を示した平面図である。
各リール(左リール110、中リール111、右リール112)に施された図柄の配列を平面的に展開して示す図である。
入賞役の種類、条件装置の名称,各入賞役に対応する図柄組合せ,払出数,備考を示す図である。
主制御部メイン処理の流れを示すフローチャートである。
主制御部タイマ割込処理の流れを示すフローチャートである。
(a)第1副制御部400のCPU404が実行するメイン処理のフローチャートである。(b)第1副制御部400のコマンド受信割込処理のフローチャートである。(c)第1副制御部400のタイマ割込処理のフローチャートである。
(a)第2副制御部500のCPU504が実行するメイン処理のフローチャートである。(b)第2副制御部500のコマンド受信割込処理のフローチャートである。(c)第2副制御部500のタイマ割込処理のフローチャートである。(d)第2副制御部500の画像制御処理のフローチャートである。
(a)スロットマシン100の内部当選役の抽選値の一例を示した図である。(b)内部当選役のうち、共通ベルと押し順役の操作内容ごとの表示態様と払出枚数を示す表である。
主制御部300のROM306に記憶されている当選役データを示す図である。
(a)主制御部300のCPU304が実行する有利区間移行処理のフローチャートである。(b)(c)に示す有利区間移行処理のプログラムに対応するフローチャートである。(c)有利区間移行処理のプログラムの一例である。(d)有利区間移行処理のプログラムの他の一例である。
(a)主制御部300のCPU304が実行する指示モニタ設定処理のフローチャートである。(b)(c)に示す指示モニタ設定処理のプログラムに対応するフローチャートである。(c)指示モニタ設定処理のプログラムの一例である。
(a)変形例1に係る指示モニタ設定処理のフローチャートである。(b)変形例1に係る指示モニタ設定処理のプログラムの一例である。
(a),(b)図39に示す当選役データの別例を示す図である。
(a)図39に示す当選役データの別例を示す図である。(b)図45(a)に示す指示モニタ設定処理におけるレジスタ値の変化を示した図である。
(a)変形例2に係る指示モニタ設定処理のフローチャートである。(b)変形例2に係る指示モニタ設定処理のプログラムの一例である。
本発明の一実施形態2に係るスロットマシンの外観を示す斜視図である。
実施形態2に係るスロットマシンの内部構成を示す図である。
メダルレススロットマシンが備える前面扉1102の一部を正面側(遊技者側)から見た外観図である。
(a)下皿1200を構成する部材を分解して示す分解斜視図である。(b)下皿ベース1202の係止ツメ1208b2を上方から見た部分拡大図である。(c)下皿カバー1208の底面1208aと背面立壁1208bの断面を示した断面図である。
(a)証紙取付ユニット1250を前方から見た外観斜視図である。(b)証紙取付ユニット1250を後方から見た外観斜視図である。
前面扉1102の下部を背面から見た外観斜視図である。
(a)証紙取付ユニット1250を前面扉1102に取り付ける前の状態を示した外観斜視図と模式図である。(b)証紙取付ユニット1250を前面扉1101に取り付けた後の状態を示した外観斜視図と模式図である。
(a)メダルレススロットマシンの扉中継基板1300の一部を示す正面図である。(b)扉中継基板1300におけるクリアスイッチ1304とリセットスイッチ1306の周辺を拡大して示す部分拡大図である。
(a)図53(a)におけるX-X線に沿う断面図である。(b)図53(a)におけるY-Y線に沿う断面図である。(c)本発明に係る「隆起部」の変形例を示した図である。
扉中継基板1300を模式的に示した平面図である。
封入式遊技機100を正面側(遊技者側)から見た外観斜視図である。
制御部の回路ブロック図を示したものである。
主制御部300、サブ制御部400、枠制御部600および発射制御部630などを構成する各(制御)基板等と、表示装置や可動体等との接続関係を示すブロック図である。
主制御基板301の主制御基板コネクタを抜粋して示した回路図である。
盤枠メイン中継基板203の盤枠メイン中継基板第1コネクタRCN1と盤枠メイン中継基板第2コネクタRCN2を抜粋して示した回路図である。
(a)主制御基板301の1層の表面の配線パターンの一部を抜粋して示した図である。(b)主制御基板301の2層の裏面の配線パターンの一部を抜粋して示した図である。
ハンドル中継基板901に接続される基板や電子部品を示した回路図である。
パチンコ機用のハンドル中継基板901pに接続される基板や電子部品を示した回路図である。
ハンドル中継基板901のハンドル中継基板コネクタの接続関係を示した回路図である。
パチンコ機用のハンドル中継基板901pのハンドル中継基板コネクタの接続関係を示した回路図である。
(a)ハンドル中継基板コネクタや部品が実装された状態のハンドル中継基板901の一例を示した平面図である。(b)ハンドル中継基板第1コネクタHCN1の端子配置の一例を示した図である。(c)ハンドル中継基板第2コネクタHCN2の端子配置の一例を示した図である。(d)ハンドル中継基板第4コネクタHCN4の端子配置の一例を示した図である。
(a)ハンドル中継基板コネクタや部品が実装された状態のパチンコ機用のハンドル中継基板901pの一例を示した平面図である。(b)ハンドル中継基板901pのハンドル中継基板第1コネクタHCN1の端子配置の一例を示した図である。(c)ハンドル中継基板901pのハンドル中継基板第2コネクタHCN2の端子配置の一例を示した図である。(d)ハンドル中継基板901pのハンドル中継基板第4コネクタHCN4の端子配置の一例を示した図である。
ハンドル中継基板901の部品面910aの配線パターンを示した平面図である。
ハンドル中継基板901の部品面910aの側から半田面910bの配線パターンのみを透過して示した平面図である。
ハンドル中継基板901の部品面910aと半田面910bの配線パターンの両方を示した平面図である。
ハンドル中継基板901の半田面910bの配線パターンを示した平面図である。
ハンドル中継基板901のコネクタや位置表示を示した平面図である。
ハンドル中継基板901のコネクタや位置表示の位置関係を示した平面図である。
部品が実装された状態の枠制御基板601の一例を示した平面図である。
枠制御基板601に実装されるスイッチと枠制御基板コネクタを抜粋して示した回路図である。
枠制御基板601の部品面920aの配線パターンを示した平面図である。
枠制御基板601の半田面920bの配線パターンを示した平面図である。
スロットマシン100を正面側(遊技者側)から見た外観斜視図である。
入賞役(作動役を含む)の種類、各入賞役に対応する図柄組み合わせ、各入賞役の払出を示す図である。
LEDユニット120を正面側から見た斜視図である。
LEDユニット120の分解斜視図である。
表示シール121を剥がした状態のLEDユニット120の右端部分を正面から撮影した写真である。
(a)は、LEDユニット120の背面側斜視図であり、(b)は、LEDユニット120を上面側から見た場合の各部品の位置関係を示す図である。
図81および図82に示す文字列用照射空間122LAの構造を示す断面図である。
図81および図82に示すセグメント用照射空間122LBの構造を示す断面図である。
(a)は、LED基板123が収納されていない状態のリフレクタ122を背面側から撮影した写真であり、(b)は、LED基板123を背面側から撮影した写真である。
(a)は、LED基板123がリフレクタ122に固定された状態を示す断面模式図であり、(b)は、(a)に示すカシメピン122SPの頭部の形状の変形例を示す図である。
(a)は、LED基板123の表面(LEDユニット120の正面側になる面)を示す図であり、(b)は、LED基板123の裏面(LEDユニット120の背面側になる面)を示す図である。
LED素子1231の回路を示す図である。
LED基板123の裏面(LEDユニット120の背面側になる面)のカシメ孔およびコネクタの位置を示す図である。
(a)はLED基板の変形例を示す図であり、(b)は(a)のコネクタ224の設置状態を示す拡大図である。
LED基板123がリフレクタ122に固定された状態を示す断面模式図である。
基板の裏側を保護するカバー123CVを備えたLED基板123がリフレクタ122に固定された状態を示す断面模式図である。
スロットマシン100を側面側から見た状態を示す断面模式図である。
ぱちんこ機1000を正面側(遊技者側)から見た図である。
スロットマシン10を正面側(遊技者側)から見た正面図である。
トップランプユニット11を斜め上からみた斜視図である。
ランプユニットの構造を説明する模式図である。
【発明を実施するための形態】
【0009】
<<実施形態1>>
以下、図面を用いて、本発明の実施形態1に係る遊技台(スロットマシン)について説明する。
【0010】
<全体構成>
まず、図1を用いてスロットマシン100の全体構成について説明する。図1は、スロットマシン100を正面側(遊技者側)から見た外観斜視図である。
(【0011】以降は省略されています)
この特許をJ-PlatPat(特許庁公式サイト)で参照する
関連特許
株式会社大都技研
遊技台
今日
株式会社大都技研
遊技台
1か月前
株式会社大都技研
遊技台
1か月前
株式会社大都技研
遊技台
1か月前
株式会社大都技研
遊技台
1か月前
株式会社大都技研
遊技台
1か月前
株式会社大都技研
遊技台
1か月前
株式会社大都技研
遊技台
1か月前
株式会社大都技研
遊技台
1か月前
株式会社大都技研
遊技台
1か月前
株式会社大都技研
遊技台
1か月前
株式会社大都技研
遊技台
1か月前
株式会社大都技研
遊技台
1か月前
株式会社大都技研
遊技台
1か月前
株式会社大都技研
遊技台
1か月前
株式会社大都技研
遊技台
1か月前
株式会社大都技研
遊技台
1か月前
株式会社大都技研
遊技台
1か月前
株式会社大都技研
遊技台
1か月前
株式会社大都技研
遊技台
1か月前
株式会社大都技研
遊技台
今日
株式会社大都技研
遊技台
1か月前
株式会社大都技研
遊技台
今日
株式会社大都技研
遊技台
今日
株式会社大都技研
遊技台
20日前
株式会社大都技研
遊技台
20日前
株式会社大都技研
遊技台
20日前
株式会社大都技研
遊技台
28日前
株式会社大都技研
遊技台
28日前
株式会社大都技研
遊技台
1か月前
株式会社大都技研
遊技台
1か月前
株式会社大都技研
遊技台
1か月前
株式会社大都技研
遊技台
1か月前
株式会社大都技研
遊技台
1か月前
株式会社大都技研
遊技台
1か月前
株式会社大都技研
遊技台
1か月前
続きを見る
他の特許を見る