TOP
|
特許
|
意匠
|
商標
特許ウォッチ
Twitter
他の特許を見る
10個以上の画像は省略されています。
公開番号
2025172097
公報種別
公開特許公報(A)
公開日
2025-11-20
出願番号
2025143200,2025033493
出願日
2025-08-29,2021-07-26
発明の名称
ゲームプログラム、情報処理装置及び情報処理方法
出願人
株式会社ポケモン
代理人
IPTech弁理士法人
主分類
A63F
13/212 20140101AFI20251113BHJP(スポーツ;ゲーム;娯楽)
要約
【課題】イベントに参加したユーザにおいて、着ぐるみとの交流結果をゲーム内の仮想世界に反映する。
【解決手段】 着ぐるみに備えられた端末から第1識別情報を取得する取得する第1ステップと、第1ユーザ識別情報を取得する第2ステップと、第1識別情報および第1ユーザ識別情報に基づき、前記ゲームプログラムのゲーム処理を制御する第3ステップとを実行させる。
【選択図】 図1
特許請求の範囲
【請求項1】
プロセッサと、記憶部とを備えるコンピュータに実行させるためのゲームプログラムであって、
前記ゲームプログラムは、前記プロセッサに、
着ぐるみ及び第1ユーザ端末の接近を検知したことに基づき、前記着ぐるみに対応する第1識別情報を取得する第1ステップと、
第1ユーザ端末に対応する第1ユーザ識別情報を取得する第2ステップと、
第1識別情報および第1ユーザ識別情報に基づき、前記第1ユーザ端末で実行する前記ゲームプログラムのゲーム処理を制御する第3ステップと、
を実行させるゲームプログラム。
続きを表示(約 1,400 文字)
【請求項2】
第1ユーザ識別情報に基づき第2ユーザ端末に対応する第2ユーザ識別情報を取得する第4ステップと、
第1識別情報、第1ユーザ識別情報および第2ユーザ識別情報に基づき、第2ユーザ端末へ通知情報を出力させる第5ステップと、
を実行させる、
請求項1記載のゲームプログラム。
【請求項3】
第2ユーザ識別情報は、第1ユーザ識別情報から所定の距離内に位置する第2ユーザに関する情報である請求項2記載のゲームプログラム。
【請求項4】
第5ステップは、前記着ぐるみに関する通知可否情報を取得し、通知可否情報が第1状態である場合にはユーザへ通知情報を出力させ、第2状態である場合にはユーザへ通知情報を出力させず、
第1状態は、第2状態と異なる、
請求項2または3記載のゲームプログラム。
【請求項5】
第2の着ぐるみから第1識別情報とは異なる第2識別情報を取得する第7ステップと、
を実行させ、
第3ステップは、第1識別情報および第2識別情報の組み合わせに基づき前記ゲームプログラムのゲーム処理を制御するステップである、
請求項1~4のいずれか記載のゲームプログラム。
【請求項6】
第3ステップは、第1識別情報の識別日時と第2識別情報の識別日時とが所定期間内である場合に、第1識別情報および第2識別情報に基づき前記ゲームプログラムのゲーム処理を制御するステップである、
請求項5記載のゲームプログラム。
【請求項7】
第3ステップは、第1識別情報と第2識別情報の取得順序に基づき前記ゲームプログラムのゲーム処理を制御するステップである、
請求項5または6記載のゲームプログラム。
【請求項8】
第1識別情報に基づき前記着ぐるみに関する第1属性情報を取得する第9ステップと、
第1ユーザ識別情報に基づき第2属性情報を取得する第10ステップと、
を実行させ、
第3ステップは、第1属性情報および第2属性情報に基づき前記ゲームプログラムのゲーム処理を制御するステップである、
請求項1~7のいずれか記載のゲームプログラム。
【請求項9】
前記着ぐるみは、複数の按部を有するスタンプを備え、
第1ステップは、複数の位置に接触されたときに個々の接触位置を検知可能なタッチパネルを有する第1ユーザ端末により、前記スタンプの按部の複数の接触位置を検知することにより、第1識別情報を取得するステップである、
請求項1~8のいずれか記載のゲームプログラム。
【請求項10】
第3ステップは、第1識別情報に基づき、
処理1.前記着ぐるみに対応したキャラクタをユーザが獲得する、
処理2.前記着ぐるみに対応した複数のゲーム内容から少なくとも1つのゲーム内容をユーザが選択できるようにする、
処理3.前記着ぐるみに対応した報酬を変化させる、
処理4.前記着ぐるみに対応したキャラクタの性能パラメータを変化させる、
処理5.前記着ぐるみに対応したキャラクタの性能パラメータを変化させるアイテムを付与する、
処理1~5の少なくとも1つを含むゲーム処理を制御するステップである、
請求項1記載のゲームプログラム。
(【請求項11】以降は省略されています)
発明の詳細な説明
【技術分野】
【0001】
本開示は、ゲームプログラム、情報処理装置及び情報処理方法に関する。
続きを表示(約 2,700 文字)
【背景技術】
【0002】
着ぐるみとは、人間の全身を覆う、等身大のぬいぐるみの総称であり、特殊衣類や材料等を用いて作られる。着ぐるみ内部に人間(演者)が入り、擬人化した動物や怪獣、架空の生物(キャラクタ)を表した特殊衣類で全身を覆って姿を変える演出により、各種イベントや遊園地、テレビ番組等で多く使用されている。特許文献1には、マスコットキャラクタを模した着ぐるみについて開示されている。特許文献2には、周囲の状況に応じた着ぐるみの演出を出力する着ぐるみ演出支援装置が開示されている。特許文献3には、着ぐるみの周辺ユーザの雰囲気に応じて周辺ユーザへ要求情報を送信可能な通信装置が開示されている。
【先行技術文献】
【特許文献】
【0003】
特許第6434184号
特許第6667878号
再表2018/087968
【発明の概要】
【発明が解決しようとする課題】
【0004】
ゲームなどのキャラクタを模した着ぐるみが参加するイベントにおいて、ユーザが着ぐるみと交流することが考えられる。当該キャラクタが登場するゲームをプレイしているユーザにおいて、ユーザが現実世界において着ぐるみと交流したとしても、ゲーム内のキャラクタ、ゲーム進行やクエストなどには影響がないため、ユーザがイベントに参加する動機づけに乏しい。イベントに参加したユーザにおいて、着ぐるみとの交流結果をゲーム内の仮想世界に十分に反映できていないという課題がある。
そこで、本開示は、上記課題を解決すべくなされたものであって、その目的は、ユーザが現実世界における着ぐるみと交流するとゲームの動作が変化し、もってユーザに対しより興趣性の高い体験型サービスを提供するゲームプログラム、情報処理装置、情報処理方法を提供することである。
【課題を解決するための手段】
【0005】
プロセッサと、記憶部とを備えるコンピュータに実行させるためのゲームプログラムであって、前記ゲームプログラムは、前記プロセッサに、着ぐるみ及び第1ユーザ端末の接近を検知したことに基づき、前記着ぐるみに対応する第1識別情報を取得する第1ステップと、第1ユーザ端末に対応する第1ユーザ識別情報を取得する第2ステップと、第1識別情報および第1ユーザ識別情報に基づき、前記第1ユーザ端末で実行する前記ゲームプログラムのゲーム処理を制御する第3ステップと、を実行させる。
【発明の効果】
【0006】
本開示によれば、ユーザが現実世界における着ぐるみと交流するとゲームの動作が変化し、ユーザのイベント参加体験における興趣性をより向上させることができる。
【図面の簡単な説明】
【0007】
情報処理システム1の全体の構成を示す図である。
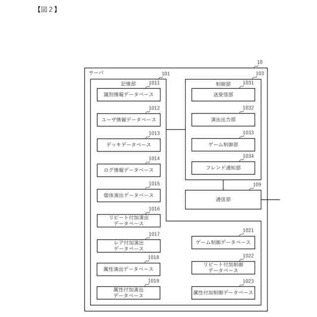
サーバ10の機能構成を示すブロック図である。
ユーザ端末20のハードウェア構成を示すブロック図である。
着ぐるみ端末30のハードウェア構成を示すブロック図である。
着ぐるみ32を表す概略図である。
スタンプ41の構成を表す図である。
識別情報データベース1011のデータ構造を示す図である。
(A)はユーザ情報データベース1012のデータ構造を示す図であり、(B)はデッキデータベース1013のデータ構造を示す図であり、(C)はログ情報データベース1014のデータ構造を示す図である。
個体演出データベース1015のデータ構造を示す図である。
(A)はリピート付加演出データベース1016のデータ構造を示す図であり、(B)はレア付加演出データベース1017のデータ構造を示す図であり、(C)は属性演出データベース1018のデータ構造を示す図であり、(D)は属性付加演出データベース1019のデータ構造を示す図である。
(A)はゲーム制御データベース1021のデータ構造を示す図であり、(B)はリピート付加制御データベース1022のデータ構造を示す図であり、(C)は属性付加制御データベース1023のデータ構造を示す図である。
サーバ10による演出出力処理の動作を示すフローチャートである。
ユーザ端末20における演出内容の表示画面例を示す図である。
フレンドのユーザ端末20の表示画面例を示す図である。
サーバ10によるゲーム制御処理の動作を示すフローチャートである。
(A)は制御内容Aによる表示画面例を示す図であり、(B)は制御内容Bによる表示画面例を示す図であり、(C)はリピート付加制御Aによる表示画面例を示す図であり、(D)はユーザ端末20における属性付加制御Aによる表示画面例を示す図である。
コンピュータの基本的なハードウェア構成を示すブロック図である。
【発明を実施するための形態】
【0008】
以下、本開示の実施形態について図面を参照して説明する。実施形態を説明する全図において、共通の構成要素には同一の符号を付し、繰り返しの説明を省略する。なお、以下の実施形態は、特許請求の範囲に記載された本開示の内容を不当に限定するものではない。また、実施形態に示される構成要素のすべてが、本開示の必須の構成要素であるとは限らない。また、各図は模式図であり、必ずしも厳密に図示されたものではない。
【0009】
<情報処理システム1の概要>
図1は、情報処理システム1の全体の構成を示す図である。本開示における情報処理システム1は、複数の着ぐるみが参加するイベントにおいて、着ぐるみの種類または個体ごとに異なる演出を出力する情報処理システムである。
【0010】
<情報処理システム1の基本構成>
本開示における情報処理システム1を図1に示す。情報処理システム1は、ネットワークNを介して接続された、サーバ10、複数のユーザ端末20A,20B,20C、複数の着ぐるみに備えられた着ぐるみ端末30A,30B,30Cを備えて構成されている。図2は、サーバ10の機能構成を示すブロック図である。図3は、ユーザ端末20のハードウェア構成を示すブロック図である。図4は、着ぐるみ端末30のハードウェア構成を示すブロック図である。図5は、着ぐるみ32を表す概略図である。図6は、スタンプ41の構成を表す図である。
(【0011】以降は省略されています)
特許ウォッチbot のツイートを見る
この特許をJ-PlatPat(特許庁公式サイト)で参照する
関連特許
個人
玩具
5か月前
個人
玩具
2か月前
個人
自走玩具
2か月前
個人
小型卓球台
26日前
個人
ゲーム玩具
6か月前
個人
運動補助具
4か月前
個人
パズル
27日前
個人
打撃練習用具
1か月前
株式会社三共
遊技機
1か月前
株式会社三共
遊技機
1か月前
株式会社三共
遊技機
1か月前
株式会社三共
遊技機
1か月前
株式会社三共
遊技機
1か月前
株式会社三共
遊技機
4か月前
株式会社三共
遊技機
1か月前
株式会社三共
遊技機
1か月前
株式会社三共
遊技機
1か月前
株式会社三共
遊技機
1か月前
株式会社三共
遊技機
1か月前
株式会社三共
遊技機
1か月前
株式会社三共
遊技機
1か月前
株式会社三共
遊技機
1か月前
株式会社三共
遊技機
1か月前
株式会社三共
遊技機
1か月前
株式会社三共
遊技機
1か月前
株式会社三共
遊技機
1か月前
株式会社三共
遊技機
1か月前
株式会社三共
遊技機
1か月前
株式会社三共
遊技機
1か月前
株式会社三共
遊技機
1か月前
株式会社三共
遊技機
1か月前
株式会社三共
遊技機
1か月前
株式会社三共
遊技機
1か月前
株式会社三共
遊技機
1か月前
株式会社三共
遊技機
1か月前
株式会社三共
遊技機
1か月前
続きを見る
他の特許を見る