TOP
|
特許
|
意匠
|
商標
特許ウォッチ
Twitter
他の特許を見る
10個以上の画像は省略されています。
公開番号
2025171994
公報種別
公開特許公報(A)
公開日
2025-11-20
出願番号
2025074338
出願日
2025-04-28
発明の名称
インサートを含むゴルフクラブヘッド
出願人
アクシュネット カンパニー
,
ACUSHNET COMPANY
代理人
個人
,
個人
,
個人
主分類
A63B
53/04 20150101AFI20251113BHJP(スポーツ;ゲーム;娯楽)
要約
【課題】選択的な重りの配置を通してゴルフクラブのヘッドの重心(CG)及び/又は慣性モーメント(MOI)を調整することは、ゴルフボールの飛行特性に影響を与える。しかしながら、これらの重りは、打撃フェースに対して戦略的に配置され、適切に設計される必要がある。
【解決手段】インサート1820を含むゴルフクラブヘッド1800が、本明細書に開示される。ここに開示される技術によると、ゴルフクラブヘッドは、打撃フェース、クラウン、ソール、及びインサートを含んで良い。打撃フェース1804は、上部打撃フェース部分及び下部打撃フェース部分を含んで良い。ソール1810は、後方ソール部分、前方ソール部分、及び開口部を含んで良い。前方ソール部分は、上向きに延在する下部前方ソール部分と、対角線上に延在する上部前方ソール部分とを含んで良い。開口部は、前方ソール部分及び下部打撃フェース部分を分離して良い。
【選択図】図20
特許請求の範囲
【請求項1】
ゴルフクラブヘッドにおいて、
上記ゴルフクラブヘッドの前方部分に位置する打撃フェースであって、第1の厚さを有する上部打撃フェース部分、及び、上記第1の厚さよりも大きい第2の厚さを有する下部打撃フェース部分であって、上記下部打撃フェース部分が上記ゴルフクラブヘッドの前縁を形成する、下部打撃フェース部分を更に備える、上記打撃フェースと、
上記打撃フェースから後方に延在する、上記ゴルフクラブヘッドの上部部分を形成するクラウンと、
上記ゴルフクラブヘッドの下部部分を形成するソールとを有し、
上記ソールが、
上記ソールの後ろ部分を形成する後方ソール部分と、
上記ソールの前方部分を形成する前方ソール部分とを有し、
上記前方ソール部分が、
実質的に垂直方向に上向きに延在する下部前方ソール部分と、
上記下部前方ソール部分の頂部から斜めに上向きかつ前方に延在する上部前方ソール部分と、
上記前方ソール部分及び上記下部打撃フェース部分を相互に分離する開口部とを有し、
上記前方ソール部分が、
上記下部前方ソール部分と上記下部打撃フェース部分との間の第1の前方ソール部分距離と、
上記上部前方ソール部分と上記下部打撃フェース部分との間の第2の前方ソール部分距離とを更に有し、上記第1の前方ソール部分距離が、上記第2の前方ソール部分距離よりも大きいことを特徴とするゴルフクラブヘッド。
続きを表示(約 960 文字)
【請求項2】
上記ゴルフクラブヘッドが、上記開口部内に嵌合するインサートを更に有し、上記インサートが中空である請求項1に記載のゴルフクラブヘッド。
【請求項3】
上記インサートが、設置位置で上記ソールの一部を形成する第1のインサート部分を有する請求項1に記載のゴルフクラブヘッド。
【請求項4】
上記インサートが第2のインサート部分を更に有し、上記第2のインサート部分が上記第1のインサート部分の上方にあり、上記第1のインサート部分が第1のインサート幅を含み、上記第2のインサート部分が第2のインサート幅を有する請求項3に記載のゴルフクラブヘッド。
【請求項5】
上記第2のインサート幅が、上記第2のインサート部分の前方が上記第2のインサート部分の後方よりも小さくなるように変化する請求項4に記載のゴルフクラブヘッド。
【請求項6】
上記第1のインサート部分が中空である請求項3に記載のゴルフクラブヘッド。
【請求項7】
上記上部前方ソール部分が、接地平面に直角な垂直平面から測定される前方ソール部分角度にあり、上記前方ソール部分角度が、90度よりも大きい請求項1に記載のゴルフクラブヘッド。
【請求項8】
上記下部前方ソール部分が、上記上部前方ソール部分よりも厚い請求項1に記載のゴルフクラブヘッド。
【請求項9】
上記下部前方ソール部分が第1のソール部分幅を有し、上記上部前方ソール部分が第2のソール部分幅を有し、上記第2のソール部分幅が上記第1のソール部分幅未満である請求項1に記載のゴルフクラブヘッド。
【請求項10】
上記インサートが、
設置位置で上記ソールの一部を形成する第1のインサート部分であって、上記第1のインサート部分が第1のインサート幅を有する、上記第1のインサート部分と、
上記第1のインサート部分の上方の第2のインサート部分であって、上記第2のインサート部分が第2のインサート幅を有する、上記第2のインサート部分と、を有し、
上記第2のインサート部分の前方が、上記第2のソール部分幅と実質的に同じ幅である請求項9に記載のゴルフクラブヘッド。
発明の詳細な説明
【技術分野】
【0001】
この発明この発明は、改善されたソール部分を有するゴルフクラブアイアンに関し、より具体的には、アイアンの打撃フェースに隣接するスロットを有するゴルフクラブアイアンに関する。
続きを表示(約 1,900 文字)
【背景技術】
【0002】
ゴルフクラブで打った後のゴルフボールの飛行特性は、ゴルフクラブのスイングだけでなく、ゴルフクラブ自体にも左右される。例えば、フェード、ドロー、打ち出し角、ボールスピン、スピード、及び同様のものなどのゴルフボールの飛行特性は、ゴルフクラブの設計によって影響を受ける。ゴルフクラブの1つ以上のデザイン特性を調整することによって、ゴルフボールの飛行特性が改善され、それによってゴルフクラブの性能が向上する。いくつかの実施例では、選択的な重りの配置を通してゴルフクラブのヘッドの重心(CG)及び/又は慣性モーメント(MOI)を調整することは、ゴルフボールの飛行特性に影響を与える。しかしながら、これらの重りは、打撃フェースに対して戦略的に配置され、適切に設計される必要がある。このように、ゴルフクラブアイアンの重りインサートの改善が望まれる。
【0003】
重りインサートは、ゴルフクラブヘッドのCG及びMOIの改善を助ける上で重要であるが、ゴルフクラブヘッドの性能を更に改善する別の方法は、ゴルフボールとの衝突時にゴルフクラブヘッドのコンプライアンスを高めることである。Bennettらの米国特許第8,986,133号は、メタルウッドタイプのゴルフクラブの性能をコンプライアンスがどのように改善できるかを例解している。
【0004】
Wahlの米国特許第9,044,653号は、ゴルフクラブヘッドのコンプライアンスを改善するためにアイアンにスロットを追加したことを例解しているが、その配置を最適化し、充填剤を追加することによって、こうしたスロットの性能能力を最大化することに失敗している。
【先行技術文献】
【特許文献】
【0005】
米国特許第8,986,133号明細書
米国特許第9,044,653号明細書
【発明の概要】
【0006】
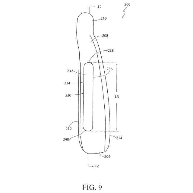
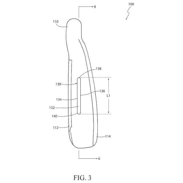
態様では、技術は、下部前縁を有する打撃フェースと、下部前縁に対向する上部頂部線縁と、下部前縁から後縁まで、下部前縁の後方及び遠位に延在するソールと、打撃フェース後方に、かつ後縁と上部頂部線縁との間に位置付けられた後部部分と、打撃フェースに隣接してソール内に形成されたスロットと、スロット内に配設された重りインサートと、を含むアイアンタイプのゴルフクラブヘッドに関連する。
【0007】
スロットは、打撃フェースに隣接したソールの底面に画定される前部縁と、後部部分に向かって前部縁の反対側のソールの底面に画定される後部縁と、ゴルフクラブヘッドのヒール側に隣接する近位縁と、ゴルフクラブヘッドのトウ側に隣接する遠位縁とを有する。1つ以上の側壁は、スロット縁から上方に延在して、スロット構成を更に画定する。インサートをスロットの内側に配置して、インサートなしで同じゴルフクラブヘッドに対して重心を前方及び/又は下方に移動させる試みにおいて、ゴルフクラブヘッドのフェース部分に重りを加えることができる。
【0008】
スロットは、様々な長さ及び幅を有することができ、打撃フェースから様々な距離に位置付けることができる。下記及び添付図面でより詳細に規定されているが、概して、スロットは一般に細長い構成を有し、その長さはゴルフクラブのヒールからトウの方向で近位縁から遠位縁まで測定される。スロットの幅は長さよりも小さく、また一般的に、前部から後部へ向かう方向で前部縁から後部縁まで測定される。スロットの高さは一般的に、ソールから上向き方向に頂部線縁に向けて測定される。
【0009】
概して、スロットは、約20mm~約85mmの長さを有することができる。スロットは、約1mm~約13mmの幅を有することができる。この発明この発明の実施例では、スロットは、打撃フェースの領域内に(x方向に)維持される。この発明この発明の別の実施例では、スロットはゴルフクラブヘッドのトウ部分に入ることができる。この発明この発明の別の実施例では、スロットは、ゴルフクラブヘッドのトウ部分内に上向きに延在することができる。別の実施例では、スロットは、トウ部分内に上向きに延在し、ゴルフクラブヘッドの後部部分に向かって後方に湾曲することができる。
【0010】
スロットはまた、打撃フェースからのその距離、より具体的には、スロットの前部縁から打撃フェースの内壁までの距離によって特徴付けられる。スロットの前部縁から打撃フェースの内壁までの距離は、一般に8mm以下である。
(【0011】以降は省略されています)
この特許をJ-PlatPat(特許庁公式サイト)で参照する
関連特許
個人
玩具
5か月前
個人
玩具
2か月前
個人
自走玩具
2か月前
個人
小型卓球台
27日前
個人
運動補助具
4か月前
個人
ゲーム玩具
6か月前
個人
打撃練習用具
1か月前
個人
パズル
28日前
株式会社三共
遊技機
5か月前
株式会社三共
遊技機
5か月前
株式会社三共
遊技機
5か月前
株式会社三共
遊技機
5か月前
株式会社三共
遊技機
1か月前
株式会社三共
遊技機
5か月前
株式会社三共
遊技機
5か月前
株式会社三共
遊技機
2か月前
株式会社三共
遊技機
5か月前
株式会社三共
遊技機
5か月前
株式会社三共
遊技機
5か月前
株式会社三共
遊技機
5か月前
株式会社三共
遊技機
2か月前
株式会社三共
遊技機
5か月前
株式会社三共
遊技機
2か月前
株式会社三共
遊技機
5か月前
株式会社三共
遊技機
5か月前
株式会社三共
遊技機
5か月前
株式会社三共
遊技機
5か月前
株式会社三共
遊技機
5か月前
株式会社三共
遊技機
2か月前
株式会社三共
遊技機
5か月前
株式会社三共
遊技機
5か月前
株式会社三共
遊技機
5か月前
株式会社三共
遊技機
5か月前
株式会社三共
遊技機
5か月前
株式会社三共
遊技機
5か月前
株式会社三共
遊技機
5か月前
続きを見る
他の特許を見る