TOP
|
特許
|
意匠
|
商標
特許ウォッチ
Twitter
他の特許を見る
10個以上の画像は省略されています。
公開番号
2025171887
公報種別
公開特許公報(A)
公開日
2025-11-20
出願番号
2024095558
出願日
2024-06-13
発明の名称
テイクアウェイ姿勢の確認装置
出願人
ディーエムビーエイチ カンパニー,リミテッド
代理人
個人
,
個人
主分類
A63B
69/36 20060101AFI20251113BHJP(スポーツ;ゲーム;娯楽)
要約
【課題】光源を用いてテイクアウェイの段階で使用者のクラブシャフトの状態を視認できるようにして、使用者が正しいテイクアウェイ姿勢を練習できるようにするテイクアウェイ姿勢の確認装置を提供する。
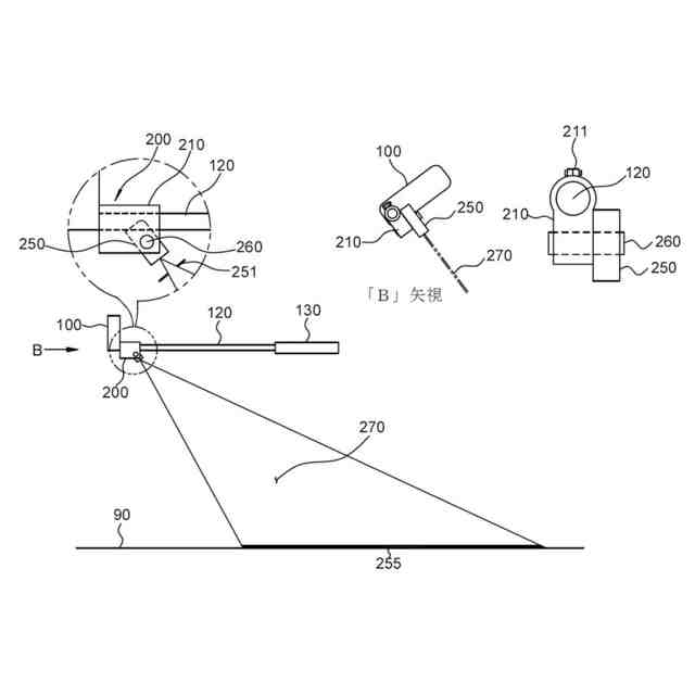
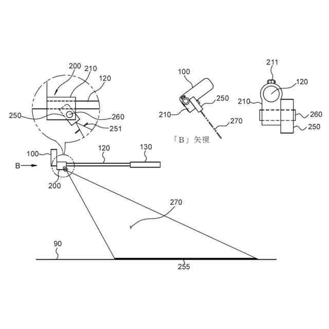
【解決手段】テイクアウェイ姿勢の状態を確認するためのゴルフクラブにおいて、前記ゴルフクラブは、ヘッド100とシャフト120とグリップ130とを備え、前記ヘッド100またはシャフトの所定の部位に一定の角度にてスリットビームを照射するスリットビーム照射部を配置し、必要に応じて、前記スリットビーム照射部200は、前記ヘッド100またはシャフトの所定の部位に配置されてもよく、前記スリットビーム照射部には、前記シャフトに固定する固定部210と、前記固定部により固定されてスリットビーム270を照射するレーザー発生部250と、が配備され、前記レーザー発生部から発せられるスリットビーム270をゴルフボールが置かれている床面90に照射してビーム軌跡255を形成することを特徴とするテイクアウェイ姿勢の確認装置。
【選択図】図3
特許請求の範囲
【請求項1】
テイクアウェイ姿勢の状態を確認するためのゴルフクラブにおいて、
前記ゴルフクラブは、ヘッド(100)とシャフト(120)とグリップ(130)とを備え、前記ヘッド(100)またはシャフトの所定の部位に一定の角度にてスリットビームを照射するスリットビーム照射部(200)を配置したことを特徴とする、テイクアウェイ姿勢の確認装置。
続きを表示(約 2,600 文字)
【請求項2】
前記スリットビーム照射部(200)は、前記ヘッド(100)またはシャフトの所定の部位に配置され、
前記スリットビーム照射部(200)には、
前記シャフトに固定する固定部(210)と、
前記固定部により固定されてスリットビーム(270)を照射するレーザー発生部(250)と、
が配備され、
前記レーザー発生部から発せられるスリットビーム(270)をゴルフボールが置かれている床面(90)に照射してビーム軌跡(255)を形成することを特徴とする、請求項1に記載のテイクアウェイ姿勢の確認装置。
【請求項3】
前記ビーム軌跡(255)は、テイクアウェイ姿勢においてゴルフクラブの位置に依存して床面の他の位置に照射され、前記ビーム軌跡は、前記テイクアウェイ姿勢をとる使用者が確認可能な位置に照射されることを特徴とする、請求項2に記載のテイクアウェイ姿勢の確認装置。
【請求項4】
前記スリットビーム照射部(200)は、ゴルフヘッドの角度を確認できるように前記ヘッド(100)またはシャフトの所定の部位に配置され、このとき、前記レーザー発生部(250)から床面へと照射されるビーム軌跡は、使用者が前記テイクアウェイ姿勢において、使用者が確認可能な位置に照射されるようにレーザーの照射角度を制御することを特徴とする、請求項3に記載のテイクアウェイ姿勢の確認装置。
【請求項5】
ゴルフクラブを使用する使用者を正面から眺めたときに、アドレス姿勢においてゴルフクラブを左側に移動させてテイクアウェイ姿勢をとる場合、前記テイクアウェイ姿勢においてゴルフクラブのヘッドとグリップとの相対的な位置を通じてゴルフクラブの位置を定義するが、
前記ゴルフクラブを使用する使用者の正面から使用者を眺めたときに、前記ヘッドが前記グリップよりも上側に配置される形状である第11の位置と、前記ヘッドと前記グリップとが同一の高さに配置されて前記ゴルフクラブのシャフトが床面と平行に配置される形状である第12の位置と、前記ヘッドが前記グリップよりも下側に配置される形状である第13の位置と、を定義し、
前記使用者の右側から使用者を眺めたときに、前記ヘッドが前記グリップよりも左側に位置する形状(使用者の後側にヘッドが移動)である第21の位置と、前記ヘッドが前記グリップと一致する形状である第22の位置と、前記ヘッドが前記グリップよりも右側に位置する形状(使用者の手前側にヘッドが移動)である第23の位置と、を定義し、
前記第12の位置と前記第22の位置とを同時に満たす位置を第1の正常位置と定義することを特徴とする、請求項4に記載のテイクアウェイ姿勢の確認装置。
【請求項6】
ゴルフヘッドの手前側をトウ(Toe)、後側をヒール(Heel)とし、前記ヒールを通りながら床面と垂直となる直線をヒール垂直線とし、前記ゴルフクラブが第1の正常位置を保持している状態で、前記使用者の右側から使用者を眺めたときに、ゴルフヘッドが置かれている角度に応じてゴルフヘッドの位置を定義し、
前記ヒール垂直線を0°とし、前記ヒール垂直線を基準として左側方向を「-」角度方向、右側方向を「+」角度方向としたとき、前記ヒールは、ヒール垂直線に位置している状態で、前記トウが前記ヒール垂直線の左側である-45°~0°未満に配置される第31の位置と、
前記トウが前記ヒール垂直線の右側である0°~30°未満に配置される第32の位置と、
前記トウが前記ヒール垂直線の右側である31°~90°に配置される第33の位置と、
を定義し、
前記第12の位置と前記第22の位置と前記第32の位置とを同時に満たす位置を正常位置と定義し、前記正常位置から床面へと照射されるビーム軌跡を正常照射軌跡(300と定義し、
正常位置を除いた残りの位置から照射されるビーム軌跡を非正常位置軌跡としたとき、正常位置軌跡と非正常位置軌跡は、それぞれ互いに異なる床面に照射されることを特徴とする、請求項5に記載のテイクアウェイ姿勢の確認装置。
【請求項7】
テイクアウェイ姿勢を取っている右利きの使用者を基準として上側方向を+z軸方向、下側方向を-z軸方向、左側方向を+y軸方向、右側方向を-y軸方向、手前側方向を+x軸方向、後側方向を-x軸方向とし、
正常照射軌跡(300)の中心を原点と定義したとき、前記正常照射軌跡(300)は、y軸に平行でありながら、使用者の足先(151)からゴルフボール(150)までの間に照射されるようにレーザーの照射角度を制御するが、その照射範囲は、ゴルフボール(150)を基準として両側を越えるように制御して使用者がテイクアウェイ姿勢においてレーザーの正常照射軌跡(300)を認識可能な位置に照射されることを特徴とする、請求項6に記載のテイクアウェイ姿勢の確認装置。
【請求項8】
ゴルフクラブがy軸と平行になるように配置された状態で使用者を右側から眺める場合に、ゴルフヘッドを反時計回り方向に回転させるとき、前記ビーム軌跡は、正常照射軌跡(300)と平行になるように+x軸方向に移動する第31の軌跡(255CC)となるように照射され、
ゴルフヘッドを時計回り方向に回転させるとき、前記ビーム軌跡は、正常照射軌跡(300)と平行になるように-x軸方向に移動する第33の軌跡(255CW)となるように照射されて使用者がテイクアウェイ姿勢において前記第31の軌跡と前記第33の軌跡を確認可能な位置に照射されることを特徴とする、請求項7に記載のテイクアウェイ姿勢の確認装置。
【請求項9】
ゴルフクラブがy軸と平行になるように配置された状態でゴルフヘッドを上側に移動させるとき、前記ビーム軌跡は、正常照射軌跡(300)から-y方向に移動する第11の軌跡(255U)となるように照射され、
ゴルフヘッドを下側に移動させるとき、前記ビーム軌跡は、正常照射軌跡(300)から+y方向に移動する第13の軌跡(255D)となるように照射されて使用者がテイクアウェイ姿勢において前記第21の軌跡と前記第13の軌跡を確認可能な位置に照射されることを特徴とする、請求項7に記載のテイクアウェイ姿勢の確認装置。
発明の詳細な説明
【技術分野】
【0001】
本発明は、テイクアウェイ姿勢の確認装置に関し、より詳細には、光源を用いて使用者がテイクアウェイの段階で正しい姿勢を身に付けられるようにするテイクアウェイ姿勢の確認装置に関する。
続きを表示(約 1,500 文字)
【背景技術】
【0002】
ゴルフスイングは、アドレス(ポスチャー)、テイクアウェイ(Take-away、テイクバック)、バックスイング(ハーフウェイバック)、バックスイングトップ(top of backswing、トップオブバックスイング)、ダウンスイング(ハーフウェイダウン)、インパクト、リリース、フォロースルーなどの段階に分けられる。
【0003】
テイクアウェイは、図1に示されているように、アドレス姿勢(a)から始まってクラブが水平をなす地点をテイクアウェイの段階(b)と称する。一般に、時計回り方向を基準とした場合に、腕の方向を時計回り方向に対して8時付近と称する。
【0004】
すべての段階の姿勢が重要であるものの、一般に、バックスイングの開始段階であるテイクアウェイ(take-away)は、スイングの開始段階であって、この段階での正しい動作は、残りのスイングを正しくする基本であり、仮に、この段階で誤った姿勢から始まってしまうと、残りのいずれかの段階で補償作用が行われて一貫したスイングをする上で困難さを有すると言われているのが普通である。
【0005】
一方、図2を参照すると、テイクアウェイ動作が望ましく行われるか否かを点検するための要素としては、一般に、3種類の要素を使用する。すなわち、図2(a)においては、正面(前面)から使用者を眺めたときの様子であって、クラブシャフトが地面と水平をなすことを好適な姿勢とし、水平までの距離が短い(水平に達していない)場合は、手首の使用がほとんど行われておらず、水平を過ぎた場合は、手首のコーキングが予め行われた場合を示す。
【0006】
また、図2(b)の場合は、背面(側面)から使用者を眺めたときの様子であって、クラブシャフトが地面と水平をなしているものの、ターゲットと平行をなす場合を好適な姿勢とし、グリップ部分を基準としてヘッドがターゲットの外を向く場合(outside takeaway)と、ヘッドが内側を向く場合(inside takeaway)とがある。
【0007】
また、図2(c)に示されているように、クラブシャフトが地面と平行であり、ターゲットと平行をなしているものの、クラブヘッドのトウが地面に対して垂直である上を向く場合をスクウェア(square)と呼び、他のクラブヘッドのトウが使用者の傾いた脊柱角と略平行をなす状態を好適な姿勢とし、クラブフェイスが閉じられた(close)状態と称する。
【0008】
さらに、クラブヘッドのトウが人間の胴体側を向いていることをクラブヘッドが開かれた(open)姿勢と呼び、これは、アマチュアによく見られる望ましくない姿勢といわれている。
【0009】
したがって、スイング練習に際して使用者がテイクアウェイの段階で正しい姿勢を有することをリアルタイムにて確認しながら、スイングの初期の段階で好適な姿勢をとって練習して見に付けることが重要であり、このような目的で提供される装置及び方法は非常に重要である。
【0010】
しかしながら、テイクアウェイ姿勢を練習可能な装置及び方法は滅多に見当たらない。但し、スイング分析装置及び方法として、カメラを用いることと、慣性センサーなどの動作感知センサーなどを用いることなどが提案されているが、スイング全体の軌跡やプレーンを分析し、基準姿勢などと比較して使用者に提供する装置及び方法などがほとんどである。したがって、テイクアウェイ姿勢を練習可能な装置が望まれているのが現状である。
【先行技術文献】
【特許文献】
(【0011】以降は省略されています)
この特許をJ-PlatPat(特許庁公式サイト)で参照する
関連特許
個人
玩具
5か月前
個人
玩具
2か月前
個人
自走玩具
2か月前
個人
小型卓球台
25日前
個人
運動補助具
4か月前
個人
ゲーム玩具
6か月前
個人
打撃練習用具
1か月前
個人
パズル
26日前
株式会社三共
遊技機
1か月前
株式会社三共
遊技機
1か月前
株式会社三共
遊技機
1か月前
株式会社三共
遊技機
1か月前
株式会社三共
遊技機
8か月前
株式会社三共
遊技機
1か月前
株式会社三共
遊技機
1か月前
株式会社三共
遊技機
1か月前
株式会社三共
遊技機
1か月前
株式会社三共
遊技機
1か月前
株式会社三共
遊技機
1か月前
株式会社三共
遊技機
1か月前
株式会社三共
遊技機
1か月前
株式会社三共
遊技機
1か月前
株式会社三共
遊技機
1か月前
株式会社三共
遊技機
1か月前
株式会社三共
遊技機
8か月前
株式会社三共
遊技機
8か月前
株式会社三共
遊技機
1か月前
株式会社三共
遊技機
8か月前
株式会社三共
遊技機
8か月前
株式会社三共
遊技機
8か月前
株式会社三共
遊技機
8か月前
株式会社三共
遊技機
8か月前
株式会社三共
遊技機
8か月前
株式会社三共
遊技機
8か月前
株式会社三共
遊技機
8か月前
株式会社三共
遊技機
1か月前
続きを見る
他の特許を見る