TOP
|
特許
|
意匠
|
商標
特許ウォッチ
Twitter
他の特許を見る
10個以上の画像は省略されています。
公開番号
2025168354
公報種別
公開特許公報(A)
公開日
2025-11-07
出願番号
2025130060,2025120404
出願日
2025-08-04,2018-06-08
発明の名称
ゲーム管理システム
出願人
エンゼルグループ株式会社
代理人
個人
,
個人
主分類
A63F
1/06 20060101AFI20251030BHJP(スポーツ;ゲーム;娯楽)
要約
【課題】 カジノ全体の売上若しくは利益、又はテーブルごと若しくはピットごとの利益若しくは利益を把握する。
【解決手段】 ゲーム管理システム100は、カジノ施設の複数のテーブルで行われるカジノゲームを管理する。ゲーム管理システム100は、ベットされた遊技用代用貨幣を撮影して画像を得るカメラ2と、画像における遊技用代用貨幣の位置に基づいてベット対象を特定し、画像における前記遊技用代用貨幣の種類及び枚数に基づいてベット額を特定する制御装置14と、カジノゲームのゲーム結果を判定するカード配布装置3と、ベット対象、ベット額、及びゲーム結果に基づいて、複数のテーブルのテーブルごと、かつゲームごとに、カジノ運営者の利益を算出する演算装置51と、利益を記録する記録装置52とを備えている。
【選択図】 図20
特許請求の範囲
【請求項1】
遊技テーブル上で行われるゲームを管理するゲーム管理システムであって、
少なくとも遊技テーブルと、前記遊技テーブルに置かれるチップを含むゲーム用品と、ディーラ又はプレイヤの手とを含む対象を撮影して画像を取得する1又は複数のカメラと、
少なくとも前記画像を分析することで、前記遊技テーブルにおける所定のイベントとして、ベット、勝ちチップへの支払いの少なくともいずれかの発生を判定する制御装置と、
前記制御装置が前記画像を分析することにより判定した前記所定のイベントが正しく行われたかを判定する管理装置と、
を備え、
前記カメラは、斜め上から前記遊技テーブルを撮影して、前記ゲーム用品が斜め上から撮影された前記画像を取得し、
前記制御装置は、前記画像に対して人工知能又はディープラーニングを用いることで前記画像から複数種類の前記対象のいずれの対象であるかを認識し、前記認識の結果に基づいて、前記所定のイベントの発生を判定する、ゲーム管理システム。
続きを表示(約 1,000 文字)
【請求項2】
前記制御装置は、前記所定のイベントとして、ベットの終了を判定し、
前記管理装置は、前記制御装置が前記画像を分析することにより判定した前記ベットの終了の後に、チップの不正な動きがないかを判定する、請求項1に記載のゲーム管理システム。
【請求項3】
前記制御装置は、前記所定のイベントとして、勝ちチップへの支払いを判定し、
前記管理装置は、前記制御装置が前記画像を分析することにより判定した勝ちチップへの支払いが正しく行われたかを判定する、請求項1に記載のゲーム管理システム。
【請求項4】
前記制御装置は、前記所定のイベントとして、さらに、負けチップの回収を判定し、
前記管理装置は、前記制御装置が前記画像を分析することにより判定した前記負けチップの回収が正しく行われたかを判定する、請求項1に記載のゲーム管理システム。
【請求項5】
前記制御装置は、前記画像から複数の前記対象を認識し、前記複数の対象の認識結果を組み合わせることで、前記所定のイベントの発生を判定する、請求項1に記載のゲーム管理システム。
【請求項6】
前記制御装置は、複数の前記所定のイベントの発生を判定する、請求項1に記載のゲーム管理システム。
【請求項7】
前記制御装置は、前記遊技テーブル上の前記チップを含む前記画像を分析することで、前記遊技テーブルに最初にチップが置かれたことを前記ベットの開始として認識する、請求項1に記載のゲーム管理システム。
【請求項8】
前記制御装置は、前記遊技テーブル上の前記チップを含む前記画像を分析することで、前記遊技テーブルから最初に前記チップが回収されたことを前記回収の開始として認識する、請求項4に記載のゲーム管理システム。
【請求項9】
前記制御装置は、前記遊技テーブル上の前記チップを含む前記画像を分析することで、前記遊技テーブルにおいて最後に前記チップが支払われたことを前記支払の終了として認識する、請求項1のゲーム管理システム。
【請求項10】
前記制御装置は、前記画像を分析して、ディーラ又はプレイヤの手の動き、チップの動き、又は前記手の動きとチップの動きを検知することによって、前記所定のイベントの発生を判定する、請求項1に記載のゲーム管理システム。
(【請求項11】以降は省略されています)
発明の詳細な説明
【技術分野】
【0001】
本発明は、遊技場でのゲームにおける不正行為、又はチップの賭けや精算をする際のミスや不正行為を検知するシステムに関する。
続きを表示(約 4,500 文字)
【背景技術】
【0002】
カジノなどの遊技場では、様々な不正行為を防止する試みが行われている。遊技場は不正行為を監視するための監視カメラを備え、監視カメラより得た画像からゲームの不正や、勝敗結果と異なるチップの回収や払出による不正を判定するなどして不正の防止をしている。
【0003】
一方で、賭けられたチップの枚数や総額を把握するため各チップに無線IC(RFID)タグを付けてチップの額を把握することが提案されている。
【0004】
国際公開第2015/107902号に記載のカードゲームモニタリングシステムでは、遊技テーブル上に置かれたチップが勝敗結果通り回収あるいは払い出されたか否かを、チップの動きを画像解析することで判定し、不正行為のモニタリングが行われる。
【発明の概要】
【発明が解決しようとする課題】
【0005】
本発明は、遊技場でのゲームを管理する新規なシステムを提供することを目的とする。
【課題を解決するための手段】
【0006】
本発明の一態様は、カジノ施設の複数のテーブルで行われるカジノゲームを管理するゲーム管理システムであって、
ベットされた遊技用代用貨幣を撮影して画像を得るカメラと、
前記画像における前記遊技用代用貨幣の位置に基づいてベット対象を特定し、前記画像における前記遊技用代用貨幣の種類及び枚数に基づいてベット額を特定する情報処理装置と、
前記カジノゲームのゲーム結果を判定するゲーム結果判定装置と、
前記ベット対象、前記ベット額、及び前記ゲーム結果に基づいて、前記複数のテーブルのテーブルごと、かつゲームごとに、カジノ運営者の利益を算出する算出装置と、
前記利益を記録する記録装置と、
を備えた、ゲーム管理システムである。
【図面の簡単な説明】
【0007】
図1は、本発明の第1の実施の形態の複数の遊技テーブルを有する遊技場における不正検知システムの全体の概要を示す図である。
図2Aは、それぞれ本発明の第1の実施の形態において把握されるチップの異なる重ね状態の例を示すチップの斜視図である。
図2Bは、それぞれ本発明の第1の実施の形態において把握されるチップの異なる重ね状態の例を示すチップの斜視図である。
図3Aは、本発明の第1の実施の形態のチップトレイの詳細を示す図である。
図3Bは、本発明の第1の実施の形態のチップトレイの他の例を示す図である。
図4は、本発明の第1の実施の形態において把握されるカードの汚れを説明するマークの拡大図である。
図5Aは、本発明の第1の実施の形態のマーカーの表を表す平面図である。
図5Bは、本発明の第1の実施の形態のマーカーの裏を表す平面図である。
図6は、本発明の第1の実施の形態において把握されるお札とチップの交換状態の映像を簡略化した説明図である。
図7は、本発明の第2の実施の形態のバカラゲームの不正検知システムの全体概要を示す平面図である。
図8は、本発明の第2の実施の形態の不正検知システムにおけるバカラゲームの進行状態の概要を示す平面図である。
図9はバカラゲームにおけるディーラによるカジノ側が勝ったチップの回収の様子を示す説明図である。
図10は、本発明の第2の実施の形態のバカラゲームにおけるディーラによる勝った客(ゲーム参加人)への支払いの様子を示す説明図である。
図11は、本発明の第2の実施の形態のバカラゲームにおける勝った客(ゲーム参加人)によるチップおよび支払いの受け取りの様子を示す説明図である。
図12Aは、本発明の第2の実施の形態の不正検知システムにおけるディーラによるカジノ側が勝ったチップの回収の画像分析の対象となる画像の説明図である。
図12Bは、本発明の第2の実施の形態の不正検知システムにおけるディーラによるカジノ側が勝ったチップの回収の画像分析の対象となる画像の説明図である。
図12Cは、本発明の第2の実施の形態の不正検知システムにおけるディーラによるカジノ側が勝ったチップの回収の画像分析の対象となる画像の説明図である。
図13は、本発明の第2の実施の形態の不正検知システムにおけるチップの不正回収の画像分析の対象となる画像の説明図である。
図14Aは、本発明の第2の実施の形態の不正検知システムにおけるゲーム参加人側が勝ったチップの回収の画像分析の対象となる画像の説明図である。
図14Bは、本発明の第2の実施の形態の不正検知システムにおけるゲーム参加人側が勝ったチップの回収の画像分析の対象となる画像の説明図である。
図14Cは、本発明の第2の実施の形態の不正検知システムにおけるゲーム参加人側が勝ったチップの回収の画像分析の対象となる画像の説明図である。
図14Dは、本発明の第2の実施の形態の不正検知システムにおけるゲーム参加人側が勝ったチップの回収の画像分析の対象となる画像の説明図である。
図15は、本発明の第2の実施の形態におけるカード配布装置の側断面図である。
図16は、本発明の第2の実施の形態のカードの例を示す図である。
図17は、本発明の第2の実施の形態のカード配布装置のカードガイド部を一部破断した状態の要部平面図である。
図18Aは、本発明の第2の実施の形態のカード配布装置のカード収納部からのカードの出入りを制限する配布制限装置を示す要部側断面図である。
図18Bは、本発明の第2の実施の形態のカード配布装置のカード収納部からのカードの出入りを制限する配布制限装置の変形例を示す要部側断面図である。
図19は、本発明の第2の実施の形態のカード配布装置におけるセンサ類の出力波形とマークの関係を示す図である。
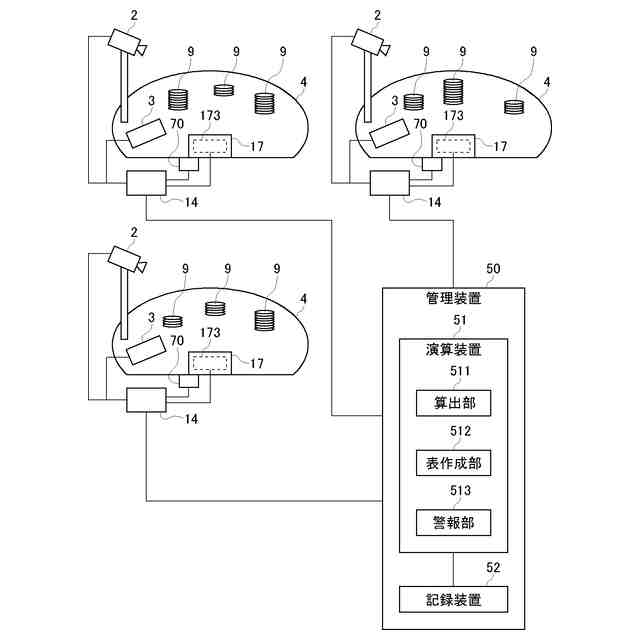
図20は、本発明の第3の実施の形態のゲーム管理システムを導入したカジノ施設の概略図である。
図21は、本発明の第3の実施の形態の遊技テーブルごとの売上(ベット額の総額)を示す表の例である。
図22は、本発明の第3の実施の形態の各遊技テーブルにおけるゲームごとの売上を示す表の例である。
図23は、本発明の第3の実施の形態の遊技テーブルごとの総ベット額、利益(粗利)、及び利益率を示す表の例である。
図24は、本発明の第3の実施の形態の各遊技用テーブルにおける利益の推移を示す折れ線グラフの例である。
図25は、本発明の第3の実施の形態のカジノ施設全体の利益の推移を示すグラフの例である。
図26は、本発明の第3の実施の形態の遊技テーブルごとの利益率を示す棒グラフの例である。
図27は、本発明の第3の実施の形態のリーダライタ及びメンバーズカードを示す図である。
図28は、本発明の第3の実施の形態のメンバーズカードに記憶される情報を示す図である。
図29は、ディーラチップトレイの平面図である。
図30は、ディーラチップトレイの回収フロートの拡大斜視図である。
図31は、ディーラチップトレイの構成を示すブロック図である。
図32は、テーブルゲームの管理のフロー図である。
図33は、4段階の不正検知における各構成要素の役割を示すフロー図である。
図34は、ゲーム開始時のベット情報とゲーム終了時のベット情報との比較結果を示すモニタ画面の例である。
図35は、レイトベッティングが行われた場合のモニタ画面の例である。
図36は、アンベッティングが行われた場合のモニタ画面の例である。
図37は、カジノ遊技場の構成の例を示す図である。
図38は、ゲームごとに生成されるゲームレコードの構成を示す図である。
図39は、全体管理装置の構成を示すブロック図である。
図40は、全体管理装置の売上収支管理部が生成する売上表の例を示す図である。
図41は、全体管理装置の売上収支管理部が生成する粗利表の例を示す図である。
図42は、カジノ遊技場全体の売上が低く抑えられてしまう状況を説明する図である。
図43Aは、カジノ遊技場全体の売上が低く抑えられてしまう状況を説明する図である。
図43Bは、カジノ遊技場全体の売上が低く抑えられてしまう状況を説明する図である。
図44Aは、実際のベット額に応じた最低賭け額の設定の例を示す図である。
図44Bは、実際のベット額に応じた最低賭け額の設定の例を示す図である。
図45Aは、テーブル混雑度に応じた最低賭け額の推奨値の決定の例を示す図である。
図45Bは、テーブル混雑度に応じた最低賭け額の推奨値の決定の例を示す図である。
図46Aは、あるエリアにおいて新たに遊技テーブル4をオープンさせる例を説明する図である。
図46Bは、あるエリアにおいて新たに遊技テーブル4をオープンさせる例を説明する図である。
図46Cは、あるエリアにおいて新たに遊技テーブル4をオープンさせる例を説明する図である。
【発明を実施するための形態】
【0008】
(第1の実施の形態)
カジノなどの遊技場では、チップが嵩高く積み重ねられて遊技テーブルに置かれるが、遊技テーブルの下に設けたICタグの読取り装置では、総額が正確に読み取れないという問題があり、読み取り装置の感度を高くすると、異なる位置(位置により勝敗が左右される)に置かれたチップが、合算されてしまい各位置毎のチップの総額が把握できない、という課題が存在する。また、カメラからの撮像では、カメラの視角により死角ができたり、重なりにより影に入ってチップの総額が把握できないという課題がある。
【0009】
また、バカラゲームにおいてしばしば行われるが、プレーヤによるカードのスクイーズ(裏向きのカードを曲げてカードのランク等を楽しみながら少しずつ見る行為)等によりカードが曲がってしまい、カメラからの画像分析ではカードのランクとスートが判定できない、という課題が存在する。
【0010】
また、さらに遊技テーブルにおける不正が高度化し、その遊技テーブルで単純に勝った額が多い等の検出では発見できない高度な賭け方による不正などは、カメラや勝ち額の追跡では発見できない、という新たな課題も把握されている。また、ディーラとプレーヤの共謀による不正行為も従来技術では防止が十分でない。
(【0011】以降は省略されています)
この特許をJ-PlatPat(特許庁公式サイト)で参照する
関連特許
個人
玩具
1か月前
個人
玩具
4か月前
個人
自走玩具
1か月前
個人
小型卓球台
13日前
個人
ゲーム玩具
5か月前
個人
運動補助具
3か月前
個人
パズル
14日前
個人
打撃練習用具
1か月前
株式会社三共
遊技機
4か月前
株式会社三共
遊技機
7か月前
株式会社三共
遊技機
7か月前
株式会社三共
遊技機
7か月前
株式会社三共
遊技機
7か月前
株式会社三共
遊技機
7か月前
株式会社三共
遊技機
7か月前
株式会社三共
遊技機
7か月前
株式会社三共
遊技機
7か月前
株式会社三共
遊技機
7か月前
株式会社三共
遊技機
7か月前
株式会社三共
遊技機
7か月前
株式会社三共
遊技機
7か月前
株式会社三共
遊技機
7か月前
株式会社三共
遊技機
7か月前
株式会社三共
遊技機
7か月前
株式会社三共
遊技機
7か月前
株式会社三共
遊技機
7か月前
株式会社三共
遊技機
3か月前
株式会社三共
遊技機
3か月前
株式会社三共
遊技機
7か月前
株式会社三共
遊技機
7か月前
株式会社三共
遊技機
7か月前
株式会社三共
遊技機
7か月前
株式会社三共
遊技機
7か月前
株式会社三共
遊技機
7か月前
株式会社三共
遊技機
7か月前
株式会社三共
遊技機
7か月前
続きを見る
他の特許を見る