TOP
|
特許
|
意匠
|
商標
特許ウォッチ
Twitter
他の特許を見る
10個以上の画像は省略されています。
公開番号
2025164183
公報種別
公開特許公報(A)
公開日
2025-10-30
出願番号
2024067996
出願日
2024-04-19
発明の名称
遊技機
出願人
京楽産業.株式会社
代理人
主分類
A63F
7/02 20060101AFI20251023BHJP(スポーツ;ゲーム;娯楽)
要約
【課題】遊技の興趣を向上させる主制御-演出制御手段を備える遊技機を提供すること。
【解決手段】本発明の遊技機では、主制御手段は、高ベース時短状態における図柄の変動回数を計数し当該変動回数が所定条件を満たすと通常状態へ移行可能とし、通常状態の第1特別図柄、高ベース時短状態の第2特別図柄の変動表示に基づき変動開始コマンドが演出制御手段へ送信され、それぞれの変動停止に基づき図柄停止情報が枠制御基板に送信され、演出制御手段は、それぞれの変動開始コマンドに従って、遊技状態に対応する遊技演出を実行するとともに、主制御手段とは別の計数処理を実行可能で、演出制御手段により計数された変動回数を表示可能とされている。
【選択図】図49
特許請求の範囲
【請求項1】
第1始動口への入賞に基づき第1図柄を変動表示するとともに遊技の結果として第1図柄を停止表示する第1図柄表示手段と、第2始動口への入賞に基づき第2図柄を変動表示するとともに遊技の結果として第2図柄を停止表示する第2図柄表示手段と、
第1遊技状態、第2遊技状態、遊技者に有利な特定遊技状態、大当り遊技状態、および、遊技の進行と停止を含む遊技状態の移行を制御する主制御手段と、
前記第1遊技状態、前記第2遊技状態、前記特定遊技状態それぞれに対応する遊技演出を実行可能な遊技演出制御手段と、
遊技可能な遊技球数の減算および加算に関わる処理を行う枠制御手段と、を備え、
前記主制御手段は、
前記特定遊技状態において、前記第2図柄の変動回数を計数する第1計数処理を実行可能で、当該変動回数が所定条件を満たした場合、前記第1遊技状態へ移行可能とし、
前記第1遊技状態において、前記第1図柄の変動表示に基づき第1変動開始コマンドを前記遊技演出制御手段へ送信可能で、前記第1図柄の停止表示に基づき図柄停止情報を前記枠制御手段へ送信可能であり、
前記特定遊技状態において、前記第2図柄の変動表示開始に基づき第2変動開始コマンドを前記遊技制御手段へ送信可能で、前記第2図柄の停止表示に基づき前記図柄停止情報を前記枠制御手段へ送信可能であり、
前記演出制御手段は、
前記第1変動開始コマンドまたは前記第2変動開始コマンドに基づいて、前記主制御手段における計数処理とは独立した計数を行う第2計数処理を実行可能で、前記特定遊技状態に対応する遊技演出において、前記第2計数処理により計数された変動回数を表示可能であることを特徴とする遊技機。
発明の詳細な説明
【技術分野】
【0001】
本発明は、遊技機に関する。
続きを表示(約 6,500 文字)
【背景技術】
【0002】
従来の遊技機には、通常遊技状態と、通常遊技状態よりも始動入賞が容易な時短遊技状態とを備えたものがあり、各遊技状態に応じた遊技演出を行う技術が提案されている(例えば、下記特許文献1参照)。
【先行技術文献】
【特許文献】
【0003】
特開2015-6575号公報
【発明の概要】
【発明が解決しようとする課題】
【0004】
しかしながら、上記特許文献1に記載の遊技機では、時短遊技状態における遊技の興趣という観点において、改善の余地が残されていた。
【0005】
本発明は、上記課題に鑑みて、遊技機の遊技の興趣をより一層高めることができる遊技機の提供を目的とする。
【課題を解決するための手段】
【0006】
上記課題を解決するため、本発明は、第1始動口への入賞に基づき第1図柄を変動表示するとともに遊技の結果として第1図柄を停止表示する第1図柄表示手段と、第2始動口への入賞に基づき第2図柄を変動表示するとともに遊技の結果として第2図柄を停止表示する第2図柄表示手段と、第1遊技状態、第2遊技状態、遊技者に有利な特定遊技状態、大当り遊技状態、および、遊技の進行と停止を含む遊技状態の移行を制御する主制御手段と、前記第1遊技状態、前記第2遊技状態、前記特定遊技状態それぞれに対応する遊技演出を実行可能な遊技演出制御手段と、遊技可能な遊技球数の減算および加算に関わる処理を行う枠制御手段と、を備え、前記主制御手段は、前記特定遊技状態において、前記第2図柄の変動回数を計数する第1計数処理を実行可能で、当該変動回数が所定条件を満たした場合、前記第1遊技状態へ移行可能とし、前記第1遊技状態において、前記第1図柄の変動表示に基づき第1変動開始コマンドを前記遊技演出制御手段へ送信可能で、前記第1図柄の停止表示に基づき図柄停止情報を前記枠制御手段へ送信可能であり、前記特定遊技状態において、前記第2図柄の変動表示開始に基づき第2変動開始コマンドを前記遊技制御手段へ送信可能で、前記第2図柄の停止表示に基づき前記図柄停止情報を前記枠制御手段へ送信可能であり、前記演出制御手段は、前記第1変動開始コマンドまたは前記第2変動開始コマンドに基づいて、前記主制御手段における計数処理とは独立した計数を行う第2計数処理を実行可能で、前記特定遊技状態に対応する遊技演出において、前記第2計数処理により計数された変動回数を表示可能であることを特徴とする。
【発明の効果】
【0007】
本発明よれば、遊技機の遊技の興趣をより一層高めることができる。
【図面の簡単な説明】
【0008】
第1~第6実施形態の遊技機1およびカードユニット9の正面図である。
第1~第6実施形態の遊技機1における第2大入賞口17を拡大した図である。
第1~第6実施形態の遊技機1およびカードユニット9の背面側の斜視図である。
第1~第6実施形態の主制御基板110および枠制御基板160と、それらを覆うカバー110cおよび160cである。
第1~第6実施形態の遊技機1の構成を示すブロック図である。
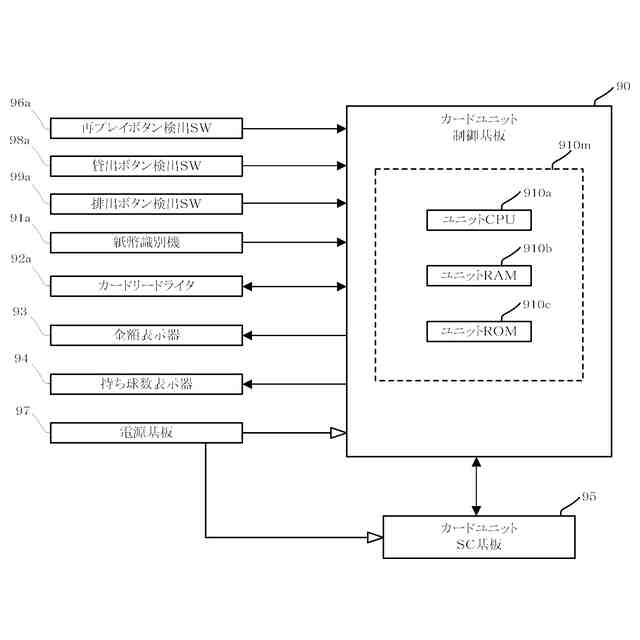
第1~第6実施形態のカードユニット9の構成を示すブロック図である。
第1~第6実施形態のカードユニット9への紙幣200の投入操作、および、カードユニット9における貸出操作を示す図である。
第1~第6実施形態の遊技機1における計数操作を示す図である。
第1~第6実施形態のカードユニット9におけるカード201の排出操作と、挿入操作と、再プレイボタンによる貸出操作とを示す図である。
第1~第6実施形態の遊技機1の遊技状態を示す図である。
第1~第6実施形態の遊技機1の遊技フローを示す図である。
第1~第6実施形態の遊技機1の演出モード、遊技状態、および、背景画像の対応関係を示す図である。
第1~第6実施形態の遊技機1の主制御基板110と枠制御基板160との間のコマンド送信のシーケンスを示す図である。
第1~第6実施形態の枠制御基板160からカードユニット9への遊技機情報通知データの送信のシーケンスを示す図である。
第1~第6実施形態の枠制御基板160からカードユニット9への遊技機情報通知データおよび計数通知データの送信のシーケンスを示す図である。
第1~第6実施形態の枠制御基板160とカードユニット9との間の貸出通知データおよび貸出受領結果応答データの送信のシーケンスを示す図である。
第1~第6実施形態の遊技機1の電源投入操作を示す図である。
第1~第6実施形態の遊技機1の当否判定テーブルである。
第1~第6実施形態の遊技機1の大当たり図柄および小当たり図柄決定テーブルである。
第1~第6実施形態の遊技機1の特殊ハズレ図柄および通常ハズレ図柄決定テーブルである。
第1~第6実施形態の遊技機1の特別遊技終了時設定テーブルである。
第1~第6実施形態の遊技機1の特殊ハズレ図柄停止時設定テーブルである。
第1~第6実施形態の遊技機1の大当たり用および小当たり用特別遊技制御テーブルである。
第1~第6実施形態の遊技機1の大当たり用大入賞口開閉制御テーブルである。
第1~第6実施形態の遊技機1の小当たり用大入賞口開閉制御テーブルおよび小当たり用特定領域開閉制御テーブルである。
第1~第6実施形態の遊技機1の通常状態用の第1特別図柄の変動パターン決定テーブルである。
第1~第6実施形態の遊技機1の低ベース時短状態用の第1特別図柄の変動パターン決定テーブルである。
第1~第6実施形態の遊技機1の高ベース時短状態用の第1特別図柄の変動パターン決定テーブルである。
第1~第6実施形態の遊技機1の第2特別図柄の変動パターン決定テーブルである。
第1~第6実施形態の遊技機1の第1特別図柄の大当たり抽選の事前判定テーブルある。
第1~第6実施形態の遊技機1の第2特別図柄の大当たり抽選の事前判定テーブルである。
第1~第6実施形態の遊技機1の画像表示装置31に表示される画面例を示す図である。
第1~第6実施形態の遊技機1の普通図柄決定テーブルおよび普通図柄の変動パターン決定テーブルである。
第1~第6実施形態の遊技機1の補助遊技制御テーブルおよび補助遊技用可動片開閉制御テーブルである。
第1~第6実施形態の遊技機1のメインRAM110bの記憶領域を示す図である。
第1~第6実施形態の遊技機1の主制御基板110のメイン処理のフローチャートである。
第1~第6実施形態の遊技機1の主制御基板110の初期化処理のフローチャートである。
第1実施形態および第3~第6実施形態の遊技機1の主制御基板110の初期化処理のフローチャートである。
第1~第6実施形態の遊技機1の主制御基板110の遊技機情報通知処理のフローチャートである。
第1~第6実施形態の遊技機1の主制御基板110の電源遮断監視処理のフローチャートである。
第1~第6実施形態の遊技機1の主制御基板110のタイマ割込処理のフローチャートである。
第1~第6実施形態の遊技機1の主制御基板110の入力制御処理のフローチャートである。
第1~第6実施形態の遊技機1の主制御基板110の第1始動口検出SW入力処理のフローチャートである。
第1~第6実施形態の遊技機1の主制御基板110の特定領域検出SW入力処理のフローチャートである。
第1~第6実施形態の遊技機1の主制御基板110の特図特電制御処理のフローチャートである。
第1~第6実施形態の遊技機1の主制御基板110の特別図柄記憶判定処理のフローチャートである。
第1~第6実施形態の遊技機1の主制御基板110の特別図柄記憶判定処理のフローチャートである。
第1~第6実施形態の遊技機1の主制御基板110の大当たり判定処理のフローチャートである。
第1~第6実施形態の遊技機1の主制御基板110の特別図柄変動処理のフローチャートである。
第1~第6実施形態の遊技機1の主制御基板110の特別図柄停止処理のフローチャートである。
第1~第6実施形態の遊技機1の主制御基板110の第1種大当り遊技準備処理のフローチャートである。
第1~第6実施形態の遊技機1の主制御基板110の小当たり遊技準備処理のフローチャートである。
第1~第6実施形態の遊技機1の主制御基板110の遊技状態設定処理のフローチャートである。
第1~第6実施形態の遊技機1の主制御基板110の大当たり遊技処理のフローチャートである。
第1~第6実施形態の遊技機1の主制御基板110の小当たり遊技処理のフローチャートである。
第1~第6実施形態の遊技機1の主制御基板110の第2種大当たり遊技移行処理のフローチャートである。
第1~第6実施形態の遊技機1の主制御基板110の大当たり遊技終了処理のフローチャートである。
第1~第6実施形態の遊技機1の主制御基板110の普図普電制御処理のフローチャートである。
第1~第6実施形態の遊技機1の主制御基板110の普通図柄変動処理のフローチャートである。
第1~第6実施形態の遊技機1の主制御基板110の補助遊技処理のフローチャートである。
第1~第6実施形態の遊技機1のメイン情報表示装置29の各発光部を示す図である。
第1~第6実施形態の遊技機1のメイン情報表示装置29の各発光部の接続状態を示す図である。
第1~第6実施形態の遊技機1の主制御基板110のメイン情報表示装置制御処理のフローチャートである。
第1~第6実施形態の遊技機1の第1特別図柄表示装置20の各発光部の発光態様を示す図である。
第1~第6実施形態の遊技機1の主制御基板110の賞球制御処理のフローチャートである。
第1~第6実施形態の遊技機1の主制御基板110の遊技機情報通知コマンド送信処理のフローチャートである。
第1~第6実施形態の遊技機1の主制御基板110の遊技機情報通知コマンドバッファでのコマンドの格納状態の一例を示す図である。
第1~第6実施形態の遊技機1の遊技球数制御部180のメイン処理のフローチャートである。
第1実施形態および第3~第6実施形態の遊技機1の遊技球数制御部180の初期設定処理のフローチャートである。
第1~第6実施形態の遊技機1の遊技球数制御部180のタイマ割込処理のフローチャートである。
第1~第6実施形態の遊技機1の遊技球数制御部180のタイマ更新処理のフローチャートである。
第1~第6実施形態の遊技機1の遊技球数制御部180のエラー判定処理のフローチャートである。
第1~第6実施形態の遊技機1の遊技球数表示器84および枠制御表示器85のエラー表示を示す図である。
第1~第6実施形態の遊技機1の遊技球数制御部180の応答処理のフローチャートである。
第1~第6実施形態の遊技機1の遊技球数制御部180の遊技機情報通知処理のフローチャートである。
第1~第6実施形態の遊技機1の遊技球数制御部180の遊技機情報通知データ送信処理のフローチャートである。
第1~第6実施形態の遊技機1の遊技球数制御部180の遊技機情報通知データ送信処理のフローチャートである。
第1~第6実施形態の遊技機1の遊技球数制御部180の計数処理のフローチャートである。
第1~第6実施形態の遊技機1の遊技球数制御部180の遊技球数移行条件成立判定処理のフローチャートである。
第1~第6実施形態の遊技機1の遊技球数RAM180bの操作情報記憶領域および操作情報記憶領域の更新例を示す図である。
第1~第6実施形態の遊技機1の遊技球数制御部180の計数通知処理のフローチャートである。
第1~第6実施形態の遊技機1の遊技球数制御部180の貸出制御処理のフローチャートである。
第1~第6実施形態の遊技機1の遊技球数表示器84の発光部を示す図である。
第1~第6実施形態の遊技機1の遊技球数表示器84の発光部の接続状態を示す図である。
第1~第6実施形態の遊技機1の遊技球数表示データ管理テーブル、表示データ記憶領域に記憶されるIDの例、等を示す図である。
第1~第6実施形態の遊技機1の遊技球数制御部180の遊技球数表示器表示制御処理のフローチャートである。
第1~第6実施形態の遊技機1の遊技球数制御部180の遊技球数表示器84の2桁の数字を表示するときの表示態様を示す図である。
第1~第6実施形態の遊技機1の遊技球数制御部180の遊技球数表示器84の4桁の数字を表示するときの表示態様を示す図である。
第1~第6実施形態の遊技機1の遊技球数制御部180の遊技球数表示器84の6桁の数字を表示するときの発光態様を示す図である。
第1および第2実施形態の遊技機1の遊技球数制御部180の遊技報知制御処理のフローチャートである。
第1~第6実施形態の遊技機1の着席中ランプ発光色決定テーブルと、着席中背景色決定テーブルと、離席中ランプ発光色決定テーブルと、離席中背景色決定テーブルと、を示す図である。
第1~第6実施形態の遊技機1の発射制御部170のメイン処理のフローチャートである。
第1~第6実施形態の遊技機1の発射制御部170の発射制御処理のフローチャートである。
第1~第6実施形態のカードユニット制御基板90のメイン処理のフローチャートである。
第1~第6実施形態のカードユニット制御基板90の紙幣入力検知処理のフローチャートである。
第1~第6実施形態のカードユニット制御基板90のカード入力検知処理のフローチャートである。
第1~第6実施形態のカードユニット制御基板90の持ち球数更新処理のフローチャートである。
第1~第6実施形態のカードユニット制御基板90の貸出処理のフローチャートである。
第1~第6実施形態のカードユニット制御基板90の応答確認処理のフローチャートである。
第1~第6実施形態のカードユニット制御基板90のカード排出処理のフローチャートである。
【発明を実施するための形態】
【0009】
<第1実施形態>
以下、本発明の第1実施形態について図面を参照しながら具体的に説明する。
【0010】
(遊技機1の概要)
遊技機1は、周知のぱちんこ遊技機と異なり、島設備の遊技球供給機構や遊技球排出機構を用いることがなく、所定数(例えば、50個)の遊技球を収容し、収容している遊技球を遊技領域に発射することで遊技を行い、遊技を終えた遊技球を回収し、回収した遊技球を再び発射して遊技を行う、封入式の遊技機である。
(【0011】以降は省略されています)
この特許をJ-PlatPat(特許庁公式サイト)で参照する
関連特許
京楽産業.株式会社
遊技機
21日前
個人
玩具
4か月前
個人
玩具
2か月前
個人
自走玩具
2か月前
個人
運動補助具
4か月前
個人
小型卓球台
23日前
個人
ゲーム玩具
6か月前
個人
パズル
24日前
個人
打撃練習用具
1か月前
株式会社三共
遊技機
1か月前
株式会社三共
遊技機
1か月前
株式会社三共
遊技機
1か月前
株式会社三共
遊技機
1か月前
株式会社三共
遊技機
1か月前
株式会社三共
遊技機
1か月前
株式会社三共
遊技機
8か月前
株式会社三共
遊技機
1か月前
株式会社三共
遊技機
1か月前
株式会社三共
遊技機
1か月前
株式会社三共
遊技機
1か月前
株式会社三共
遊技機
1か月前
株式会社三共
遊技機
1か月前
株式会社三共
遊技機
1か月前
株式会社三共
遊技機
4か月前
株式会社三共
遊技機
7か月前
株式会社三共
遊技機
4か月前
株式会社三共
遊技機
7か月前
株式会社三共
遊技機
1か月前
株式会社三共
遊技機
1か月前
株式会社三共
遊技機
1か月前
株式会社三共
遊技機
1か月前
株式会社三共
遊技機
7か月前
株式会社三共
遊技機
7か月前
株式会社三共
遊技機
7か月前
株式会社三共
遊技機
4か月前
株式会社三共
遊技機
4か月前
続きを見る
他の特許を見る