TOP
|
特許
|
意匠
|
商標
特許ウォッチ
Twitter
他の特許を見る
10個以上の画像は省略されています。
公開番号
2025160066
公報種別
公開特許公報(A)
公開日
2025-10-22
出願番号
2024074985
出願日
2024-04-09
発明の名称
遊戯店の景品交換システム
出願人
株式会社イミテック
代理人
主分類
A63F
7/02 20060101AFI20251015BHJP(スポーツ;ゲーム;娯楽)
要約
【課題】パチンコまたはスロットルの遊戯店では、遊戯客が獲得したパチンコ玉またはメタルが景品に交換されるが、当該交換が集中する時間帯や閉店時は多数のお客を並んで待たせるなどが常態であって、この解消手段が求められていた。
上記の解決において、景品の交換が完全なセルフサービスで行える景品交換システムを提供するものであり、また、当該システムによって店舗運営の合理化も図られるようにした。
【解決手段】景品交換カウンターに景品払い出し機その他の機器を設けて、一連の景品交換がお客のセルフサービスで行えるようにして、前記課題を解決している。
【選択図】図1
特許請求の範囲
【請求項1】
遊戯店における景品の交換がセルフサービスで行えるようにしたものであって、
お客が、パチンコ玉やスロットルメタルの種類と数が記録されている磁気カードまたはコードが印字されているレシートを、読み取り機で読み取るステップと、
案内表示機に、特殊景品または一般景品の選択画面が表示されるステップと、
お客が、特殊景品を選択するステップと、
案内表示機に、特殊景品の種類と数が表示されるステップと、
お客が、交換を承認するステップと、
特殊景品払い出し機から特殊景品が払い出されるとともに、一般景品払い出し機において交換可能な一般景品が表示されるステップと、
お客が一般景品を選択するステップと、
一般景品払い出し機から、一般景品が払い出されるステップとを備えたことを特徴とする遊戯店の景品交換システム。
続きを表示(約 1,200 文字)
【請求項2】
遊戯店における景品の交換がセルフサービスでおこなえるようにしたものであって、
お客が、パチンコ玉やスロットルメタルの種類と数が記録されている磁気カードまたはコードが印字されているレシートを、読み取り機で読み取るステップと、
案内表示機に、特殊景品または一般景品の選択画面が表示されるステップと、
お客が、一般景品を選択するステップと、
一般景品払い出し機において交換可能な一般景品が表示されるとともに、前記案内表示機に各種一般景品の種類と数が表示されるステップと、
お客が、前記一般払い出し機から交換景品を選択するステップと、
前記一般景品払い出し機から一般景品が払い出されるステップとを備え、
また、前記案内表示機に表示されている各種一般景品うち、交換する景品を選択するステップと、
前記選択した一般景品の名称または番号と数が記入された景品交換カードが発行されるステップと、
前記景品交換カードを、対応する一般景品と交換するステップとを備えたことを特徴とする遊戯店の景品交換システム。
【請求項3】
遊戯店における景品の交換がセルフサービスで行えるようにしたものであって、
遊戯店の景品交換部において、
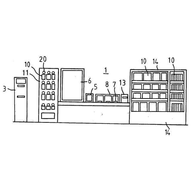
パチンコ玉またはスロットルメタルの種類と数が記録されている磁気カードまたはコードが印字されているレシートの読み取り機と、
前記景品交換情報を表示する案内表示機と、
特殊景品払い出し機と、
一般景品を陳列収納するとともに、払い出し可能な一般景品の選択機能を備えた一般景品払い出し機と、
一般景品と交換する交換カードの発行機と、
前記各機器を制御するコンピューターと、
インターネット回線を介して前記コンピューターと接続されている管理部のコンピューターと、
前記管理部のコンピューターに配置されているモニター機とで構成したことを特徴とする遊戯店の景品交換システム。
【請求項4】
前記各機器は、壁付けおよび床置きを含む設置手段で壁際に設置したことを特徴とする前記請求項3に記載の遊戯店の景品交換システム。
【請求項5】
前記遊戯店は少なくとも2店以上であって、
前記各々の遊戯店の前記コンピューターは、インターネット回線を介して前記管理部のコンピューターに統括的に接続され、
前記管理部のコンピューターは、前記各々の遊戯店と相対してモニター機が配置されて、
前記管理部の管理者と、お客が双方向でアクセスして景品交換の案内が行われるようにしたことを特徴とする前記請求項3に記載の遊戯店の景品交換システム。
【請求項6】
前記案内表示機はタッチパネルで構成されており、該タッチパネルのタッチ操作によって景品の選択が行われるようにしたことを特徴とする前記請求項1乃至請求項3に記載の遊戯店の景品交換システム。
発明の詳細な説明
【技術分野】
【0001】
この発明は、パチンコやスロットルの遊戯店において、遊戯客が獲得したパチンコ玉またはスロットルメタルを景品に交換する景品交換システムに関する。
続きを表示(約 2,200 文字)
【背景技術】
【0002】
パチンコ店またはスロットル店では、遊戯客が獲得したパチンコ玉またはスロットルメタルは、その種別および数が磁気的に記録された会員カードや交換カード、または、QRコード等のコードが印字されたレシートを景品交換カウンターに持参して各種景品に交換される。
当該景品は、特殊景品と一般景品があり、特殊景品は遊戯店とは別の換金所で現金に交換でき、また、特殊景品の払い出しにおいて生じる端数は少額のケースが多いので、一般景品のうち特にチョコレートやガムなどの端玉景品として交換されている。
【0003】
また、上記一般景品は各種の景品が陳列されているが、これらの交換にあたり専用の人員が交換カウンターに配置されていて交換サービスが行われている。
前記のように景品交換は手間のかかるものであるので、混雑時や特に閉店時等はお客を並んで待たせるような不便をかけることになる。
また、その一方で当該業界は競争が激しく景品交換サービスの合理化が求められている。
【先考技術文献】
【】
【特許文献】
【0004】
特開2024-8755
【発明の概要】
【】
【発明が解決する課題】
【0005】
前述に鑑みて、景品の交換サービスがセルフサービスで行えるようにして合理化を図った特許文献1がある。
当該文献は、景品交換カウンターに設置したモニター画面の案内によって、お客がセルフサービス方式で景品の交換が行えるようにしている。
上記の手順は、お客が、持参したカードもしくはレシートを読み取り機で読み取り、次いで、該読み取り情報と対応する特殊景品を払い出す一方、端数の端玉景品をお客が選択して収得するようにしている。
また、複数の店舗をインターネット回線を経由して統括部に接続して、該統括部でお客にリモートアクセスして景品品交換の手順およびその他のサービスが提供できるようにもしている。
【0006】
而して、上記特許文献では、お客が端玉景品を選択および取得するにあたり、数が多いまたは少ない等の誤認や不正取得の問題があった。
また、従来の交換サービスに比較して、人員の省力化が図られたものでもあるが、一方で、一般景品の交換においては従前と同様であって合理化されていなかった。
【課題を解決するための手段】
【0007】
この発明の遊戯店の景品交換システムは、遊戯店における景品の交換がセルフサービスで行えるようにしたものであって、お客が、パチンコ玉やスロットルメタルの種類と数が記録されている磁気カードまたはコードが印字されているレシートを、読み取り機で読み取るステップと、案内表示機に、特殊景品または一般景品の選択画面が表示されるステップと、お客が、特殊景品を選択するステップと、案内表示機に、特殊景品の種類と数が表示されるステップと、お客が、交換を承認するステップと、特殊景品払い出し機から特殊景品が払い出されるとともに、一般景品払い出し機において交換可能な一般景品が表示されるステップと、
お客が一般景品を選択するステップと、一般景品払い出し機から、一般景品が払い出されるステップとを備えるようにした。
【0008】
また、遊戯店における景品の交換がセルフサービスでおこなえるようにしたものであって、お客が、パチンコ玉やスロットルメタルの種類と数が記録されている磁気カード、またはコードが印字されているレシートを、読み取り機で読み取るステップと、案内表示機に、特殊景品または一般景品の選択画面が表示されるステップと、お客が、一般景品を選択するステップと、一般景品払い出し機において交換可能な一般景品が表示されるとともに、前記案内表示機に各種一般景品の種類と数が表示されるステップと、お客が、前記一般払い出し機から交換景品を選択するステップと、前記一般景品払い出し機から一般景品が払い出されるステップとを備え、また、前記案内表示機に表示されている各種一般景品うち、交換する景品を選択するステップと、前記選択した一般景品の名称または番号と数が記入された景品交換カードが発行されるステップと、前記景品交換カードを、対応する一般景品と交換するステップとを備えるようにした。
【0009】
また、遊戯店における景品の交換がセルフサービスで行えるようにしたものであって、遊戯店の景品交換部において、パチンコ玉またはスロットルメタルの種類と数が記録されている磁気カードまたはコードが印字されているレシートの読み取り機と、前記景品交換情報を表示する案内表示機と、特殊景品払い出し機と、一般景品を陳列収納するとともに、払い出し可能な一般景品の選択機能を備えた一般景品払い出し機と、一般景品と交換する交換カードの発行機と、前記各機器を制御するコンピューターと、インターネット回線を介して前記コンピューターと接続されている管理部のコンピューターと、前記管理部のコンピューターに配置されているモニター機とで構成されるようにした。
【0010】
また、前記各機器は、壁付けおよび床置きを含む設置手段で壁際に設置するようにした。
(【0011】以降は省略されています)
この特許をJ-PlatPat(特許庁公式サイト)で参照する
関連特許
個人
玩具
1か月前
個人
玩具
4か月前
個人
自走玩具
1か月前
個人
小型卓球台
1日前
個人
運動補助具
3か月前
個人
ゲーム玩具
5か月前
個人
打撃練習用具
20日前
個人
パズル
2日前
株式会社三共
遊技機
2か月前
株式会社三共
遊技機
2か月前
株式会社三共
遊技機
2か月前
株式会社三共
遊技機
2か月前
株式会社三共
遊技機
2か月前
株式会社三共
遊技機
2か月前
株式会社三共
遊技機
2か月前
株式会社三共
遊技機
2か月前
株式会社三共
遊技機
2か月前
株式会社三共
遊技機
2か月前
株式会社三共
遊技機
2か月前
株式会社三共
遊技機
2か月前
株式会社三共
遊技機
2か月前
株式会社三共
遊技機
2か月前
株式会社三共
遊技機
2か月前
株式会社三共
遊技機
1か月前
株式会社三共
遊技機
2か月前
株式会社三共
遊技機
2か月前
株式会社三共
遊技機
2か月前
株式会社三共
遊技機
2か月前
株式会社三共
遊技機
2か月前
株式会社三共
遊技機
2か月前
株式会社三共
遊技機
2か月前
株式会社三共
遊技機
2か月前
株式会社三共
遊技機
2か月前
株式会社三共
遊技機
2か月前
株式会社三共
遊技機
2か月前
株式会社三共
遊技機
2か月前
続きを見る
他の特許を見る