TOP
|
特許
|
意匠
|
商標
特許ウォッチ
Twitter
他の特許を見る
10個以上の画像は省略されています。
公開番号
2025156440
公報種別
公開特許公報(A)
公開日
2025-10-14
出願番号
2025127824,2021084150
出願日
2025-07-31,2021-05-18
発明の名称
コンピュータシステム、エンターテインメントシステムおよびプログラム
出願人
株式会社バンダイナムコエンターテインメント
代理人
個人
,
個人
,
個人
主分類
A63F
13/69 20140101AFI20251002BHJP(スポーツ;ゲーム;娯楽)
要約
【課題】エンターテインメントコンテンツの進行に応じて付与される遊戯要素に係る新たな興趣を実現する技術を提供すること。
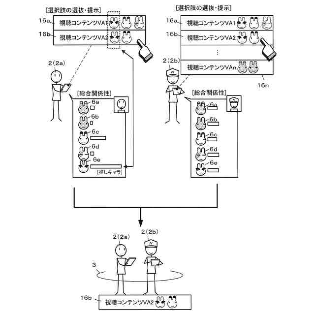
【解決手段】エンターテインメントシステムは、サーバシステム1100とユーザ端末1500とを含み、複数の進行パートを含むコンテンツの進行を制御するコンピュータシステムである。サーバシステム1100が、進行パートの1つとして遊戯パートを制御し、遊戯パートにおいて遊戯要素8をユーザに付与する制御を行う。ユーザ端末1500は、進行パートの1つとして視聴パートを制御する。視聴パートでは、登場キャラクタ6が登場する視聴コンテンツがユーザに提供される。その際、ユーザ端末1500は、遊戯パートのプレイに係る遊戯要素8の獲得状況に基づいて、視聴パートの視聴コンテンツの内容を可変に制御する。
【選択図】図10
特許請求の範囲
【請求項1】
複数の進行パートを含むコンテンツの進行を制御するコンピュータシステムであって、
前記進行パートの1つとしてユーザが遊戯要素を獲得可能な遊戯パートを制御する遊戯パート制御手段と、
前記進行パートの1つとして登場キャラクタが登場する視聴コンテンツを前記ユーザに視聴させる視聴パートを制御する視聴パート制御手段であって、前記遊戯要素の獲得状況に基づいて前記視聴パートを可変に制御する視聴パート制御手段と、
を備えるコンピュータシステム。
続きを表示(約 1,500 文字)
【請求項2】
前記視聴パート制御手段は、前記遊戯要素の獲得状況に基づいて、前記視聴コンテンツを可変に制御する視聴コンテンツ可変制御手段、を有する、
請求項1に記載のコンピュータシステム。
【請求項3】
前記視聴パート制御手段は、前記遊戯要素の獲得状況に基づいて、前記登場キャラクタの表示態様、行動、パラメータ値、及び所持アイテムのうちの何れかを可変に制御する登場キャラクタ制御変更手段、を有する、
請求項1又は2に記載のコンピュータシステム。
【請求項4】
前記遊戯要素は、前記視聴コンテンツに登場する可能性のあるキャラクタと対応付けられており、
前記登場キャラクタ制御変更手段は、前記ユーザが獲得済の前記遊戯要素を、対応付けられたキャラクタ別に分けたキャラクタ別の獲得状況に基づいて、前記登場キャラクタの制御を行う、
請求項3に記載のコンピュータシステム。
【請求項5】
前記視聴パート制御手段は、
前記ユーザによる前記視聴コンテンツに対するアクション操作を受け付けて、前記視聴コンテンツに対する当該アクション操作に応じたインタラクティブ処理を行うインタラクティブ処理手段と、
前記遊戯要素の獲得状況に基づいて、実行可能な前記インタラクティブ処理の内容を可変に制御するインタラクティブ処理内容可変制御手段と、
を有する、
請求項1~4の何れか一項に記載のコンピュータシステム。
【請求項6】
前記インタラクティブ処理手段は、前記登場キャラクタを指示対象とした前記アクション操作を受け付けた場合に、当該指示対象とされた登場キャラクタの表示態様、行動、パラメータ値、及び所持アイテムのうちの何れかに変化を加えることで前記インタラクティブ処理を行う、
請求項5に記載のコンピュータシステム。
【請求項7】
前記遊戯要素は、キャラクタと対応付けられており、
前記インタラクティブ処理内容可変制御手段は、前記ユーザが獲得済の前記遊戯要素のうち、前記アクション操作の指示対象とされた登場キャラクタと同一のキャラクタに対応付けられた遊戯要素の獲得状況に基づいて、実行可能な前記インタラクティブ処理の内容を可変に制御する、
請求項6に記載のコンピュータシステム。
【請求項8】
前記遊戯要素は、稀少度が対応付けられており、
前記インタラクティブ処理内容可変制御手段は、前記同一のキャラクタに対応付けられた遊戯要素の稀少度別の獲得状況に基づいて、実行可能な前記インタラクティブ処理の内容を可変に制御する、
請求項7に記載のコンピュータシステム。
【請求項9】
前記遊戯要素は、キャラクタと対応付けられており、
前記インタラクティブ処理内容可変制御手段は、前記ユーザが獲得済の前記遊戯要素を、対応付けられたキャラクタ別に分けたキャラクタ別の獲得状況に基づいて、実行可能な前記インタラクティブ処理の内容を可変に制御する、
請求項5又は6に記載のコンピュータシステム。
【請求項10】
前記遊戯要素は、属性が対応付けられており、
前記インタラクティブ処理内容可変制御手段は、前記ユーザが獲得済の前記遊戯要素を、対応付けられた属性別に分けた属性別の獲得状況に基づいて、実行可能な前記インタラクティブ処理の内容を可変に制御する、
請求項5又は6に記載のコンピュータシステム。
(【請求項11】以降は省略されています)
発明の詳細な説明
【技術分野】
【0001】
本発明は、複数の進行パートを含むコンテンツの進行を制御するコンピュータシステム等に関する。
続きを表示(約 1,800 文字)
【背景技術】
【0002】
エンターテインメントコンテンツの代表例であるビデオゲームのコンテンツには、プレイ結果に応じて各種の遊戯要素が付与されるものがある。遊戯要素としては、アイテムや、ゲーム内通貨、プレーヤキャラクタへのスキル付与などの能力向上、新しいコンテンツのプレイ権(例えば、新たなゲームステージのプレイ権)、抽選権、などが挙げられる。ビデオゲームに関わらず、インタラクティブな操作が可能なコンテンツなど、その他のエンターテインメントコンテンツにおいても同様である。遊戯要素の獲得、特にアイテム類の獲得は、そのエンターテインメントコンテンツの重要な興趣の1つとされるため、従来から様々な工夫がこらされてきた。
【0003】
例えば、特許文献1には、新たに獲得したアイテムと、獲得済のアイテムとを比較して、新たに獲得したアイテムが不要と判断される場合に、当該新たに獲得したアイテムを、遊戯ポイント(例えば、キャラクタの合成や、希望するアイテムを入手するための対価として消費されるポイント)に自動変換する技術が開示されている。
【先行技術文献】
【特許文献】
【0004】
特開2014-133145号公報
【発明の概要】
【発明が解決しようとする課題】
【0005】
エンターテインメントコンテンツでは、ジャンルに係わらず、遊戯要素に係る新たな興趣の創造は常に求められている。
【0006】
本発明が解決しようとする課題は、エンターテインメントコンテンツの進行に応じて付与される遊戯要素に係る新たな興趣を実現する技術を提供すること、である。
【課題を解決するための手段】
【0007】
上記した課題を解決するための第1の発明は、複数の進行パートを含むコンテンツの進行を制御するコンピュータシステムであって、前記進行パートの1つとしてユーザが遊戯要素を獲得可能な遊戯パートを制御する遊戯パート制御手段(例えば、図1のサーバシステム1100、図15のサーバ処理部200s、遊戯パート制御部212、図24の遊戯パート管理データ703、図28のステップS8)と、
前記進行パートの1つとして登場キャラクタが登場する視聴コンテンツを前記ユーザに視聴させる視聴パートを制御する視聴パート制御手段であって、前記遊戯要素の獲得状況に基づいて前記視聴パートを制御する視聴パート制御手段(例えば、図1のサーバシステム1100、図15の視聴パート制御部220、図30のステップS120、図1のユーザ端末1500、図25の視聴パート制御部263、図27の視聴パート管理データ800、図32のステップS126、図33のステップS190~ステップS198、ステップS222)と、を備えるコンピュータシステムである。
【0008】
第1の発明によれば、コンピュータシステムは、遊戯パートで遊戯要素をユーザに付与する。そして、遊戯要素の獲得状況に応じて視聴パートを制御する。つまり、ユーザにとってみれば、遊戯パートで遊戯要素の獲得に頑張れば、その分、視聴パートで様々な変化を体験できることになる。よって、エンターテインメントコンテンツの進行に応じて付与される遊戯要素に係る新たな興趣を実現できる。
【0009】
また、ユーザに遊戯要素の意欲を向上させることにもなり、遊戯パートをプレイする上でのユーザ体験の質も向上できる。エンターテインメントコンテンツの魅力を総合的に高めることとなる。
【0010】
第2の発明は、前記視聴パート制御手段が、前記遊戯要素の獲得状況に基づいて、前記視聴コンテンツを制御する視聴コンテンツ可変制御手段(例えば、図1のサーバシステム1100、図15の視聴コンテンツ可変制御部221s、図30のステップS102~ステップS108、ステップS120、図1のユーザ端末1500、図25の視聴コンテンツ可変制御部221t、図27の視聴パート管理データ800、図32のステップS126、図33のステップS190~ステップS200、ステップS222)、を有する、第1の発明のコンピュータシステムである。
(【0011】以降は省略されています)
特許ウォッチbot のツイートを見る
この特許をJ-PlatPat(特許庁公式サイト)で参照する
関連特許
個人
玩具
2か月前
個人
玩具
4か月前
個人
自走玩具
2か月前
個人
運動補助具
4か月前
個人
ゲーム玩具
6か月前
個人
小型卓球台
24日前
個人
打撃練習用具
1か月前
個人
パズル
25日前
株式会社三共
遊技機
1か月前
株式会社三共
遊技機
1か月前
株式会社高尾
遊技機
6か月前
株式会社三共
遊技機
1か月前
株式会社三共
遊技機
1か月前
株式会社三共
遊技機
1か月前
株式会社三共
遊技機
1か月前
株式会社三共
遊技機
1か月前
株式会社三共
遊技機
1か月前
株式会社三共
遊技機
1か月前
株式会社三共
遊技機
1か月前
株式会社三共
遊技機
1か月前
株式会社三共
遊技機
1か月前
株式会社三共
遊技機
1か月前
株式会社三共
遊技機
1か月前
株式会社三共
遊技機
7か月前
株式会社三共
遊技機
1か月前
株式会社三共
遊技機
1か月前
株式会社三共
遊技機
1か月前
株式会社三共
遊技機
1か月前
株式会社三共
遊技機
1か月前
株式会社三共
遊技機
1か月前
株式会社三共
遊技機
1か月前
株式会社三共
遊技機
1か月前
株式会社三共
遊技機
1か月前
株式会社三共
遊技機
1か月前
株式会社三共
遊技機
1か月前
株式会社三共
遊技機
1か月前
続きを見る
他の特許を見る