TOP
|
特許
|
意匠
|
商標
特許ウォッチ
Twitter
他の特許を見る
10個以上の画像は省略されています。
公開番号
2025148545
公報種別
公開特許公報(A)
公開日
2025-10-07
出願番号
2025120249,2024108785
出願日
2025-07-17,2016-09-15
発明の名称
遊技機
出願人
株式会社三洋物産
代理人
個人
主分類
A63F
7/02 20060101AFI20250930BHJP(スポーツ;ゲーム;娯楽)
要約
【課題】遊技への注目度を向上させることが可能な遊技機を提供する。
【解決手段】遊技領域PEに設けられた作動口33,34に遊技球が入賞したことに基づいて役物装置150の開閉制御が行われる開閉実行モードへ移行するか否かの当否抽選が実行され、その結果に対応する報知が図柄表示装置41による図柄の停止結果によって行われる。役物装置150へ入球した遊技球は、周期的に動作する振分手段としての第1振分部材や第2振分部材によって振り分けられて、V入賞口に入賞する場合がある。V入賞口に入賞すると、開閉実行モード後の当否抽選モードが高確率モードに設定される。本パチンコ機は、メイン表示部43にて上記当否抽選に基づく変動表示が行われるとともに、図柄表示装置41にて当否抽選と振分手段の動作状況とに基づく変動表示が行われる。
【選択図】 図4
特許請求の範囲
【請求項1】
遊技領域に設けられ、遊技球が入球可能な入球手段と、
前記入球手段に遊技球が入球した場合、特別情報を取得する情報取得手段と、
前記情報取得手段により取得された前記特別情報を、予め定められた所定数を上限として記憶する情報記憶手段と、
前記情報記憶手段に記憶された前記特別情報に基づいて、遊技状態を通常状態から特定状態へ移行させることの移行判定を実行する移行判定手段と、
前記移行判定手段による移行判定の結果が前記特定状態へ移行させることに対応する移行対応結果であったことに基づいて、遊技状態を前記特定状態へ移行させる遊技状態移行手段と、
を備え、
前記特定状態にて移行可能な状態として、遊技者にとって有利な特別状態を有し、
前記情報記憶手段に記憶されている特別情報の数が第1数である場合と、当該第1数とは異なる第2数である場合とで、前記特別状態へ移行する可能性が異なり得る構成であって、前記情報記憶手段に記憶されている特別情報の数を増加させることによりその可能性が変化し得る構成であり、
前記特別状態への期待度に応じた態様にて特定報知を実行可能な特定報知手段と、
前記特定報知手段により開始された所定の特別情報についての特定報知の態様を期待度が異なる態様に変更することが可能な手段と、
前記特定報知の態様が期待度が異なる態様に変更されることに対応する報知を実行することが可能な手段と、
を備え、
前記特別情報の数が変化する場合、当該変化の契機となった特別情報とは異なる特別情報についての特定報知の態様を期待度が異なる態様に変更することが可能に構成されており、
前記特定報知は、前記特別状態への期待度が低くなる態様に変更されないように構成されていることを特徴とする遊技機。
発明の詳細な説明
【技術分野】
【0001】
本発明は遊技機に関するものである。
続きを表示(約 4,500 文字)
【背景技術】
【0002】
パチンコ機等の遊技機は、遊技領域を流下する遊技球の挙動に変化を与える各種部材が備えられている。一例として、開閉可能な可変入球装置が挙げられる(例えば特許文献1参照)。
【先行技術文献】
【特許文献】
【0003】
特開2003-325811号公報
【発明の概要】
【発明が解決しようとする課題】
【0004】
ここで、遊技機においては遊技への注目度を高める工夫が望まれている。
【0005】
本発明は、上記例示した事情等に鑑みてなされたものであり、遊技への注目度を向上させることが可能な遊技機を提供することを目的とするものである。
【課題を解決するための手段】
【0006】
本発明は、
遊技領域に設けられ、遊技球が入球可能な入球手段と、
前記入球手段に遊技球が入球した場合、特別情報を取得する情報取得手段と、
前記情報取得手段により取得された前記特別情報を、予め定められた所定数を上限として記憶する情報記憶手段と、
前記情報記憶手段に記憶された前記特別情報に基づいて、遊技状態を通常状態から特定状態へ移行させることの移行判定を実行する移行判定手段と、
前記移行判定手段による移行判定の結果が前記特定状態へ移行させることに対応する移行対応結果であったことに基づいて、遊技状態を前記特定状態へ移行させる遊技状態移行手段と、
を備え、
前記特定状態にて移行可能な状態として、遊技者にとって有利な特別状態を有し、
前記情報記憶手段に記憶されている特別情報の数が第1数である場合と、当該第1数とは異なる第2数である場合とで、前記特別状態へ移行する可能性が異なり得る構成であって、前記情報記憶手段に記憶されている特別情報の数を増加させることによりその可能性が変化し得る構成であり、
前記特別状態への期待度に応じた態様にて特定報知を実行可能な特定報知手段と、
前記特定報知手段により開始された所定の特別情報についての特定報知の態様を期待度が異なる態様に変更することが可能な手段と、
前記特定報知の態様が期待度が異なる態様に変更されることに対応する報知を実行することが可能な手段と、
を備え、
前記特別情報の数が変化する場合、当該変化の契機となった特別情報とは異なる特別情報についての特定報知の態様を期待度が異なる態様に変更することが可能に構成されており、
前記特定報知は、前記特別状態への期待度が低くなる態様に変更されないように構成されていることを特徴とする。
【発明の効果】
【0007】
本発明によれば、遊技への注目度を向上させることができる。
【図面の簡単な説明】
【0008】
第1の実施形態におけるパチンコ機を示す正面図である。
パチンコ機の主要な構成を展開して示す斜視図である。
パチンコ機の主要な構成を展開して示す斜視図である。
遊技盤の構成を示す正面図である。
(a)は役物装置の構成を示す斜視図であり、(b)は役物装置に設けられた通路の構成を簡略に示す平面図である。
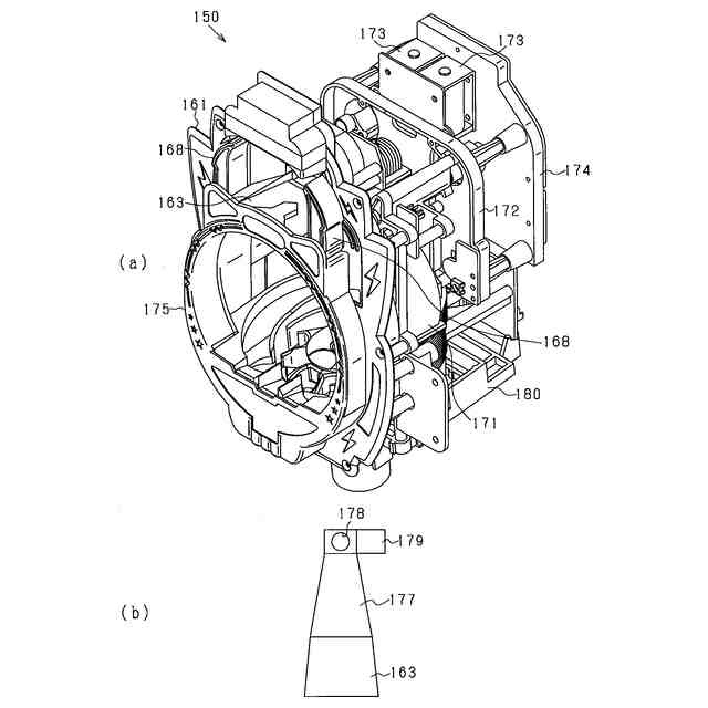
役物装置を分解して示す斜視図である。
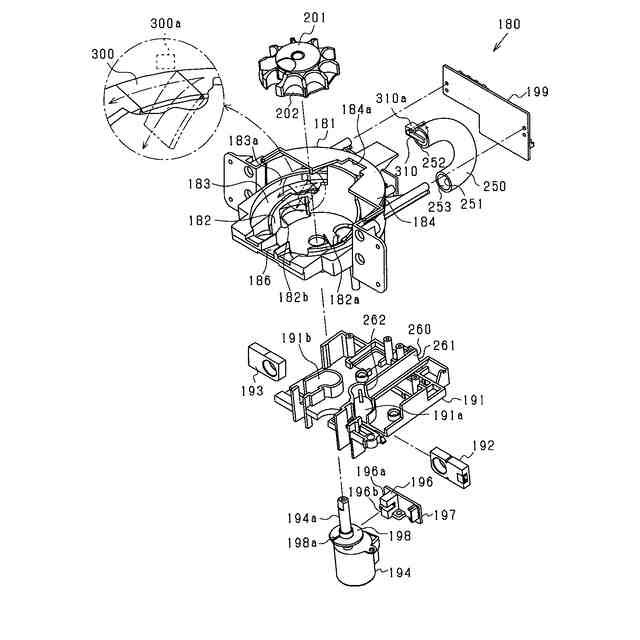
役物装置を構成する回転体ユニットを分解して示す斜視図である。
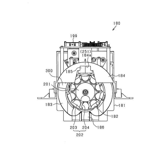
回転体ユニットを示す平面図である。
パチンコ機の電気的構成を示すブロック図である。
図柄表示装置の表示画面における表示内容を説明するための概略図である。
図柄表示装置の表示画面における表示内容を説明するための概略図である。
当否抽選などに用いられる各種カウンタの内容を説明するための説明図である。
当否テーブルを説明するための説明図である。
振分テーブルを説明するための説明図である。
主制御装置のMPUにて実行されるタイマ割込み処理を示すフローチャートである。
作動口用の入賞処理を示すフローチャートである。
情報取得処理を示すフローチャートである。
主制御装置のMPUにて実行される通常処理を示すフローチャートである。
遊技回制御処理を示すフローチャートである。
データ設定処理を示すフローチャートである。
変動開始処理を示すフローチャートである。
変動表示時間の設定処理を示すフローチャートである。
遊技状態移行処理を示すフローチャートである。
開閉処理を示すフローチャートである。
(a)は高確率モードへの移行用処理を示すフローチャートであり、(b)は開閉実行モード終了時の移行処理を示すフローチャートである。
主制御装置のMPUにて実行される第1役物制御用処理を示すフローチャートである。
主制御装置のMPUにて実行される第2役物制御用処理を示すフローチャートである。
第1振分部材及び第2振分部材の動作周期を説明するための説明図である。
演出制御装置及び表示制御装置の電気的構成を示すブロック図である。
保留用記憶エリアを示すブロック図である。
演出制御装置のMPUにて実行される各種演出用処理を示すフローチャートである。
変動表示制御処理を示すフローチャートである。
変動開始用処理を示すフローチャートである。
変動表示時間テーブルを説明するための説明図である。
大当たり用の図柄決定処理を示すフローチャートである。
第1振分部材用処理を示すフローチャートである。
第2振分部材用処理を示すフローチャートである。
開閉実行モードにおける役物装置の開閉態様を説明するための説明図である。
変動表示時間が60secである場合の入賞可能タイミングを説明するための説明図である。
変動表示時間が30secである場合の入賞可能タイミングを説明するための説明図である。
第2の実施形態における、第1役物制御用処理を示すフローチャートである。
第3の実施形態における、主制御装置のMPUにて実行される回転体制御用処理を示すフローチャートである。
第1振分部材用処理を示すフローチャートである。
第4の実施形態における、保留予告の概要を説明するための説明図である。
保留用の確認処理を示すフローチャートである。
保留コマンドの設定処理を示すフローチャートである。
保留制御用処理を示すフローチャートである。
保留情報把握処理を示すフローチャートである。
対応用シフト処理を示すフローチャートである。
保留予告用処理を示すフローチャートである。
図柄決定処理を示すフローチャートである。
第1振分部材用処理を示すフローチャートである。
第2振分部材用処理を示すフローチャートである。
図柄予告用処理を示すフローチャートである。
第5の実施形態における、振分テーブルを説明するための説明図である。
開閉処理を示すフローチャートである。
開閉実行モード用処理を示すフローチャートである。
図柄修正処理を示すフローチャートである。
第1振分部材用処理を示すフローチャートである。
第2振分部材用処理を示すフローチャートである。
第6の実施形態において、(a)はオープニング演出設定処理を示すフローチャートであり、(b)は開閉実行モード用処理の一部を示すフローチャートであり、(c)~(e)は開閉実行モード中の表示態様の一例を説明するための説明図である。
第7の実施形態における、変動表示時間の設定処理を示すフローチャートである。
大当たり用の変動表示時間の設定処理を示すフローチャートである。
(a)は第1振分部材用処理を示すフローチャートであり、(b)は第2振分部材用処理を示すフローチャートであり、(c)は各振分部材の動作タイミングと開閉実行モードの開閉タイミングとの関係を説明するためのタイミングチャートである。
第7の実施形態の変形例における、オープニング期間の設定処理を示すフローチャートである。
第8の実施形態における、遊技盤の構成を示す正面図である。
(a)は可変入賞装置の側面側から見た縦断面図であり、(b)は可変入賞装置の背面側から見た縦断面図である。
開閉処理を示すフローチャートである。
第9の実施形態における、変動表示時間テーブルを説明するための説明図である。
保留コマンドの設定処理を示すフローチャートである。
保留制御用処理を示すフローチャートである。
保留情報把握処理を示すフローチャートである。
図柄予告用処理を示すフローチャートである。
昇格報知の概要を説明するための説明図である。
降格報知の概要を説明するための説明図である。
保留数の変化によりV入賞率が変化する様子を説明するためのタイミングチャートである。
保留数の変化によりV入賞率が変化する様子を説明するためのタイミングチャートである。
第10の実施形態における、開閉処理を示すフローチャートである。
上限入賞個数の入賞によりV入賞率が変化する様子を説明するためのタイミングチャートである。
上限入賞個数の入賞によりV入賞率が変化する様子を説明するためのタイミングチャートである。
第11の実施形態における、変動開始処理を示すフローチャートである。
(a)はV可能判定処理を示すフローチャートであり、(b)は高確率モードへの移行用処理を示すフローチャートである。
【発明を実施するための形態】
【0009】
<第1の実施形態>
以下、遊技機の一種であるパチンコ遊技機(以下、「パチンコ機」という)の第1実施形態を、図面に基づいて説明する。図1はパチンコ機10の正面図、図2及び図3はパチンコ機10の主要な構成を展開して示す斜視図である。なお、図2では便宜上パチンコ機10の遊技領域内の構成を省略している。
【0010】
パチンコ機10は、当該パチンコ機10の外殻を形成する外枠11と、この外枠11に対して前方に回動可能に取り付けられた遊技機本体12とを有する。遊技機本体12は、内枠13と、その内枠13の前方に配置される前扉枠14と、内枠13の後方に配置される裏パックユニット15とを備えている。
(【0011】以降は省略されています)
この特許をJ-PlatPat(特許庁公式サイト)で参照する
関連特許
株式会社三洋物産
遊技機
13日前
株式会社三洋物産
遊技機
13日前
株式会社三洋物産
遊技機
16日前
株式会社三洋物産
遊技機
16日前
株式会社三洋物産
遊技機
16日前
株式会社三洋物産
遊技機
16日前
株式会社三洋物産
遊技機
16日前
株式会社三洋物産
遊技機
16日前
株式会社三洋物産
遊技機
16日前
株式会社三洋物産
遊技機
16日前
株式会社三洋物産
遊技機
16日前
株式会社三洋物産
遊技機
2日前
株式会社三洋物産
遊技機
26日前
株式会社三洋物産
遊技機
26日前
株式会社三洋物産
遊技機
26日前
株式会社三洋物産
遊技機
13日前
株式会社三洋物産
遊技機
26日前
株式会社三洋物産
遊技機
13日前
株式会社三洋物産
遊技機
13日前
株式会社三洋物産
遊技機
13日前
株式会社三洋物産
遊技機
13日前
株式会社三洋物産
遊技機
13日前
株式会社三洋物産
遊技機
13日前
株式会社三洋物産
遊技機
13日前
株式会社三洋物産
遊技機
13日前
株式会社三洋物産
遊技機
13日前
株式会社三洋物産
遊技機
13日前
株式会社三洋物産
遊技機
13日前
株式会社三洋物産
遊技機
13日前
株式会社三洋物産
遊技機
13日前
株式会社三洋物産
遊技機
16日前
株式会社三洋物産
遊技機
26日前
株式会社三洋物産
遊技機
13日前
株式会社三洋物産
遊技機
23日前
株式会社三洋物産
遊技機
24日前
株式会社三洋物産
遊技機
24日前
続きを見る
他の特許を見る