TOP
|
特許
|
意匠
|
商標
特許ウォッチ
Twitter
他の特許を見る
10個以上の画像は省略されています。
公開番号
2025146717
公報種別
公開特許公報(A)
公開日
2025-10-03
出願番号
2025036435,2024046105
出願日
2025-03-07,2024-03-22
発明の名称
遊技台
出願人
株式会社大都技研
代理人
個人
,
個人
主分類
A63F
5/04 20060101AFI20250926BHJP(スポーツ;ゲーム;娯楽)
要約
【課題】基板に特徴を持った遊技台を提供する。
【解決手段】第一のコネクタを有する第一の基板と、第二のコネクタを有する第二の基板と、前記第二の基板に接触可能な基板支持部を有する第二の取付部と、を備え、前記第一のコネクタと前記第二のコネクタを接続する際に前記第二の基板が前記第二の取付部に対して移動可能に構成され、前記第二の基板が前記第二の取付部に取り付けられた状態において、該第二の基板と該第二の取付部との間には前記基板支持部によって空間が形成されている。また、前記第二のコネクタは、前記第二の基板の前記空間に対する面から第二のネジを用いて固定され、前記第二のネジの一部は、前記空間に収容可能に構成され、前記第二の基板の前記空間に対する面は、配線パターンが無い或る領域を有し、前記或る領域は、前記基板支持部が接触可能な領域を含む領域であり、前記或る領域は、前記基板支持部が接触可能な領域よりも広い領域であり、前記第一のコネクタが第一の取付部に第一のネジを用いて固定される。
【選択図】図18
特許請求の範囲
【請求項1】
第一のコネクタを有する第一の基板と、
第二のコネクタを有する第二の基板と、
前記第二の基板に接触可能な基板支持部を有する第二の取付部と、
を備えた遊技台であって、
前記第一のコネクタは、前記第二のコネクタに接続可能なものであり、
前記第二の基板は、前記第二の取付部に移動可能に取り付けられており、
前記第一のコネクタと前記第二のコネクタを接続する際に前記第二の基板が前記第二の取付部に対して移動可能に構成され、
前記第二の基板が前記第二の取付部に取り付けられた状態において、該第二の基板と該第二の取付部との間には前記基板支持部によって空間が形成され、
前記第二のコネクタは、前記第二の基板の前記空間に対する面から第二のネジを用いて固定され、
前記第二のネジの一部は、前記空間に収容可能に構成されており、
前記第二の基板の前記空間に対する面は、配線パターンが無い或る領域を有し、
前記或る領域は、前記基板支持部が接触可能な領域を含む領域であり、
前記或る領域は、前記基板支持部が接触可能な領域よりも広い領域であり、
前記第一のコネクタが第一の取付部に第一のネジを用いて固定される、
ことを特徴とする遊技台。
発明の詳細な説明
【技術分野】
【0001】
本発明は、弾球遊技機(パチンコ機)、回胴遊技機(スロットマシン)、封入式遊技機あるいはメダルレススロットマシンに代表される遊技台に関する。
続きを表示(約 7,800 文字)
【背景技術】
【0002】
従来、遊技台の一つとして、例えば、スロットマシンが知られている。このようなスロットマシンには、各種の基板を備えたものがある(例えば、特許文献1参照)。
【先行技術文献】
【特許文献】
【0003】
特開2016-73461号公報
【発明の概要】
【発明が解決しようとする課題】
【0004】
しかしながら、従来の遊技台は、基板に改良の余地がある。
【0005】
本発明の目的は、基板に特徴を持った遊技台を提供することにある。
【課題を解決するための手段】
【0006】
本発明に係る遊技台は、第一のコネクタを有する第一の基板と、第二のコネクタを有する第二の基板と、前記第二の基板に接触可能な基板支持部を有する第二の取付部と、を備えた遊技台であって、前記第一のコネクタは、前記第二のコネクタに接続可能なものであり、前記第二の基板は、前記第二の取付部に移動可能に取り付けられており、前記第一のコネクタと前記第二のコネクタを接続する際に前記第二の基板が前記第二の取付部に対して移動可能に構成され、前記第二の基板が前記第二の取付部に取り付けられた状態において、該第二の基板と該第二の取付部との間には前記基板支持部によって空間が形成され、前記第二のコネクタは、前記第二の基板の前記空間に対する面から第二のネジを用いて固定され、前記第二のネジの一部は、前記空間に収容可能に構成されており、前記第二の基板の前記空間に対する面は、配線パターンが無い或る領域を有し、前記或る領域は、前記基板支持部が接触可能な領域を含む領域であり、前記或る領域は、前記基板支持部が接触可能な領域よりも広い領域であり、前記第一のコネクタが第一の取付部に第一のネジを用いて固定される、ことを特徴とする遊技台である。
【発明の効果】
【0007】
本発明によれば、基板に特徴を持った遊技台を実現できる。
【図面の簡単な説明】
【0008】
スロットマシン100を正面側(遊技者側)から見た外観斜視図である。
前面扉102を開けた状態のスロットマシン100を示す正面図である。
制御部の回路ブロック図を示したものである。
(a)各リール(左リール110、中リール111、右リール112)に施される図柄の配列を平面的に展開して示した図である。(b)入賞役(作動役を含む)の種類、各入賞役に対応する図柄組合せ、各入賞役の作動または払出を示した図である。
(a)リール中継基板ユニット700を電源中継基板ユニット600に取り付けた状態を示した平面図である。(b)リール中継基板ユニット700を電源中継基板ユニット600に取り付けた状態を示した側面図である。(c)リール中継基板ユニット700を電源中継基板ユニット600から取り外した状態を示した側面図である。
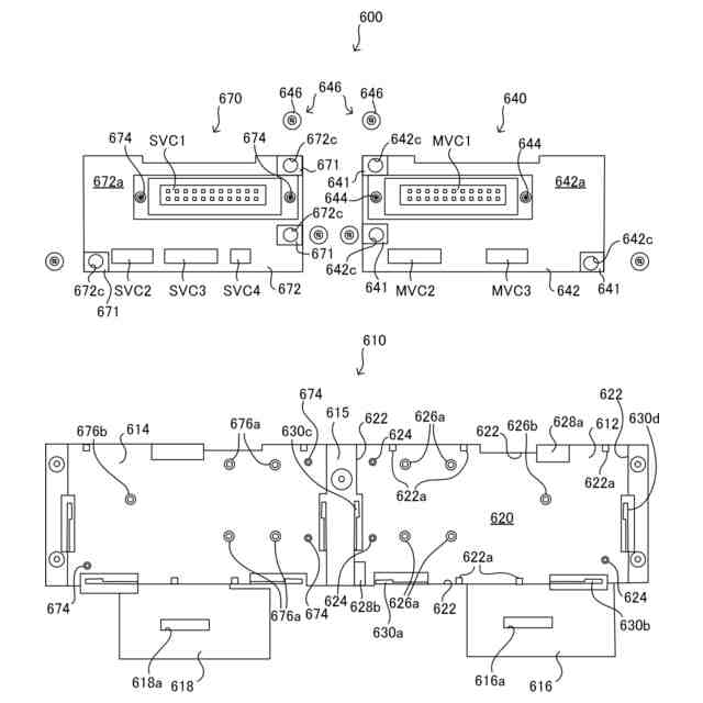
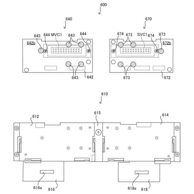
(a)電源中継基板ユニット600の正面図である。(b)電源中継基板ユニット600の背面図である。
電源中継基板ユニット600を構成する部材を分解して正面から見た分解図である。
電源中継基板ユニット600を構成する部材を分解して背面から見た分解図である。
基板支持体610のメイン側基板収容部612を拡大して示した部分拡大図である。
(a)メイン側電源中継基板640を基板支持体610のメイン側基板収容部612に収容した状態を示す正面図である。(b)メイン側電源中継基板640をメイン基板収容部612において正面視左方向に移動させた状態を示す平面図である。(c)メイン側電源中継基板640をメイン基板収容部612において正面視下方向に移動させた状態を示す平面図である。
(a)メイン側電源中継基板640を基板支持体610のメイン側基板収容部612に収容して取付ネジ646を取り付けた状態を示す正面図である。(b)(a)における符号Aの方向から見た図であって、取付ネジ646の近傍を拡大して示した拡大図である。
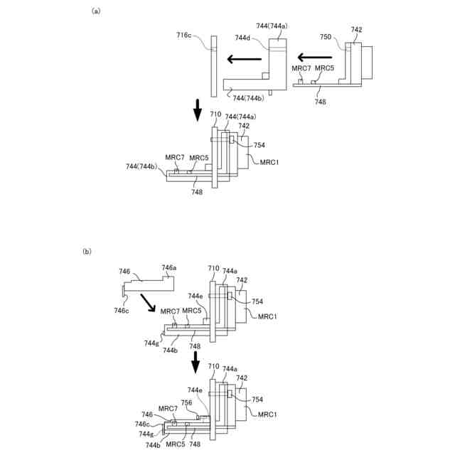
(a)リール中継基板ユニット700を正面側から見た正面図である。(b)リール中継基板ユニット700を右側面から見た側面図である。(c)リール中継基板ユニット700を構成する部材を分解して右側面から見た分解側面図である。
(a)メイン側リール中継基板742を正面側から見た正面図である。(b)メイン側リール中継基板742を上方から見た平面図である。(c)メイン側リール中継基板742を底面側から見た底面である。
(a)メイン側収容体744を正面側から見た正面図である。(b)メイン側収容体744を上方から見た平面図である。(c)メイン側収容体744を正面斜め上方から見た正面斜視図である。
(a)メイン側蓋体746を正面側から見た正面図である。(b)メイン側蓋体746を上方から見た平面図である。(c)メイン側蓋体746を正面斜め上方から見た正面斜視図である。
(a)板金部材710を正面側から見た正面図である。(b)板金部材710を上方から見た平面図である。(c)板金部材710を背面側から見た背面図である。
(a)板金部材710にメイン側収容体744を嵌め込んだ状態を正面側から見た正面図である。(b)板金部材710にメイン側収容体744を嵌め込んだ状態を背面側から見た背面図である。(c)板金部材710にメイン側収容体744を取り付ける様子を示した側面図である。
(a)板金部材710にメイン側収容体744とメイン側リール側中継基板742を取り付ける手順を示した側面図である。(b)メイン側収容体744とメイン側リール側中継基板742が取り付けられた板金部材710にメイン側蓋体746を取り付ける手順を示した側面図である。
メイン側リール中継基板742とサブ側リール中継基板772を並べて示した平面図である。
本体101の内部を示す正面図であって、リール中継基板ユニット700とリール110~112の接続関係を示した図である。
主制御部メイン処理の流れを示すフローチャートである。
(a)AT中抽選処理の流れを示すフローチャートである。(b)BB抽選テーブルの一例である。(c)BB当選時有利区間リセット抽選テーブルの一例である。
(a)AT中BB等抽選処理の流れを示すフローチャートである。(b)AT終了時処理の流れを示すフローチャートである。
或る遊技期間における差枚数の推移の一例を示したグラフである。
或る遊技期間における演出の一例を示した図である。
或る遊技期間における演出の一例(続き)を示した図である。
或る遊技期間における演出の一例(続き)を示した図である。
小役グループの一例を示した図である。
(a)AT中次回ナビ決定処理の流れを示すフローチャートである。(b)AT中ナビコマンド出力処理の流れを示すフローチャートである。
入賞判定時特典抽選処理の流れを示すフローチャートである。
(a)上乗せ抽選テーブルの一例を示した図である。(b)書き換え抽選テーブルの一例を示した図である。
或る遊技期間における遊技価値の純増数の変化の一例を示したグラフである。
或る遊技期間における獲得累計Pや累計払出の変化の一例を示した図である。
或る遊技期間における各種演出や操作ナビの一例を時系列で示した図である。
或る遊技期間における各種演出や操作ナビの一例を時系列で示した図である。
或る遊技期間における各種演出や操作ナビの一例を時系列で示した図である。
各リール(左リール110、中リール111、右リール112)に施される図柄の配列を平面的に展開して示した図である。
(a)小役グループの一例を示した図である。(b)指示モニタの表示例を示した図である。
(a)AT処理の流れを示すフローチャートである。(b)ジャッジ処理の流れを示すフローチャートである。
ポイント抽選テーブルの一例を示した図である。
AT中の各種演出の一例を時系列で示した図である。
(a)~(d)AT中の各種演出の一例を時系列で示した図である。(e)~(h)演出モード選択画面の一例を示した図である。(i)~(j)継続ジャッジ中の演出モード1における各種演出の一例を時系列で示した図である。
継続ジャッジ中の演出モード1における各種演出の一例を時系列で示した図である。
継続ジャッジ中の演出モード1における各種演出の一例を時系列で示した図である。
(a)~(b)演出モード選択画面の一例を示した図である。(c)~(i)継続ジャッジ中の演出モード2における各種演出の一例を時系列で示した図である。
継続ジャッジ中の演出モード2における各種演出の一例を時系列で示した図である。
(a)~(b)演出モード選択画面の一例を示した図である。(c)~(j)継続ジャッジ中の演出モード3における各種演出の一例を時系列で示した図である。
(a)~(b)継続ジャッジ中の演出モード3における各種演出の一例を時系列で示した図である。(c)~(e)継続ジャッジ中の操作ナビの変形例を示した図である。
スロットマシン100を正面側(遊技者側)から見た外観斜視図である。
スロットマシン100の入賞ラインの一例を示す図である。
状態表示LED280の正面図である。
状態表示LED280を構成する部材を分解して示す分解斜視図である。
リフレクタ284の熱カシメ部284dを含む、状態表示LED280の断面図である。
(a)前面扉102を開けた状態のスロットマシン100を示す正面図である。(b)スロットマシン100の側断面図である。
リールバックライト264の正面図である。(b)リールバックライト264の側面図である。(c)リールバックライト264を構成する部材を分解して正面側から見た外観斜視図である。
(a)状態表示LED280のLED基板288の正面図である。(b)リールバックライト264の照明基板268の正面図である。
制御部の回路ブロック図を示したものである。
(a)識別基板610を切り離す前の主制御基板600の平面図である。(b)識別基板610を切り離した後の主制御基板600の平面図である。
副制御基板650の平面図である。
主基板収納ケース640と主制御基板600を示した分解斜視図である。
(a)主制御基板600を収容した状態の主基板収納ケース640を基板収容体642側から見た平面図である。(b)(a)におけるA-A線に沿う断面図である。(c)(b)に対応する従来の基板の構造を示した断面図である。
(a),(b)変形例1に係る主制御基板670の平面図である。
(a)変形例2に係る主制御基板690の平面図である。(b)変形例3に係る主制御基板696の平面図である。
(a)本例に係る基板700を電源層710側から見た平面図であり。(b)(a)におけるX-X線に沿う、基板700の部分断面図である。
(a)LEDドライバIC714の端子配置図である。(b)モータドライバIC716の端子配置図である。
(a)基板700の電源層710の電源配線パターンの一例を示すパターン図である。(b)基板700のGND層706のGND配線パターン706aを示すパターン図である。
(a)図66(a)において符号Aで示す部分を拡大して示す、電源層710の部分拡大図である。(b)図66(b)において符号Bで示す部分を拡大して示す、GND層706の部分拡大図である。(c)(a)に示す電源層710と(b)に示すGND層706を重ね合わせて示すパターン図である。
(a)GND層706のパターン抜き706bと、電源層710に実装されるLEDドライバIC714およびモータドライバ716との位置関係を示した平面図である。(b)(a)に拡大して示すLEDドライバ714におけるY-Y線に沿う断面図である。(c)(a)に拡大して示すモータドライバ716におけるZ-Z線に沿う断面図である。
(a)従来の遊技台の基板における問題点を模式的に示した概念図である。(b)本願発明の基板の概念を模式的に示した図である。
(a)実施例1に係る非重畳領域NOEと、炭化導電路の想定最大領域CEを示した平面図である。(b)(a)におけるA-A線に沿う断面図である。(c)基板700の非重畳領域NOEが、炭化導電路の想定最大領域CEを含んでいない場合の例を示した平面図である。(d),(d´)(c)におけるB-B線に沿う断面図である。
(a)実施例2に係る非重畳領域NOE2を示した平面図である。(b)実施例3に係る非重畳領域NOE3を示した平面図である。(c)実施例4に係る非重畳領域NOE4を示した平面図である。
(a)実施例5に係る非重畳領域NOE5を示した平面図である。(b)(a)における電源配線ラインのパターンを変更した例を示した平面図である。
部品を実装する前の主制御基板600の平面図である。
図73から符号を削除した平面図である。
部品を実装した後の主制御基板600の平面図である。
図75から符号を削除した平面図である。
(a)部品と位置表示の位置関係(実施例1)を説明するための平面図である。(b)部品と位置表示の位置関係(実施例1の変形例1)を説明するための平面図である。(c)部品と位置表示の位置関係(実施例1の変形例2)を説明するための平面図である。(d)部品と位置表示の位置関係(実施例1の変形例3)を説明するための平面図である。
(a)部品と位置表示の位置関係(実施例2)を説明するための平面図である。(b)部品と位置表示の位置関係(実施例2の変形例1)を説明するための平面図である。(c)部品と位置表示の位置関係(実施例2の変形例2)を説明するための平面図である。(d)部品と位置表示の位置関係(実施例2の変形例3)を説明するための平面図である。
(a)部品と位置表示の位置関係(実施例3)を説明するための平面図である。(b)部品と位置表示の位置関係(実施例3の変形例1)を説明するための平面図である。(c)部品と位置表示の位置関係(実施例3の変形例2)を説明するための平面図である。(d)部品と位置表示の位置関係(実施例3の変形例3)を説明するための平面図である。
(a)部品と位置表示の位置関係(実施例4)を説明するための平面図である。(b)部品と位置表示の位置関係(実施例4の変形例1)を説明するための平面図である。(c)部品と位置表示の位置関係(実施例4の変形例2)を説明するための平面図である。(d)部品と位置表示の位置関係(実施例4の変形例3)を説明するための平面図である。
(a)部品と位置表示の位置関係(実施例5)を説明するための平面図である。(b)部品と位置表示の位置関係(実施例5の変形例1)を説明するための平面図である。(c)部品と位置表示の位置関係(実施例5の変形例2)を説明するための平面図である。(d)部品と位置表示の位置関係(実施例5の変形例3)を説明するための平面図である。(e)部品と位置表示の位置関係(実施例6)を説明するための平面図である。
部品を実装する前のモータ駆動基板800の平面図である。
部品を実装した後のモータ駆動基板800の平面図である。
部品と位置表示の位置関係(実施例7)を説明するための平面図である。
部品と位置表示の位置関係(実施例7の変形例1)を説明するための平面図である。
部品と位置表示の位置関係(実施例7の変形例2)を説明するための平面図である。
(a)主制御基板600におけるIC16の周辺を抜き出して示した部分拡大図であり、図86(b)に示すIC16の図形表示719aの変形例を示した図である。(b)(a)において符号Xで示す方向から見たIC16の側面図である。(c)(b)に示す側面図に対応する図であり、IC16の図形表示と、はんだペーストの変形例を示した図である。
(a),(b)部品と位置表示の位置関係(実施例8)を説明するための平面図である。(c)(b)に示す正面図に対応する図であり、IC6の図形表示の変形例を示した図である。(d)(b)において符号Yで示す方向から見たIC6の側面図である。(e)(c)において符号Zで示す方向から見たIC6の側面図である。
部品と位置表示の位置関係(実施例9)を説明するための平面図である。
スロットマシン100と貸出機700を正面側(遊技者側)から見た外観斜視図である。
制御部の回路ブロック図である。
各基板と各ユニットの接続例を示す図である。
図92に示す主制御基板300Bと、同じく図92に示すリールユニット109との間に中継基板が設けられた例を示す図である。
図90に示すスロットマシン100および貸出機700を含む遊技システムの構成図である。
遊技機状態情報、遊技機性能情報や、および遊技機設置情報をまとめた表である。
遊技制御部302からメダル数制御部350に遊技制御状態コマンドが送信された場合の通信シーケンスを示す図である。
メダル数制御部350と貸出機700の間で行われる通信についての詳細を示す図である。
(a)は、ホールコン・不正監視情報の詳細を示す図であり、(b)は、エラーコードの一覧表である。
遊技制御状態コマンドを示す表である。
メダル数制御状態コマンドを示す表である。
【発明を実施するための形態】
【0009】
<<実施形態1>>
以下、図面を用いて、本発明の実施形態1に係る遊技台(スロットマシン)について説明する。
【0010】
<全体構成>
まず、図1を用いてスロットマシン100の全体構成について説明する。図1は、スロットマシン100を正面側(遊技者側)から見た外観斜視図である。
(【0011】以降は省略されています)
この特許をJ-PlatPat(特許庁公式サイト)で参照する
関連特許
株式会社大都技研
遊技台
1か月前
株式会社大都技研
遊技台
19日前
株式会社大都技研
遊技台
13日前
株式会社大都技研
遊技台
1か月前
株式会社大都技研
遊技台
1か月前
株式会社大都技研
遊技台
1か月前
株式会社大都技研
遊技台
1か月前
株式会社大都技研
遊技台
19日前
株式会社大都技研
遊技台
19日前
株式会社大都技研
遊技台
19日前
株式会社大都技研
遊技台
19日前
株式会社大都技研
遊技台
19日前
株式会社大都技研
遊技台
19日前
株式会社大都技研
遊技台
13日前
株式会社大都技研
遊技台
19日前
株式会社大都技研
遊技台
19日前
株式会社大都技研
遊技台
19日前
株式会社大都技研
遊技台
19日前
株式会社大都技研
遊技台
19日前
株式会社大都技研
遊技台
19日前
株式会社大都技研
遊技台
19日前
株式会社大都技研
遊技台
19日前
株式会社大都技研
遊技台
19日前
株式会社大都技研
遊技台
19日前
株式会社大都技研
遊技台
13日前
株式会社大都技研
遊技台
13日前
株式会社大都技研
遊技台
6日前
株式会社大都技研
遊技台
13日前
株式会社大都技研
遊技台
6日前
株式会社大都技研
遊技台
6日前
株式会社大都技研
遊技台
6日前
株式会社大都技研
遊技台
6日前
株式会社大都技研
遊技台
6日前
株式会社大都技研
遊技台
6日前
株式会社大都技研
遊技台
6日前
株式会社大都技研
遊技台
6日前
続きを見る
他の特許を見る