TOP
|
特許
|
意匠
|
商標
特許ウォッチ
Twitter
他の特許を見る
10個以上の画像は省略されています。
公開番号
2025132898
公報種別
公開特許公報(A)
公開日
2025-09-10
出願番号
2024030783
出願日
2024-02-29
発明の名称
遊技機
出願人
株式会社三洋物産
代理人
個人
,
個人
,
個人
,
個人
,
個人
主分類
A63F
7/02 20060101AFI20250903BHJP(スポーツ;ゲーム;娯楽)
要約
【課題】第1の遊技条件と第2の遊技条件を成立させることが可能な始動入球手段を用いた遊技の興趣性を向上させることができる遊技機を提供する。
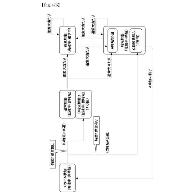
【解決手段】8チャッカーJ33へ入球した場合に、特図1の始動条件と特図2の始動条件を成立させることが可能である。特図1の始動条件が成立したことに対応する変動遊技が終了した時点で特図1保留がある場合、保留されている特図1の始動条件の成立に基づく特図1C時短抽選を実行することが可能である。C時短状態Aが得られ難い微時短状態と、微時短状態と比べてC時短状態Aが得られやすいCタイム状態とを設定することが可能である。パチンコ機10は、特図1変動遊技が終了した時点で特図1保留がない場合に、特図1によるC時短抽選が実行されることなく特定条件が成立することによって、Cタイム状態から微時短状態へ移行することが可能に構成される。
【選択図】図476
特許請求の範囲
【請求項1】
遊技領域のうち所定の領域へ発射された遊技球が入球可能な始動入球手段と、
所定の状況において前記始動入球手段へ入球した場合に、第1の遊技条件を成立させることが可能な第1遊技条件成立手段と、
前記第1の遊技条件が成立することを所定の上限数まで保留することが可能な保留記憶手段と、
前記所定の状況において前記始動入球手段へ入球した後に発生する特定の状況において前記始動入球手段へ入球した場合に、前記第1の遊技条件とは異なる第2の遊技条件を成立させることが可能な第2遊技条件成立手段と、
前記第1の遊技条件が成立したことに対応する変動遊技が終了した時点で、前記保留記憶手段における保留がある場合には、保留されている前記第1の遊技条件の成立に基づく所定の抽選を実行することが可能である所定抽選実行手段と、
を備える遊技機において、
前記遊技機は、
遊技状態として、前記第1の遊技条件の成立に基づく前記所定の抽選による特典が得られ難い第1遊技状態と、前記第1遊技状態と比べて前記第1の遊技条件の成立に基づく前記所定の抽選による前記特典が得られやすい第2遊技状態とを設定することが可能な遊技状態設定手段を備え、
前記遊技機は、前記第1の遊技条件が成立したことに対応する前記変動遊技が終了した時点で前記保留記憶手段における保留がない場合に、前記第1の遊技条件の成立に基づく前記所定の抽選が実行されることなく特定条件が成立することによって前記第2遊技状態から前記第1遊技状態へ移行することが可能に構成される
ことを特徴とする遊技機。
発明の詳細な説明
【技術分野】
【0001】
本発明は、パチンコ機等の遊技機に関する。
続きを表示(約 4,900 文字)
【背景技術】
【0002】
従来、第1の遊技条件と第2の遊技条件とを成立させることが可能な始動入賞装置を備える遊技機がある(例えば、特許文献1参照)。
【先行技術文献】
【特許文献】
【0003】
特開2022-102253号公報(第556~560頁、図249参照)
【発明の開示】
【発明が解決しようとする課題】
【0004】
しかしながら、この様な構成を有する従来の場合には、次のような問題がある。
すなわち、この種の遊技機は、第1の遊技条件と第2の遊技条件を成立させることが可能な始動入球手段を用いた遊技の興趣性をこれ以上向上させることが難しいという問題がある。
【0005】
本発明は、この様な事情に鑑みてなされたものであって、第1の遊技条件と第2の遊技条件を成立させることが可能な始動入球手段を用いた遊技の興趣性を向上させることができる遊技機を提供することを目的とする。
【課題を解決するための手段】
【0006】
この発明は、このような目的を達成するために、次のような構成をとる。
すなわち、請求項1に記載の発明は、
遊技領域のうち所定の領域へ発射された遊技球が入球可能な始動入球手段と、
所定の状況において前記始動入球手段へ入球した場合に、第1の遊技条件を成立させることが可能な第1遊技条件成立手段と、
前記第1の遊技条件が成立することを所定の上限数まで保留することが可能な保留記憶手段と、
前記所定の状況において前記始動入球手段へ入球した後に発生する特定の状況において前記始動入球手段へ入球した場合に、前記第1の遊技条件とは異なる第2の遊技条件を成立させることが可能な第2遊技条件成立手段と、
前記第1の遊技条件が成立したことに対応する変動遊技が終了した時点で、前記保留記憶手段における保留がある場合には、保留されている前記第1の遊技条件の成立に基づく所定の抽選を実行することが可能である所定抽選実行手段と、
を備える遊技機において、
前記遊技機は、
遊技状態として、前記第1の遊技条件の成立に基づく前記所定の抽選による特典が得られ難い第1遊技状態と、前記第1遊技状態と比べて前記第1の遊技条件の成立に基づく前記所定の抽選による前記特典が得られやすい第2遊技状態とを設定することが可能な遊技状態設定手段を備え、
前記遊技機は、前記第1の遊技条件が成立したことに対応する前記変動遊技が終了した時点で前記保留記憶手段における保留がない場合に、前記第1の遊技条件の成立に基づく前記所定の抽選が実行されることなく特定条件が成立することによって前記第2遊技状態から前記第1遊技状態へ移行することが可能に構成される
ことを特徴とする遊技機。
【0007】
[作用・効果]請求項1に記載の発明によれば、第1の遊技条件と第2の遊技条件を成立させることが可能な始動入球手段を用いた遊技の興趣性を向上させることができる遊技機を提供することができる。
【発明の効果】
【0008】
この発明に係る遊技機によれば、第1の遊技条件と第2の遊技条件を成立させることが可能な始動入球手段を用いた遊技の興趣性を向上させることができる遊技機を提供することができる。
【図面の簡単な説明】
【0009】
本発明の実施例1のパチンコ機の正面図である。
パチンコ機の前方斜視図である。
パチンコ機の背面図である。
パチンコ機の右側面図である。
パチンコ機の左側面図である。
パチンコ機の平面図である。
遊技盤の正面図である。
パチンコ機の電気的構成を示すブロック図である。
(a)は第3図柄表示装置の表示内容を示し、(b)は保留表示を示す説明図である
遊技制御に用いる各種カウンタの概要を示す説明図である。
(a)は特図1大当たり抽選用テーブルであり、(b)は特図2用大当たり抽選用テーブルである。
主装飾図柄の変動パターン選択用テーブルである。
(a)は大当たりノーマルリーチ,外れノーマルリーチの変動表示演出の例示であり、(b)は大当たりスーパーリーチ,外れスーパーリーチの変動表示演出の例示である。
(a)は大当たりスーパーリーチ,外れスーパーリーチの変動表示演出の例示であり、(b)は大当たりスーパーリーチ,外れスーパーリーチの変動表示演出の例示である。
エンディング演出パターン決定用テーブルである。
主制御装置によるメイン処理を示すフローチャートである。
主制御装置による通常処理を示すフローチャートである。
第1図柄変動処理を示すフローチャートである。
変動開始処理を示すフローチャートである。
次回遊技状態設定処理を示すフローチャートである。
大入賞口開閉処理を示すフローチャートである。
右打ちエラー判定処理を示すフローチャートである。
タイマ割込み処理を示すフローチャートである。
始動入賞処理を示すフローチャートである。
先読み用抽選処理を示すフローチャートである。
発射制御処理を示すフローチャートである。
NMI割込み処理を示すフローチャートである。
払出制御装置によるメイン処理を示すフローチャートである。
払出制御処理を示すフローチャートである。
賞球制御処理を示すフローチャートである。
貸球制御処理を示すフローチャートである。
サブ制御装置によるメイン処理を示すフローチャートである。
サブ制御装置による通常処理を示すフローチャートである。
サブ制御装置による客待ち演出処理を示すフローチャートである。
サブ制御装置による枠ボタン入力監視・演出処理を示すフローチャートである。
サブ制御装置による決定ボタン入力監視・演出処理を示すフローチャートである。
サブ制御装置による選択ボタン入力監視・演出処理を示すフローチャートである。
サブ制御装置による音編集・出力管理処理を示すフローチャートである。
サブ制御装置による演出実行管理処理を示すフローチャートである。
サブ制御装置による先読み変動パターン指定コマンド受信処理を示すフローチャートである。
サブ制御装置による開閉モード(大当たり)表示設定処理を示すフローチャートである。
サブ制御装置による変動表示態様設定処理を示すフローチャートである。
サブ制御装置による次回遊技状態表示態様設定処理を示すフローチャートである。
サブ制御装置による右打ちエラー報知表示態様設定処理を示すフローチャートである。
表示制御装置の通常処理を示すフローチャートである。
表示制御装置による表示モード等の切り替え処理を示すフローチャートである。
表示制御装置による図柄列変動表示処理を示すフローチャートである。
表示制御装置による特定操作画面表示処理を示すフローチャートである。
表示制御装置による大当たりオープニング・ラウンド表示処理を示すフローチャートである。
表示制御装置による大当たりエンディング表示処理を示すフローチャートである。
表示制御装置による高確率・サポート状態移行表示処理を示すフローチャートである。
表示制御装置による低確率・サポート状態移行表示処理を示すフローチャートである。
表示制御装置による特定操作期間報知処理を示すフローチャートである。
第3図柄表示装置における特定操作期間中の表示態様を説明する図である。
主装飾図柄の高速変動中における特定操作期間中の表示態様を説明する図である。
リーチ成立以降の特定操作期間中の表示態様を説明する図である。
図56に続くリーチ成立以降の特定操作期間中の表示態様を説明する図である。
高速変動中の特定操作期間中に決定ボタンが押下されたまま放置された場合の表示態様を説明する図である。
高速変動中の特定操作期間中に決定ボタン及び選択ボタンが押下された場合の表示態様を説明する図である。
実施例1の変形例部分を示す遊技盤の正面図である。
(a)は、特図1大当たり抽選用テーブルであり、(b)は、特図2大当たり抽選用テーブルである。
(a)は、普通当たり選択用テーブルであり、(b)は、普通図柄変動パターン(普通電動役物開放パターン)選択用テーブルである。
(a)は、特図2主装飾図柄変動パターン選択用テーブル(連チャンゾーン1回目)であり、(b)は、特図2主装飾図柄変動パターン選択用テーブル(連チャンゾーン2回目~5回目)である。
遊技の流れを説明する図である。
実施例1のさらなる特徴部分のパチンコ機の正面図である。
パチンコ機の右側面図、左側面図である。
パチンコ機の電気的構成を示すブロック図である。
特図1主装飾図柄変動パターン選択用テーブルを示す図である。
同時押下演出に係るタイムチャートである。
同時押下演出に係るタイムチャートである。
メニューボタン入力監視・演出処理を示すフローチャートである。
メニューボタン入力監視・演出処理を示すフローチャートである。
決定ボタン入力監視・演出処理を示すフローチャートである。
メニューボタン・決定ボタン同時押下判定処理を示すフローチャートである。
液晶演出実行管理処理を示すフローチャートである。
変動表示態様設定処理を示すフローチャートである。
同時押下演出表示態様設定処理を示すフローチャートである。
同時押下演出表示処理を示すフローチャートである。
同時押下演出の表示態様を示す図である。
同時押下演出の表示態様を示す図である。
同時押下演出の表示態様を示す図である。
同時押下演出の表示態様を示す図である。
同時押下演出の表示態様を示す図である。
同時押下演出の表示態様を示す図である。
同時押下演出の表示態様を示す図である。
同時押下演出の表示態様を示す図である。
同時押下演出の表示態様を示す図である。
同時押下演出の表示態様を示す図である。
同時押下演出の表示態様を示す図である。
同時押下演出の表示態様を示す図である。
同時押下演出の表示態様を示す図である。
同時押下演出の表示態様を示す図である。
実施例2のメニューボタン入力監視・演出処理を示すフローチャートである。
決定ボタン入力監視・演出処理を示すフローチャートである。
決定ボタン入力監視・演出処理を示すフローチャートである。
決定ボタン入力監視・演出処理を示すフローチャートである。
メニューボタン・決定ボタン同時押下判定処理を示すフローチャートである。
連打演出表示態様設定処理を示すフローチャートである。
連打演出の表示態様を示す図である。
連打演出の表示態様を示す図である。
【発明を実施するための形態】
【0010】
本明細書は、次のような遊技機に係る発明と発明が解決しようとする課題についても開示している。
(【0011】以降は省略されています)
この特許をJ-PlatPat(特許庁公式サイト)で参照する
関連特許
株式会社三洋物産
遊技機
2か月前
株式会社三洋物産
遊技機
1か月前
株式会社三洋物産
遊技機
1か月前
株式会社三洋物産
遊技機
1か月前
株式会社三洋物産
遊技機
1か月前
株式会社三洋物産
遊技機
1か月前
株式会社三洋物産
遊技機
1か月前
株式会社三洋物産
遊技機
1か月前
株式会社三洋物産
遊技機
1か月前
株式会社三洋物産
遊技機
1か月前
株式会社三洋物産
遊技機
1か月前
株式会社三洋物産
遊技機
1か月前
株式会社三洋物産
遊技機
1か月前
株式会社三洋物産
遊技機
1か月前
株式会社三洋物産
遊技機
1か月前
株式会社三洋物産
遊技機
1か月前
株式会社三洋物産
遊技機
1か月前
株式会社三洋物産
遊技機
1か月前
株式会社三洋物産
遊技機
1か月前
株式会社三洋物産
遊技機
1か月前
株式会社三洋物産
遊技機
1か月前
株式会社三洋物産
遊技機
1か月前
株式会社三洋物産
遊技機
1か月前
株式会社三洋物産
遊技機
1か月前
株式会社三洋物産
遊技機
1か月前
株式会社三洋物産
遊技機
1か月前
株式会社三洋物産
遊技機
1か月前
株式会社三洋物産
遊技機
1か月前
株式会社三洋物産
遊技機
1か月前
株式会社三洋物産
遊技機
1か月前
株式会社三洋物産
遊技機
1か月前
株式会社三洋物産
遊技機
1か月前
株式会社三洋物産
遊技機
1か月前
株式会社三洋物産
遊技機
1か月前
株式会社三洋物産
遊技機
1か月前
株式会社三洋物産
遊技機
1か月前
続きを見る
他の特許を見る