TOP
|
特許
|
意匠
|
商標
特許ウォッチ
Twitter
他の特許を見る
公開番号
2025122230
公報種別
公開特許公報(A)
公開日
2025-08-20
出願番号
2025093857,2024532067
出願日
2025-06-05,2023-06-28
発明の名称
電食防止転がり軸受
出願人
株式会社不二越
代理人
個人
,
個人
主分類
F16C
33/64 20060101AFI20250813BHJP(機械要素または単位;機械または装置の効果的機能を生じ維持するための一般的手段)
要約
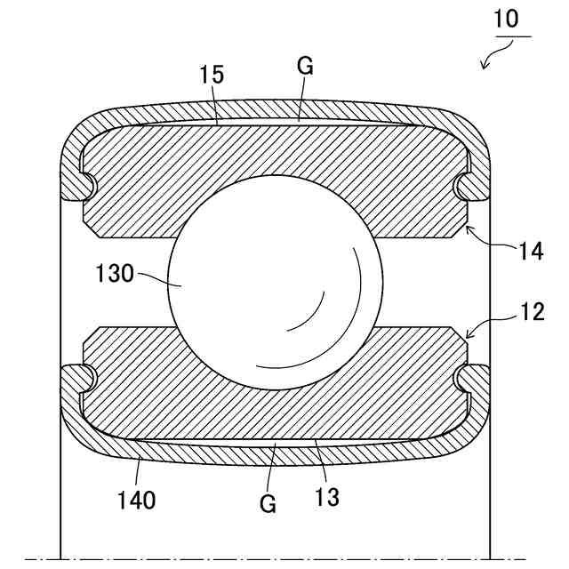
【課題】インサート成形時の収縮に起因する内輪や外輪と絶縁皮膜との隙間の発生を好適に抑制することができ、良好な電食防止効果を確保することが可能な電食防止転がり軸受を提供することを目的とする。
【解決手段】本発明にかかる電食防止転がり軸受の構成は、内輪または外輪の表面に樹脂製の絶縁皮膜をインサート成形により形成した電食防止転がり軸受(軸受100)において、内輪110の内周面112または外輪120の外周面122には、レーザ加工による溝150が形成されていて、溝150は、深さ方向で、内輪110の内周面112または外輪120の外周面122に対して傾斜していることを特徴とする。
【選択図】図1
特許請求の範囲
【請求項1】
内輪または外輪の表面に樹脂製の絶縁皮膜をインサート成形により形成した電食防止転がり軸受において、
前記内輪の内周面または前記外輪の外周面には、レーザ加工による溝が形成されていて、
前記溝は、
前記内輪の内周面または前記外輪の外周面において格子状に形成されていて、
該軸受の中心の両側に円周方向に延びた円周溝を含み、
前記円周溝は、深さ方向に中心側に傾斜していることを特徴とする電食防止転がり軸受。
発明の詳細な説明
【技術分野】
【0001】
本発明は、電食防止対策に有効な電食防止転がり軸受に関する。
続きを表示(約 1,600 文字)
【背景技術】
【0002】
近年、EV車(electric car)やHV車(hybrid car)等の開発の進展もあり、一台の自動車に搭載される高電圧部品の数が増加しつつある。この高電圧部品の電流が軸受に通電すると、軸受の転動体の表面、外輪や内輪の軌道面に電食が生じてしまい、損傷の一因となる。そこで例えば特許文献1では、軌道輪の表面に絶縁皮膜を設けた電食防止転がり軸受が開示されている。特許文献1では、絶縁皮膜を、ガラス繊維と非繊維質の絶縁性無機充填材とを含有したポリファニレンサルファイド樹脂により形成している。
【0003】
特許文献1の転がり軸受では、内輪と外輪の表面に複数の円周溝を形成し、その上に絶縁皮膜をかぶせて形成している。これにより、射出成形時に絶縁皮膜に形成された突条が円周溝に嵌まり込んだ状態となる。したがって、皮膜の「軸方向のずれ」が防止され、動作時のはがれや浮き上りを防止可能であるとしている。
【先行技術文献】
【特許文献】
【0004】
特許第3068311号
【発明の概要】
【発明が解決しようとする課題】
【0005】
内輪や外輪に絶縁皮膜を形成する方法としては、特許文献1に例示されるインサート成形が一般的に用いられる。しかしながら、インサート成形によって絶縁皮膜を形成する場合、内輪や外輪と絶縁皮膜との熱膨張係数の差により、冷却時に絶縁皮膜の方が大きく収縮する。これにより内輪や外輪と絶縁皮膜との間に隙間が発生する。すると、実際の締め代が所望の締め代よりも小さくなり、クリープが発生しやすくなる。その結果、絶縁皮膜が摩耗し、結果的に絶縁性能の低下が生じてしまう可能性がある。
【0006】
冷却時の内輪や外輪と絶縁皮膜との間の隙間の発生を抑制する方法としては、特許文献1のように内輪や外輪の表面に円周溝を形成することが挙げられる。しかしながら、特許文献1は動作時の「軸方向の荷重」を考慮したものであり、インサート成形直後の半径方向の力は考慮されていない。特許文献1のように機械加工によって形成した円周溝は、剥離する方向と溝の深さ方向が同じであるため、溝内に形成された樹脂の突条(リブ)が溝から抜け出してしまい、絶縁皮膜との密着性が低い。このため、絶縁皮膜に形成された突条は、軸方向でのずれの防止には効果を有するものの、冷却時の収縮が生じた際には円周溝から抜けやすく、内輪や外輪と絶縁皮膜との間の隙間の発生を抑制する効果が十分に得られなかった。
【0007】
本発明は、このような課題に鑑み、インサート成形時の収縮に起因する内輪や外輪と絶縁皮膜との隙間の発生を好適に抑制することができ、良好な電食防止効果を確保することが可能な電食防止転がり軸受を提供することを目的としている。
【課題を解決するための手段】
【0008】
上記課題を解決するために、本発明にかかる電食防止転がり軸受の代表的な構成は、内輪または外輪の表面に樹脂製の絶縁皮膜をインサート成形により形成した電食防止転がり軸受において、内輪の内周面または外輪の外周面には、レーザ加工による溝が形成されていて、溝は、内輪の内周面または外輪の外周面において格子状に形成されていて、該軸受の中心の両側に円周方向に延びた円周溝を含み、円周溝は、深さ方向に中心側に傾斜していることを特徴とする。
【0009】
上記溝は、内輪の内周面または外輪の外周面に格子状に形成されているとよい。
【0010】
上記溝は、内輪の内周面または外輪の外周面において、軸受の中心の両側に円周方向に延びた円周溝を含み、円周溝は、深さ方向に中心側に傾斜しているとよい。
(【0011】以降は省略されています)
この特許をJ-PlatPat(特許庁公式サイト)で参照する
関連特許
株式会社不二越
ロボット
5日前
株式会社不二越
ノンリーク三方弁
8日前
株式会社不二越
複合アクチュエータ
8日前
株式会社不二越
移動ロボットシステム
8日前
株式会社不二越
可変容量制御ピストンポンプ
8日前
株式会社不二越
X線回折測定装置及びプログラム
8日前
株式会社不二越
歯車加工用合金鋼およびそれを用いた歯車
18日前
他の特許を見る