TOP
|
特許
|
意匠
|
商標
意匠ウォッチ
Twitter
他の意匠を見る
発行日
2025-10-03
公報種別
意匠公報(S)
登録番号
1809890
登録日
2025-09-25
意匠に係る物品
屋根上設置物の軒側端部カバー
意匠分類
L4
-522(建築用構成品)
出願番号
2025000317
出願日
2025-01-09
意匠権者
株式会社屋根技術研究所
代理人
個人
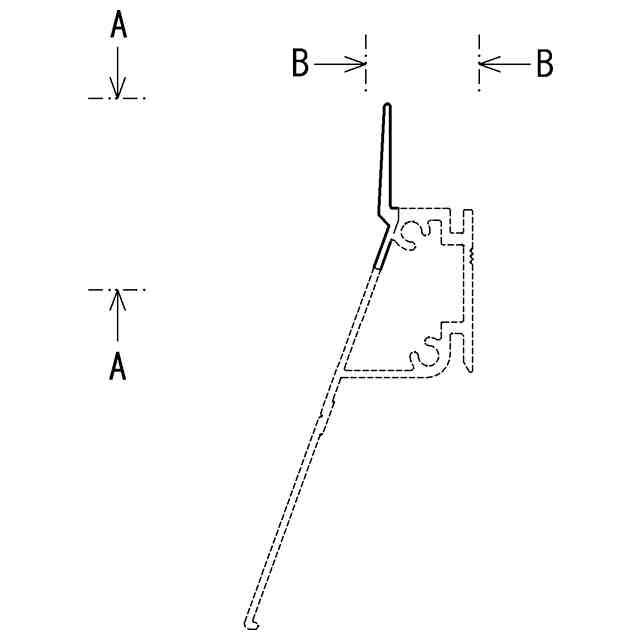
意匠に係る物品の説明
本物品は、太陽電池モジュール等の屋根上設置物の軒側端部を被覆するカバーであり落雪を抑制する雪止め部を備えている。使用状態を示す参考図で例示するように、屋根には取付具が固定され、本物品及び屋根上設置物は保持部材を介して取付具に取り付けられる。
意匠の説明
実線で表した部分が、意匠登録を受けようとする部分である。一点鎖線は、意匠登録を受けようとする部分とその他の部分との境界のみを示す線である。左側面図は、右側面図と対称にあらわれるため省略する。この意匠は、正面図において左右にのみ連続するものである。
意匠ウォッチbot のツイートを見る
この意匠をJ-PlatPat(特許庁公式サイト)で参照する
関連意匠
株式会社屋根技術研究所
屋根上設置物の軒側端部カバー
2か月前
大建工業株式会社
窓
2か月前
大建工業株式会社
窓
2か月前
株式会社LIXIL
網戸
1か月前
個人
階段
8か月前
積水化学工業株式会社
樋継手
2か月前
ナカ工業株式会社
点検口
3か月前
ナカ工業株式会社
点検口
3か月前
ナカ工業株式会社
点検口
1か月前
ナカ工業株式会社
点検口
3か月前
株式会社大林組
連結具
3か月前
株式会社橋梁メンテナンス
集水器
5か月前
株式会社橋梁メンテナンス
集水器
5か月前
YKK AP株式会社
外構壁
5か月前
YKK AP株式会社
外構壁
5か月前
YKK AP株式会社
外構壁
5か月前
積水化学工業株式会社
樋継手
2か月前
ライフデザイン・カバヤ株式会社
耐力壁
6か月前
株式会社橋梁メンテナンス
集水器
5か月前
YKK AP株式会社
外構壁
5か月前
ライフデザイン・カバヤ株式会社
耐力壁
6か月前
株式会社タクト
戸当り
9か月前
株式会社タクト
戸当り
9か月前
株式会社タツミ
柱脚金具
3か月前
YKK AP株式会社
建物用窓
11か月前
YKK AP株式会社
建物用窓
11か月前
YKK AP株式会社
建物用窓
11か月前
元旦ビューティ工業株式会社
落葉除材
10か月前
株式会社タツミ
柱脚金具
3か月前
株式会社サカタ製作所
改修金具
2か月前
株式会社タツミ
柱脚金具
3か月前
YKK AP株式会社
建物用窓
11か月前
株式会社サカタ製作所
改修金具
2か月前
株式会社サカタ製作所
改修金具
2か月前
株式会社サカタ製作所
改修金具
2か月前
株式会社サカタ製作所
改修金具
2か月前
続きを見る
他の意匠を見る