TOP
|
特許
|
意匠
|
商標
意匠ウォッチ
Twitter
他の意匠を見る
発行日
2025-10-03
公報種別
意匠公報(S)
登録番号
1809881
登録日
2025-09-25
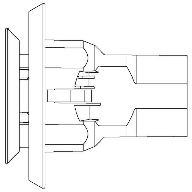
意匠に係る物品
建物用通風口
意匠分類
L4
-641(建築用構成品)
出願番号
2025004066
出願日
2025-02-28
意匠権者
ローヤル電機株式会社
代理人
個人
意匠に係る物品の説明
本物品は、天井などに設けられる建物用通風口であり、プラスチック製のフェイスがプラスチック製のボディに対する位置を変えることができる。
意匠の説明
フェイスの位置を変えた状態の正面図と閉状態の正面図は、正面図と同一に表れるので省略する。フェイスの位置を変えた状態の背面図と閉状態の背面図は、背面図と同一に表れるので省略する。
この意匠をJ-PlatPat(特許庁公式サイト)で参照する
関連意匠
ローヤル電機株式会社
建物用通風口
2か月前
大建工業株式会社
窓
2か月前
大建工業株式会社
窓
2か月前
株式会社LIXIL
網戸
1か月前
個人
階段
8か月前
積水化学工業株式会社
樋継手
2か月前
ナカ工業株式会社
点検口
3か月前
ナカ工業株式会社
点検口
3か月前
ナカ工業株式会社
点検口
1か月前
ナカ工業株式会社
点検口
3か月前
株式会社大林組
連結具
3か月前
株式会社橋梁メンテナンス
集水器
5か月前
株式会社橋梁メンテナンス
集水器
5か月前
YKK AP株式会社
外構壁
5か月前
YKK AP株式会社
外構壁
5か月前
YKK AP株式会社
外構壁
5か月前
積水化学工業株式会社
樋継手
2か月前
ライフデザイン・カバヤ株式会社
耐力壁
6か月前
株式会社橋梁メンテナンス
集水器
5か月前
YKK AP株式会社
外構壁
5か月前
ライフデザイン・カバヤ株式会社
耐力壁
6か月前
株式会社タクト
戸当り
9か月前
株式会社タクト
戸当り
9か月前
株式会社タツミ
柱脚金具
3か月前
YKK AP株式会社
建物用窓
11か月前
YKK AP株式会社
建物用窓
11か月前
YKK AP株式会社
建物用窓
11か月前
元旦ビューティ工業株式会社
落葉除材
10か月前
株式会社タツミ
柱脚金具
3か月前
株式会社サカタ製作所
改修金具
2か月前
株式会社タツミ
柱脚金具
3か月前
YKK AP株式会社
建物用窓
11か月前
株式会社サカタ製作所
改修金具
2か月前
株式会社サカタ製作所
改修金具
2か月前
株式会社サカタ製作所
改修金具
2か月前
株式会社サカタ製作所
改修金具
2か月前
続きを見る
他の意匠を見る