TOP
|
特許
|
意匠
|
商標
意匠ウォッチ
Twitter
他の意匠を見る
発行日
2025-09-26
公報種別
意匠公報(S)
登録番号
1809290
登録日
2025-09-17
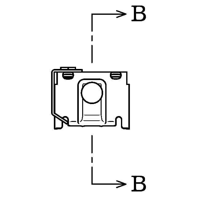
意匠に係る物品
雪止め金具
意匠分類
L4
-522(建築用構成品)
出願番号
2025000979
出願日
2025-01-20
意匠権者
株式会社サンライズテック
代理人
個人
意匠に係る物品の説明
本物品は、「参考斜視図」及び「参考底面図」に図示したように、左右一対の取付体に雪止め板を設けた雪止め金具であって、この取付体を折板屋根のハゼ部に締付固定用ボルトを用いて挟持固定する。なお、「使用状態を示す参考図1」に図示したように使用したり、「使用状態を示す参考図2」に図示したように、折板屋根に取り付けた取付体の上面に設けられた螺子孔を用いて、取付体の後端に別の雪止め板を取り付けることもできる。
意匠の説明
「斜視図1」,「斜視図2」,「斜視図3」,「正面図」,「背面図」,「平面図」,「底面図」,「左側面図」,「右側面図」,「A-A拡大断面図」,「斜視図1の部分拡大図」及び「斜視図2の部分拡大図」に表わされた細線は立体表面の形状を表わす稜線である。
意匠ウォッチbot のツイートを見る
この意匠をJ-PlatPat(特許庁公式サイト)で参照する
関連意匠
株式会社サンライズテック
雪止め板
2か月前
株式会社サンライズテック
雪止め金具
2か月前
株式会社サンライズテック
折板屋根用取付金具
2か月前
大建工業株式会社
窓
2か月前
大建工業株式会社
窓
2か月前
株式会社LIXIL
網戸
1か月前
個人
階段
8か月前
積水化学工業株式会社
樋継手
2か月前
ナカ工業株式会社
点検口
3か月前
ナカ工業株式会社
点検口
3か月前
ナカ工業株式会社
点検口
1か月前
ナカ工業株式会社
点検口
3か月前
株式会社大林組
連結具
3か月前
株式会社橋梁メンテナンス
集水器
5か月前
株式会社橋梁メンテナンス
集水器
5か月前
YKK AP株式会社
外構壁
5か月前
YKK AP株式会社
外構壁
5か月前
YKK AP株式会社
外構壁
5か月前
積水化学工業株式会社
樋継手
2か月前
ライフデザイン・カバヤ株式会社
耐力壁
6か月前
株式会社橋梁メンテナンス
集水器
5か月前
YKK AP株式会社
外構壁
5か月前
ライフデザイン・カバヤ株式会社
耐力壁
6か月前
株式会社タクト
戸当り
9か月前
株式会社タクト
戸当り
9か月前
株式会社タツミ
柱脚金具
3か月前
YKK AP株式会社
建物用窓
11か月前
YKK AP株式会社
建物用窓
11か月前
YKK AP株式会社
建物用窓
11か月前
元旦ビューティ工業株式会社
落葉除材
10か月前
株式会社タツミ
柱脚金具
3か月前
株式会社サカタ製作所
改修金具
2か月前
株式会社タツミ
柱脚金具
3か月前
YKK AP株式会社
建物用窓
11か月前
株式会社サカタ製作所
改修金具
2か月前
株式会社サカタ製作所
改修金具
2か月前
続きを見る
他の意匠を見る