TOP
|
特許
|
意匠
|
商標
意匠ウォッチ
Twitter
他の意匠を見る
発行日
2025-09-22
公報種別
意匠公報(S)
登録番号
1808887
登録日
2025-09-11
意匠に係る物品
蝶番
意匠分類
M3
-230(ねじ、くぎ、開閉金物、係止具等)
出願番号
2025002450
出願日
2025-02-07
意匠権者
スガツネ工業株式会社
,
SUGATSUNE KOGYO CO.,LTD.
代理人
意匠に係る物品の説明
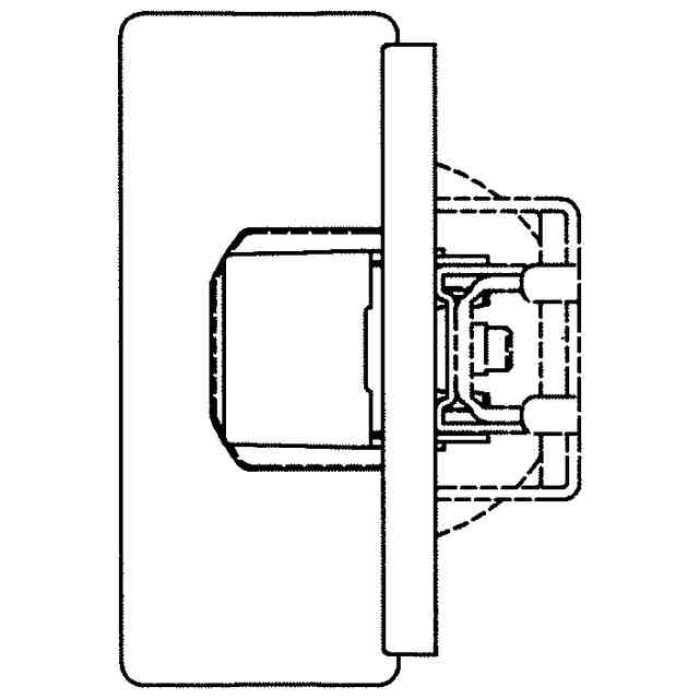
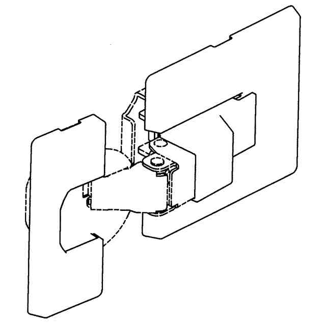
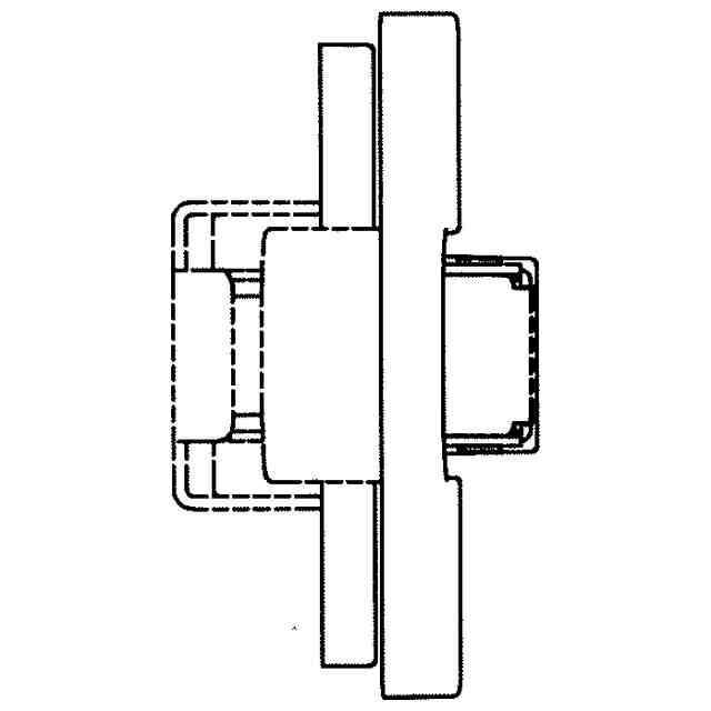
本物品は、家具や機械装置の扉を、家具や機械装置の本体に対して開閉可能に連結するものである。本物品は、蝶番部(扉側蝶番部・本体側蝶番部)と、蝶番部を覆うカバー部と、で構成されている。カバー部は、扉側蝶番部を覆うカバー部と、本体側蝶番部を覆うカバー部(平坦部と立ち上り部の2部品で構成)と、で構成されている(正面側から見た参考斜視図を参照)。使用状態を示す参考図1は、本物品を家具に使用し、扉が開いた状態をあらわしている。使用状態を示す参考図2は、使用状態を示す参考図1における2つの本物品のうち、下側の本物品の取付け箇所を拡大した図である。本物品は、扉と本体の取付面に設けられた堀込穴に、蝶番部が埋め込まれるようにして取り付けられる。
意匠の説明
実線で表した部分が、部分意匠として意匠登録を受けようとする部分である。
意匠ウォッチbot のツイートを見る
この意匠をJ-PlatPat(特許庁公式サイト)で参照する
関連意匠
スガツネ工業株式会社
小物掛け
10か月前
スガツネ工業株式会社
電源プラグ受け
3か月前
スガツネ工業株式会社
蝶番
2か月前
スガツネ工業株式会社
蝶番
9か月前
スガツネ工業株式会社
パイプクランプ
9か月前
スガツネ工業株式会社
蝶番
7か月前
スガツネ工業株式会社
蝶番
6か月前
スガツネ工業株式会社
蝶番
6か月前
スガツネ工業株式会社
棚受
2か月前
スガツネ工業株式会社
棚受
2か月前
スガツネ工業株式会社
棚受
2か月前
スガツネ工業株式会社
配線孔具
5か月前
スガツネ工業株式会社
配線孔具
5か月前
スガツネ工業株式会社
引戸のブラケット用カバー
4か月前
スガツネ工業株式会社
配線孔具
5か月前
スガツネ工業株式会社
ドアクローザー
5か月前
スガツネ工業株式会社
ドアクローザー
5か月前
スガツネ工業株式会社
ドアストッパー
4か月前
スガツネ工業株式会社
扉用回動規制具
10か月前
スガツネ工業株式会社
扉用回動規制具
10か月前
スガツネ工業株式会社
配線器具用プレート
9か月前
スガツネ工業株式会社
配線器具用プレート
9か月前
スガツネ工業株式会社
ドアクローザー用受け具
5か月前
個人
錠
4か月前
住友電工ハードメタル株式会社
ねじ
5か月前
スガツネ工業株式会社
蝶番
7か月前
スガツネ工業株式会社
蝶番
9か月前
スガツネ工業株式会社
蝶番
2か月前
株式会社シブタニ
鍵材
1か月前
アイジー工業株式会社
ねじ
9か月前
株式会社シブタニ
鍵材
1か月前
株式会社バンダイ
吸盤
6か月前
株式会社バンダイ
吸盤
6か月前
スガツネ工業株式会社
蝶番
6か月前
スガツネ工業株式会社
蝶番
6か月前
株式会社イマオコーポレーション
締結具
4か月前
続きを見る
他の意匠を見る