TOP
|
特許
|
意匠
|
商標
意匠ウォッチ
Twitter
他の意匠を見る
発行日
2025-08-18
公報種別
意匠公報(S)
登録番号
1806318
登録日
2025-08-07
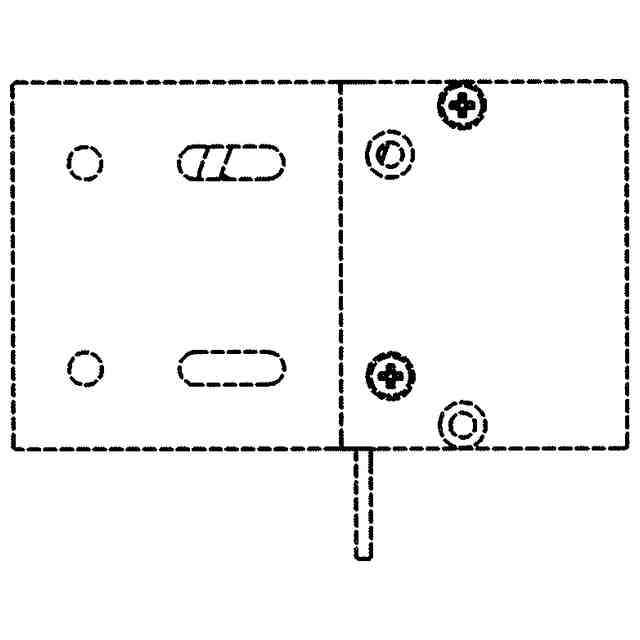
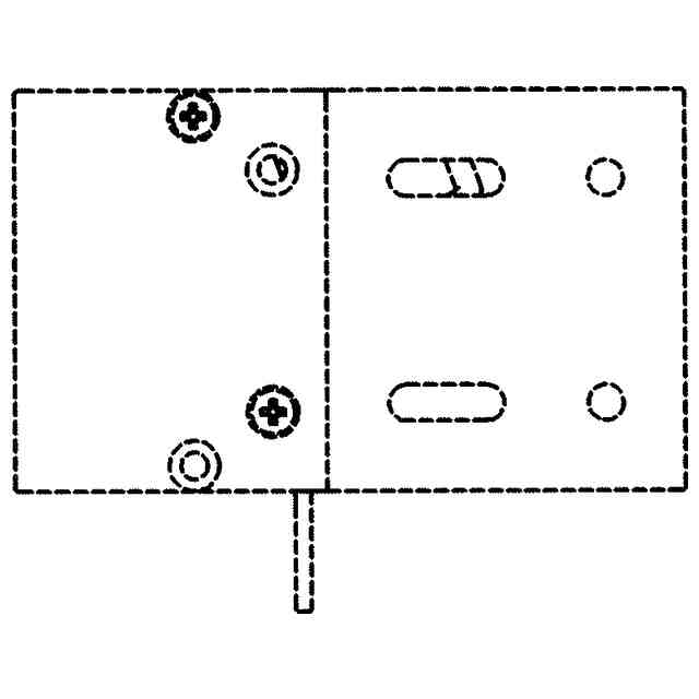
意匠に係る物品
電源プラグ受け
意匠分類
H1
-34220(基本的電気素子)
出願番号
2025006445
出願日
2025-03-31
意匠権者
スガツネ工業株式会社
,
SUGATSUNE KOGYO CO.,LTD.
代理人
意匠に係る物品の説明
本物品は、コンセントプラグやUSB等の給電用のプラグを接続するためのものである。本物品は、キャビネットやキッチンの前側面に取り付けられる。使用状態を示す参考図は、本物品をキャビネットの前側面に取り付けた状態をあらわしている。
意匠の説明
実線で表した部分が、部分意匠として意匠登録を受けようとする部分である(「意匠登録を受けようとする部分を示す参考斜視図」において、赤色で着色した部分は、意匠登録を受けようとする部分を示している。)。一点鎖線は、部分意匠として意匠登録を受けようとする部分とその他の部分の境界のみを示す線である。
この意匠をJ-PlatPat(特許庁公式サイト)で参照する
関連意匠
スガツネ工業株式会社
小物掛け
9か月前
スガツネ工業株式会社
取手
11か月前
スガツネ工業株式会社
取手
11か月前
スガツネ工業株式会社
取手
11か月前
スガツネ工業株式会社
電源プラグ受け
2か月前
スガツネ工業株式会社
取手
11か月前
スガツネ工業株式会社
蝶番
1か月前
スガツネ工業株式会社
蝶番
9か月前
スガツネ工業株式会社
パイプクランプ
8か月前
スガツネ工業株式会社
蝶番
6か月前
スガツネ工業株式会社
蝶番
5か月前
スガツネ工業株式会社
棚受
1か月前
スガツネ工業株式会社
棚受
1か月前
スガツネ工業株式会社
棚受
1か月前
スガツネ工業株式会社
蝶番
5か月前
スガツネ工業株式会社
配線孔具
4か月前
スガツネ工業株式会社
配線孔具
4か月前
スガツネ工業株式会社
配線孔具
4か月前
スガツネ工業株式会社
引戸のブラケット用カバー
3か月前
スガツネ工業株式会社
ドアクローザー
4か月前
スガツネ工業株式会社
ドアクローザー
4か月前
スガツネ工業株式会社
扉用回動規制具
9か月前
スガツネ工業株式会社
扉用回動規制具
9か月前
スガツネ工業株式会社
ドアストッパー
3か月前
スガツネ工業株式会社
配線器具用プレート
8か月前
スガツネ工業株式会社
配線器具用プレート
8か月前
スガツネ工業株式会社
ドアクローザー用受け具
4か月前
タイコ エレクトロニクス (シャンハイ) カンパニー リミテッド
端子
7か月前
タイコ エレクトロニクス (シャンハイ) カンパニー リミテッド
端子
7か月前
タイコ エレクトロニクス (シャンハイ) カンパニー リミテッド
端子
11か月前
タイコ エレクトロニクス (シャンハイ) カンパニー リミテッド
端子
7か月前
タイコ エレクトロニクス (シャンハイ) カンパニー リミテッド
端子
7か月前
東莞市諾星電子有限公司
電池
6か月前
リーダーソン ライティング カンパニー リミテッド
電球
8か月前
深せん市緑巨能科技発展有限公司
電池
4か月前
ベンアン エナジー テクノロジー ジャンスー シーオー.,エルティーディー
組電池
11か月前
続きを見る
他の意匠を見る